GM Service Manual Online
For 1990-2009 cars only

The air induction system draws outside air into the combustion chamber. The intake air flows through a forward mounted duct and into the air cleaner assembly. The intake air passes out of the air cleaner assembly, through the mass air flow sensor and inlet duct, to the throttle body. The throttle body houses a throttle valve that controls the volume of air entering the intake manifold. A metered amount of air also enters the intake manifold through the idle air bypass passage that is controlled by the idle air control (IAC) valve. From the throttle body the intake air flows into the intake collector and is then distributed to the bank 1 and the bank 2 cylinders through the intake manifold. The intake air is mixed with fuel from the fuel injectors at the entrance to the combustion chamber.


Object Number: 471184  Size: SH

An air filter element (2) is incorporated into the air cleaner assembly (1) in order to prevent dirt from entering the engine. The following components are directly or indirectly a part of the air supply system.

Mass Air Flow (MAF) Sensor


Object Number: 724312  Size: SH

The mass air flow (MAF) sensor is of the thermal control type. The MAF sensor consists of a heat resistor element located inside the bore of the throttle body, an air straightening screen (2), and a control circuit board (1). The heat resistor is cooled off by the air entering the MAF sensor. The control circuit maintains the heat resistor temperature within a predetermined range. When the amount of air entering the sensor increases, the signal created by the sensor and sent to the powertrain control module (PCM), also increases. When the air flow decreases, so does the signal current to the PCM. The MAF sensor is an integral part of the throttle body.

The mass air flow (MAF) sensor measures the amount of air which passes over the heat resistor in a given amount of time. The PCM uses this information in order to determine the operating requirements of the engine and control fuel delivery. A large quantity of air movement indicates acceleration, while a small quantity indicates deceleration or idle.

Throttle Body Assembly


Object Number: 648012  Size: SH

The throttle body assembly is located underneath the engine surge tank cover (1), between the air inlet duct (2) and the intake collector. The following components and parts make up the throttle body assembly:

    • Throttle valve
    • Idle air bypass passage
    • Fast idle-up valve
    • Mass air flow sensor
    • Throttle position sensor
    • Engine coolant passage

The throttle valve is interlocked with the accelerator pedal by the accelerator control cable. The throttle valve controls the large volume of air that is drawn into the intake chamber. The idle air bypass passage provides air for the control of engine speed when the throttle valve is closed. The fast idle-up valve provides additional bypass air to engine when the engine is cold. The fast idle-up valve is preset at the factory and cannot be adjusted. The fast idle-up valve is not serviced separate from the throttle body assembly. The throttle body is warmed by engine coolant that flows through a coolant passage located near the fast idle-up valve. The warming of the throttle body also helps prevent throttle valve icing. The throttle body also houses the components of the MAF sensor.

Engine Idle Speed Control Operation

The engine idle speed is controlled by the powertrain control module (PCM) through the idle air control (IAC) valve which allows more or less air to bypass the throttle valve. There are several reasons for idle speed control:

  1. Maintain the engine idle speed at the specified RPM at all times. The engine idle speed can vary due to any of the following reasons:
  2. • A change in atmospheric pressure.
    • A change in the engine's condition over time.
    • Other factors causing the idle speed to change.
  3. Improve the driveability of the engine during warm up.
  4. Compensate for the change in the air/fuel mixture ratio when decelerating (dash-pot effect).

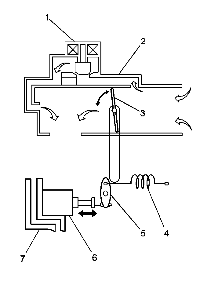
Object Number: 719115  Size: MH
(1)Idle Air Control (IAC) Valve
(2)Idle Air Bypass Passage
(3)Throttle Valve
(4)Return Spring
(5)Fast Idle Cam
(6)Fast Idle-Up Valve
(7)Engine Coolant Passage

The IAC valve (1) opens the idle air bypass passage (2) when it is energized by the PCM and closes the idle air bypass passage when de-energized. The PCM detects the engine condition by using inputs and signals from various sensors and switches. While repeating the ON and OFF cycle of the IAC valve at a certain rate, 200 times a second, the PCM controls bypass air flow, IAC valve opening, by increasing and decreasing the ON time portion of the cycle.

When the engine is cold, the fast idle-up valve (6) opens the throttle valve (3) slightly, increasing engine speed. The fast idle-up valve (6) contains a wax pellet that moves a plunger in response to engine coolant temperature (7). The fast idle-up plunger opens the throttle valve by pushing the fast idle cam (5).

Intake Air Temperature (IAT) Sensor


Object Number: 451380  Size: SH

The intake air temperature (IAT) sensor (1) is located in the air cleaner assembly (2). The IAT sensor is a thermistor (a variable resistor that changes value when the temperature changes). The IAT sensor is connected in series with a fixed resistor in the powertrain control module (PCM). The PCM applies 5 volts to the IAT sensor. The PCM monitors the voltage drop across the IAT sensor and converts the voltage reading into a temperature value. The IAT sensor voltage reading at the PCM will vary with the changes in the intake air temperature.

Temperature

Resistance

Voltage

Low

High

High

High

Low

Low

Throttle Position (TP) Sensor


Object Number: 674308  Size: SH

The throttle position (TP) sensor (3) is located on the side of the throttle body. The TP sensor detects the throttle valve opening. The TP sensor is a potentiometer. The potentiometer is connected to the throttle valve shaft on the throttle body and is responsible for sending the throttle position signal to the powertrain control module (PCM).

A 5-volt reference voltage is applied to the TP sensor from the PCM. The voltage reading at the PCM changes as the throttle plate opening increases. The PCM can calculate the throttle valve opening by monitoring the TP sensor output voltage. The TP sensor signal is one of the significant inputs used by the PCM to control the following:

    • Idle air control (IAC) valve operation
    • Exhaust gas recirculation (EGR) valve operation
    • Ignition timing
    • Fuel delivery
    • OBD 2 system diagnostics