GM Service Manual Online
For 1990-2009 cars only

Removal Procedure

    Caution: When you are performing service on or near the SIR components or the SIR wiring, you must disable the SIR system. Refer to Disabling the SIR System. Failure to follow the correct procedure could cause air bag deployment, personal injury, or unnecessary SIR system repairs.

  1. Disable the SIR system. Refer to Disabling the SIR System in SIR.
  2. Verify the front tires and wheels are in the straight ahead position.

  3. Object Number: 464195  Size: SH
  4. Rotate the steering wheel to the left in order to position the opening in the steering shaft coupling (2) in the vertical position.
  5. Using paint, place match marks (3) on the steering column shaft (1) and the lower steering shaft in order to mark the location of the opening in the steering shaft coupling (2).
  6. Notice: The steering column must be in the LOCK position before disconnecting the following components:

       • The steering column
       • The steering shaft coupling
       • The intermediate shaft
       • The lower steering shaft
    After disconnecting these components, do not move the front tires and wheels. Failure to follow these procedures may cause improper alignment of some components during installation and result in possible damage to the SIR coil.

  7. Turn the ignition switch to the LOCK position and remove the key.
  8. Rotate the steering wheel to the left in order to lock the steering column and allow access to the steering shaft coupling bolts.

  9. Object Number: 464173  Size: SH

    Important: When you service the steering column or any column-mounted component, remove the steering wheel. However, when you remove the steering column in order to gain access to the instrument panel components, leave the steering wheel installed on the steering column.

  10. Remove the following components, if necessary:
  11. • The steering wheel inflator module--Refer to Inflatable Restraint Steering Wheel Module Replacement in SIR.
    • The steering wheel--Refer to Steering Wheel Replacement .
    • The steering column trim covers--Refer to Steering Column Trim Covers Replacement - On Vehicle .
    • The turn signal and headlamp and windshield washer switch and inflatable restraint steering wheel module coil assembly (1)--Refer to Inflatable Restraint Steering Wheel Module Coil Replacement in SIR.
    • The steering column lock and ignition switch cylinder--Refer to Steering Column Lock and Ignition Switch Cylinder Replacement - On Vehicle .
  12. Remove the knee bolster. Refer to Knee Bolster Replacement in Instrument Panel, Gages, and Console.
  13. If the steering wheel remains on the column, remove the steering column trim covers. Refer to Steering Column Trim Covers Replacement - On Vehicle .
  14. If the steering wheel remains on the column, disconnect the connectors for the following components:
  15. • The inflatable restraint steering wheel module coil
    • The horn
    • The turn signal and headlamp and windshield washer switch
    • The ignition switch

    Object Number: 464227  Size: SH
  16. If the steering wheel remains on the column, and the vehicle is equipped with an automatic transmission, remove the screw (1) from the automatic transmission park lock cable (2). Disconnect the cable from the ignition switch.

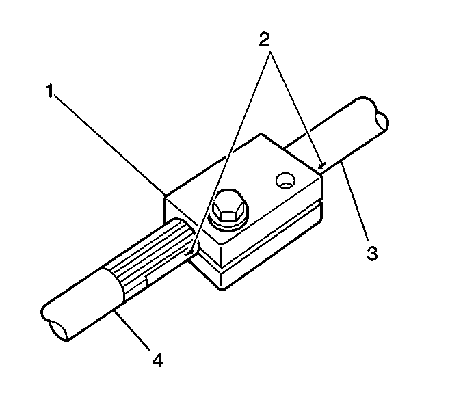
  17. Object Number: 464202  Size: SH
  18. Remove the bolt (1) on the column side (2) of the steering shaft coupling (5).
  19. Loosen the bolt (4) on the lower assembly side (3) of the steering shaft coupling (5).

  20. Object Number: 464211  Size: SH
  21. Use a plastic hammer in order to tap the steering shaft coupling (2) down over the lower steering shaft (3) releasing the steering column shaft (1).
  22. Secure the coupling on the lower steering shaft with the bolt (4).

  23. Object Number: 464219  Size: SH
  24. Remove 6 mounting bolts (2) from the steering column (1).
  25. Notice: Once the steering column is removed from the vehicle, the column is extremely susceptible to damage. Dropping the column assembly on the end could collapse the steering shaft or loosen the plastic injections, which maintain column rigidity. Leaning on the column assembly could cause the jacket to bend or deform. Any of the above damage could impair the columns collapsible design. Do NOT hammer on the end of the shaft, because hammering could loosen the plastic injections, which maintain column rigidity. If you need to remove the steering wheel, refer to the Steering Wheel Replacement procedure in this section.

  26. Remove the steering column from the vehicle.

Installation Procedure

  1. Verify the front tires and wheels have not moved since the removal of the steering column.
  2. If you are replacing the steering column, place match marks on the new steering column in the same positions as on the old steering column.

  3. Object Number: 464242  Size: SH
  4. Install the steering column (3) to the cowl (2) and to the upper bracket so that the boss of the steering column lower seal (1) projects through the cowl into the engine compartment.
  5. Caution: In order to ensure the intended function of the steering column in a vehicle during a crash and in order to avoid personal injury to the driver, perform the following:

       • Tighten the steering column lower fasteners before you tighten the steering column upper fasteners. Failure to do this can damage the steering column.
       • Tighten the steering column fasteners to the specified torque. Overtightening the upper steering column fasteners could affect the steering column collapse.

    Notice: Use the correct fastener in the correct location. Replacement fasteners must be the correct part number for that application. Fasteners requiring replacement or fasteners requiring the use of thread locking compound or sealant are identified in the service procedure. Do not use paints, lubricants, or corrosion inhibitors on fasteners or fastener joint surfaces unless specified. These coatings affect fastener torque and joint clamping force and may damage the fastener. Use the correct tightening sequence and specifications when installing fasteners in order to avoid damage to parts and systems.


    Object Number: 464219  Size: SH
  6. Tighten the 4 steering column lower bolts first, then tighten the 2 upper bolts.
  7. Tighten
    Tighten the bolts (2) to 23 N·m (17 lb ft).


    Object Number: 464247  Size: SH
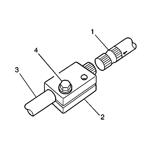
  8. Align the match marks on the following components:
  9. • The lower steering shaft
    • The steering shaft coupling (1)
    • The steering column shaft (3)

    Object Number: 464202  Size: SH
  10. Loosen the bolt (3) on the lower steering shaft side of the steering shaft coupling and move the steering shaft coupling up over the steering column shaft.
  11. Secure the steering shaft coupling to the lower steering shaft with the bolt (1). Secure the steering shaft coupling to the steering column shaft with the bolt (3).
  12. Tighten
    Tighten the 2 steering shaft coupling bolts to 25 N·m (18 lb ft).

  13. If necessary, install the steering column lock and ignition switch cylinder. Refer to Steering Column Lock and Ignition Switch Cylinder Replacement - On Vehicle .

  14. Object Number: 464227  Size: SH
  15. If equipped with an automatic transmission, connect the automatic transmission park lock cable (2) to the ignition switch and install the screw (1).
  16. Tighten
    Tighten the screw to 2.2 N·m (19.5 lb in).

  17. If you are reinstalling the old inflatable restraint steering wheel module coil, complete the following steps:
  18. 10.1. Move the front tires and wheels to the straight ahead position.
    10.2. Center the inflatable restraint steering wheel module coil. Refer to Inflatable Restraint Coil Centering - Off Vehicle .

    Object Number: 464173  Size: SH
  19. If you are installing a new coil, install the turn signal and headlamp and windshield washer switch with the inflatable restraint steering wheel module coil (1). Refer to Inflatable Restraint Steering Wheel Module Coil Replacement in SIR.
  20. Connect the connectors to the following components:
  21. • The inflatable restraint steering wheel module coil (4)
    • The horn (3)
    • The turn signal and headlamp and windshield washer switch
    • The ignition switch
  22. Install the knee bolster. Refer to Knee Bolster Replacement in Instrument Panel, Gages, and Console.
  23. If necessary, install the steering wheel. Refer to Steering Wheel Replacement .
  24. If necessary, install the steering wheel inflator module. Refer to Inflatable Restraint Steering Wheel Module Replacement in SIR.
  25. If necessary, install the steering column trim covers. Refer to Steering Column Trim Covers Replacement - On Vehicle .
  26. Enable the SIR system. Refer to Enabling the SIR System in SIR.