GM Service Manual Online
For 1990-2009 cars only

Incorrect trim height can cause bottoming out over bumps. Incorrect trim height can cause possible damage to the suspension components and symptoms similar to those produced when there is a problem with the wheel alignment. Measure the trim height when diagnosing suspension complaints and before checking the wheel alignment.

Perform the following before measuring the trim height:

  1. Set the tire pressures to the pressure shown on the tire placard. The tire placard is located on the driver's door lock pillar.
  2. Verify the tires match the tire size specifications shown on the tire placard.
  3. Verify the wheels match the wheel size specifications shown on the tire placard.
  4. Check the fuel level. Add additional weight if necessary in order to simulate a full tank.
  5. Place the front seats in the full rearward position.
  6. Verify the rear compartment is empty except for the jack and the weight simulating a full fuel tank.
  7. Verify the spare tire is on the spare tire carrier.
  8. Verify the vehicle is on a level surface, such as an alignment rack.
  9. Close the hood.
  10. Close the doors.
  11. Close the rear door or the end gate.
  12. Verify the vehicle is not damaged from a collision.

Measuring the J Dimension


Object Number: 593288  Size: MF
  1. Use your hands in order to lift the front bumper of the vehicle up approximately 38 mm (1.5 in). Gently remove your hands in order to allow the vehicle to lower.
  2. Use your hands in order to push the front bumper of the vehicle down approximately 38 mm (1.5 in). Remove your hands in order to allow the vehicle to rise.
  3. Important: Measure all dimensions vertically.

  4. Measure the J dimension from the left and the right frame rail (1) to the ground (2) 700 mm (27.56 in) from the front wheel centerline (A dimension).
  5. Compare the measurement to the specification. Refer to Trim Height Specifications . If the J dimension is not within 10 mm (0.4 in) of the specification, replace the front springs. Refer to Front Coil Springs Replacement in Front Suspension.

Measuring the K Dimension


Object Number: 593288  Size: MF
  1. Use your hands in order to lift the rear bumper of the vehicle up approximately 38 mm (1.5 in). Gently remove your hands in order to allow the vehicle to lower.
  2. Use your hands in order to push the front bumper of the vehicle down approximately 38 mm (1.5 in). Remove your hands in order to allow the vehicle to rise.
  3. Important: Measure all dimensions vertically.

  4. Measure the K dimension from the left and the right frame rail (1) to the ground (2) 700 mm (27.56 in) from the rear wheel centerline (B dimension).
  5. Compare the measurement to the specification. Refer to Trim Height Specifications . If the K dimension is not within 10 mm (0.4 in) of the specification, replace the rear springs. Refer to Coil Spring Replacement in Rear Suspension.

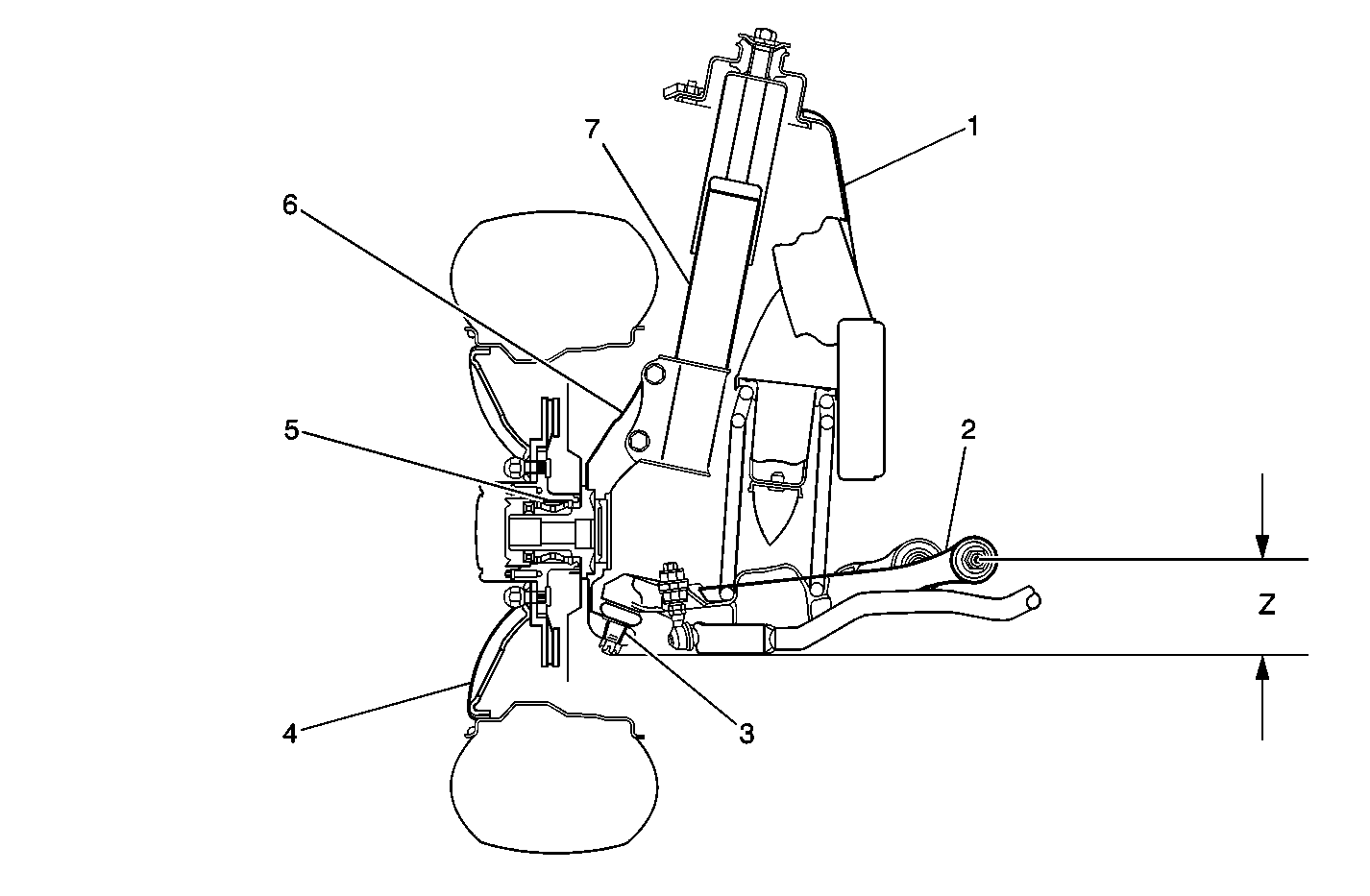
Measuring the Z Dimension

4WD Front Suspension Sectional View


Object Number: 593320  Size: MF
(1)Vehicle Body
(2)Front Lower Control Arm
(3)Ball Stud
(4)Wheel
(5)Front Wheel Hub
(6)Front Wheel Bearing
(7)Steering Knuckle
(8)Front Suspension Strut

2WD Front Suspension Sectional View


Object Number: 593328  Size: MF
(1)Vehicle Body
(2)Front Lower Control Arm
(3)Ball Stud
(4)Wheel
(5)Front Wheel Bearing
(6)Steering Knuckle
(7)Front Suspension Strut
  1. Use your hands in order to lift the front bumper of the vehicle up approximately 38 mm (1.5 in). Gently remove your hands in order to allow the vehicle to lower.
  2. Use your hands in order to push the front bumper of the vehicle down approximately 38 mm (1.5 in). Remove your hands in order to allow the vehicle to rise.
  3. Important: Measure all dimensions vertically.

  4. Measure the Z dimension for the left and the right side of the vehicle. The Z dimension is the vertical distance measured between the centerline of the lower control arm rear bolt (2) and the bottom of the ball joint (3).
  5. Compare the measurement to the specification. Refer to Trim Height Specifications . If the Z dimension is not within 10 mm (0.4 in) of the specification, replace the front springs. Refer to Front Coil Springs Replacement in Front Suspension.

Measuring the D Dimension


Object Number: 593340  Size: MF
  1. Use your hands in order to lift the rear bumper of the vehicle up approximately 38 mm (1.5 in). Gently remove your hands in order to allow the vehicle to lower.
  2. Use your hands in order to push the front bumper of the vehicle down approximately 38 mm (1.5 in). Remove your hands in order to allow the vehicle to rise.
  3. Important: Measure all dimensions vertically.

  4. Measure the D dimension for the left and the right side of the vehicle. The D dimension is the vertical distance measured between the top of the rear shock absorber reservoir (2) to the top of the rear axle housing.
  5. Compare the measurement to the specification. Refer to Trim Height Specifications . If the D dimension is not within 10 mm (0.4 in) of the specification, replace the rear springs. Refer to Coil Spring Replacement in Rear Suspension.