GM Service Manual Online
For 1990-2009 cars only

Removal Procedure

  1. Remove the propeller shaft from the vehicle. Refer to Two-Piece Propeller Shaft Replacement and Rear Propeller Shaft Replacement .

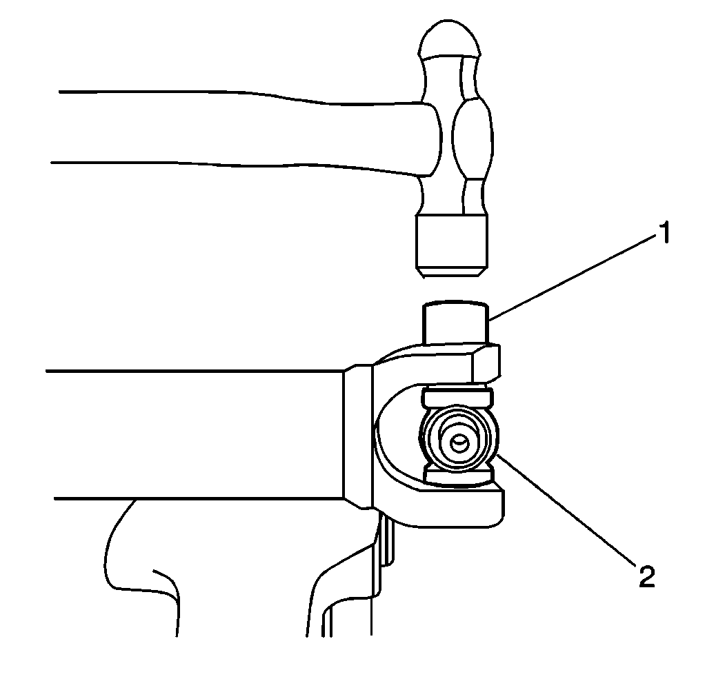
  2. Object Number: 175079  Size: SH
  3. Remove the 2 snap rings (1) from the pinion flange yoke (2).
  4. Apply moisture displacing lubricant GM P/N 1052864 (Canadian P/N 992881), or equivalent, to the outside of the pinion flange yoke (2) joint bearing caps.

  5. Object Number: 175076  Size: SH
  6. Using an 18 mm (3) socket in conjunction with a 24 mm (2) socket and a soft-jaw vise, place the pinion flange yoke into the soft-jaw vise with 18 mm socket acting as a driver and the 24 mm socket acting as a hollow support. Tighten the vise until the bearing cap inside of the 24 mm socket has been exposed approximately 3-4 mm (0.12-0.16 in).
  7. Remove the bearing cap from the pinion flange yoke by placing the exposed portion of the bearing cap into a soft-jaw vise. Tap upwards on the pinion flange yoke with a hammer until the bearing cap is free of the pinion flange yoke.
  8. Insert the 18 mm socket through the bearing cap opening in the pinion flange yoke. Tap the socket gently with a hammer until the opposite bearing cap is exposed approximately 3-4 mm (0.12-0.16 in).
  9. Remove the opposite bearing cap from the pinion flange yoke by placing the exposed portion of the bearing cap into a soft-jaw vise. Tap upwards on the pinion flange yoke with a hammer until the bearing cap is free of the pinion flange yoke.
  10. Remove the pinion flange yoke from the spider.

  11. Object Number: 175084  Size: SH
  12. Remove the 2 snap rings (2) from the propeller shaft yoke.

  13. Object Number: 175082  Size: SH
  14. Using an 18 mm (2) socket in conjunction with a 24 mm (3) socket and a soft-jaw vise, place the propeller shaft yoke into the soft-jaw vise with the 18 mm socket acting as a driver and the 24 mm socket acting as a hollow support. Tighten the vise until the bearing cap inside of the 24 mm socket has been exposed approximately 3-4 mm (0.12-0.16 in).

  15. Object Number: 175085  Size: SH
  16. Remove the bearing cap (2) from the propeller shaft yoke by placing the exposed portion of the bearing cap into a soft-jaw vise. Tap upwards on the propeller shaft yoke with a hammer until the bearing cap is free of the propeller shaft yoke.

  17. Object Number: 175086  Size: SH
  18. Remove the opposite bearing cap by inserting the 18 mm (1) socket through the bearing cap opening in the propeller shaft yoke. Tap on the socket gently with a hammer until the opposite bearing cap is exposed approximately 3- 4 mm (0.12-0.16 in).
  19. Remove the opposite bearing cap from the propeller shaft yoke by placing the exposed portion of the bearing cap into a soft-jaw vise. Tap upwards on the propeller shaft yoke with a hammer until the bearing cap is free of the propeller shaft yoke.
  20. Remove the spider from the propeller shaft yoke.
  21. Inspect the propeller shaft yoke for the following:
  22. • Distortion
    • Cracks
    • Other damage
    • If the propeller shaft yoke appears distorted or damaged, replace the pinion flange yoke. Refer to Front Propeller Shaft Replacement .
  23. Inspect the pinion flange yoke for the following:
  24. • Distortion
    • Cracks
    • Other damage
    • If the pinion flange yoke appears distorted or damaged, replace the pinion flange yoke.

    Object Number: 175090  Size: SH

    Important: If any unusual wear or damage is found on any component upon universal joint inspection, do not attempt to repair or replace the component. Replace the universal joint as an assembly.

  25. Inspect the bearing caps (2) for broken or missing needle bearings. If the needle bearing appears missing or worn, replace the universal joint as an assembly.
  26. Inspect the bearing surfaces on the spider for flat spots or excessive wear. If the bearing surfaces on the spider appear worn or flat, replace the universal joint as an assembly.

Installation Procedure


    Object Number: 175091  Size: SH

    Notice: During bearing cap installation, make sure that the needle bearings are correctly positioned. If the needle bearings become mispositioned during installation, damage to the needle bearings and the spider will result.

  1. Install the spider (3)  into the propeller shaft yoke (2).
  2. Apply moisture displacing lubricant GM P/N 1052864, or equivalent, to the outside of the pinion flange yoke joint bearing caps.
  3. Install 1 bearing cap into the propeller shaft yoke. Tap gently with a hammer in order to ensure the bearing cap fits smoothly over the pinion flange yoke joint spider.
  4. Install the opposite bearing cap (1)  into the propeller shaft yoke. Tap gently with a hammer until a snap ring can be fitted.
  5. Install 1 snap ring into the propeller shaft yoke.
  6. Inspect the snap ring upon installation. Ensure the snap ring is completely seated and firm.
  7. Using an 18 mm socket in conjunction with a 24 mm socket and a soft-jaw vise, place the propeller shaft yoke into the soft-jaw vise with the 18 mm socket acting as a driver and the 24 mm socket acting as a hollow support. Tighten the vise until the opposite bearing cap is pressed into the propeller shaft yoke so that a snap ring can be fitted.
  8. Install 1 snap ring into the propeller shaft yoke.
  9. Inspect the snap ring upon installation. Ensure the snap ring is completely seated and firm.

  10. Object Number: 175092  Size: SH
  11. Install the pinion flange yoke (2) onto the spider.
  12. Install the bearing cap (1) into the pinion flange yoke (2). Tap gently with a hammer in order to ensure the bearing cap fits smoothly over the spider.
  13. Install the opposite bearing cap into the pinion flange yoke (2). Tap gently with a hammer until a snap ring can be fitted.
  14. Install 1 snap ring into the pinion flange yoke (2).
  15. Inspect the snap ring upon installation. Ensure the snap ring is completely seated and firm.
  16. Using an 18 mm socket in conjunction with a 24 mm socket and a soft-jaw vise, place the pinion flange yoke (2) into the soft-jaw vise with the 18 mm socket acting as a driver and the 24 mm socket acting as a hollow support. Tighten the vise until the opposite bearing cap is pressed into the pinion flange yoke (2) in order that a snap ring can be fitted.
  17. Install 1 snap ring into the pinion flange yoke (2).
  18. Inspect the snap ring upon installation. Ensure the snap ring is completely seated and firm.
  19. Install the propeller shaft into the vehicle. Refer to Two-Piece Propeller Shaft Replacement and Rear Propeller Shaft Replacement .