GM Service Manual Online
For 1990-2009 cars only

Removal Procedure

  1. Remove two-thirds of the brake fluid from the master cylinder reservoir using a siphon.
  2. Raise and support the vehicle. Refer to Lifting and Jacking the Vehicle in General Information.
  3. Remove the tire and wheel assembly. Refer to Tire and Wheel Removal and Installation in Tires and Wheels.

  4. Object Number: 172134  Size: SH
  5. Position the C-clamp around the outer pad (2) and caliper. Tighten the clamp until the piston bottoms in its bore.

  6. Object Number: 172761  Size: SH
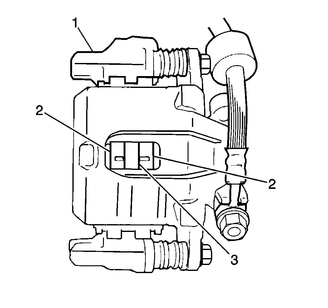
  7. Remove the 2 mounting bolts, the caliper (1), and the caliper bracket (2).
  8. Lift the caliper and the caliper bracket, along with the brake pads, off of the rotor.
  9. Notice: Do not allow the brake components to hang from the flexible brake hoses. Damage to the brake hoses could result.


    Object Number: 172733  Size: SH
  10. Suspend the caliper and the caliper bracket (1) with a wire (2) in order to prevent damage to the brake hose.
  11. Remove the brake rotor from the wheel hub. If necessary, install two 8 mm bolts into the rotor. Tighten the bolts in order to force the rotor off of the wheel hub.

Installation Procedure

  1. Install the brake rotor to the hub.

  2. Object Number: 172761  Size: SH

    Notice: Use the correct fastener in the correct location. Replacement fasteners must be the correct part number for that application. Fasteners requiring replacement or fasteners requiring the use of thread locking compound or sealant are identified in the service procedure. Do not use paints, lubricants, or corrosion inhibitors on fasteners or fastener joint surfaces unless specified. These coatings affect fastener torque and joint clamping force and may damage the fastener. Use the correct tightening sequence and specifications when installing fasteners in order to avoid damage to parts and systems.

  3. Place the caliper (1) and the caliper bracket (2) into position. Secure the caliper and the caliper bracket with the 2 caliper bracket mounting bolts.
  4. Tighten
    Tighten the bolts to 85 N·m (61.5 lb ft).

  5. Install the tire and wheel assembly. Refer to Tire and Wheel Removal and Installation in Tires and Wheels.
  6. Lower the vehicle.
  7. Fill the master cylinder reservoir. Refer to Master Cylinder Reservoir Filling in Hydraulic Brakes.
  8. Start the engine.
  9. Press the brake pedal several times in order to position the caliper piston.