GM Service Manual Online
For 1990-2009 cars only

Removal Procedure

  1. Release the park brake.

  2. Object Number: 480250  Size: SH
  3. Remove the 4 screws (1,3,4,6), the 2 clips (2,5), and lift up the console.
  4. If the vehicle has an automatic transmission, disconnect the power normal switch connector.
  5. If the vehicle has an auxiliary power outlet, disconnect the auxiliary power outlet connector.

  6. Object Number: 470512  Size: SH
  7. Disconnect the park brake switch connector (10).

  8. Object Number: 469851  Size: SH
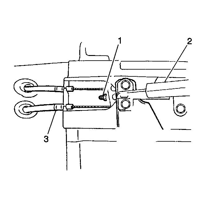
  9. Remove the park brake cable lock nut (1).

  10. Object Number: 470510  Size: MH
  11. Remove the park brake lever bolts (1) and the park brake lever (2) from the equalizer (5).
  12. Remove the pin (6) and the equalizer from the park brake cable (4).

Installation Procedure

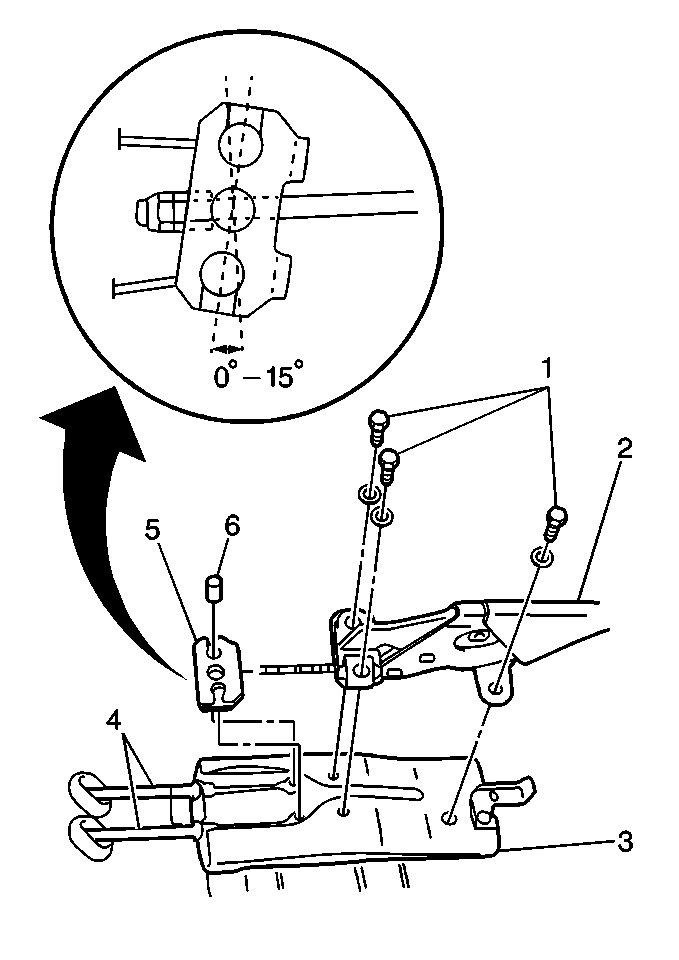
    Important: The equalizer must be within 15 degrees of perpendicular to the park brake lever cable.


    Object Number: 470510  Size: MH
  1. Install the equalizer (5) to the park brake cable (4). Secure with the pin (6).
  2. Notice: Use the correct fastener in the correct location. Replacement fasteners must be the correct part number for that application. Fasteners requiring replacement or fasteners requiring the use of thread locking compound or sealant are identified in the service procedure. Do not use paints, lubricants, or corrosion inhibitors on fasteners or fastener joint surfaces unless specified. These coatings affect fastener torque and joint clamping force and may damage the fastener. Use the correct tightening sequence and specifications when installing fasteners in order to avoid damage to parts and systems.

  3. Install the park brake lever (2) to the equalizer. Secure with three bolts (1).
  4. Tighten
    Tighten the bolts to 23 N·m (17 lb ft).


    Object Number: 469851  Size: SH
  5. Install the park brake cable lock nut (1).

  6. Object Number: 470512  Size: SH
  7. Connect the park brake switch connector (10).
  8. Adjust the park brake system. Refer to Park Brake Adjustment .
  9. Position the console over the shift knob.
  10. If the vehicle has an auxiliary power outlet, connect the auxiliary power outlet connector.
  11. If the vehicle has an automatic transmission, connect the power normal switch connector.

  12. Object Number: 480250  Size: SH
  13. Install the console. Secure with 4 screws (1,3,4,6) and 2 clips (2,5).