GM Service Manual Online
For 1990-2009 cars only

Object Number: 168053  Size: SH

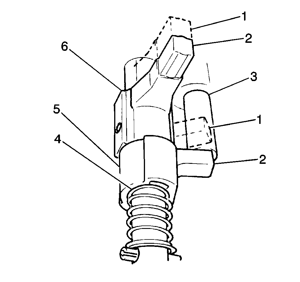
The reverse gearshift limit yoke (5) is located in the gearshift lever case and rides on the gearshift shaft. The reverse gearshift limit yoke prevents the transmission from being shifted directly from fifth gear (1) to reverse. When the transmission shifts into 5th gear, the gearshift limit spring (4) turns the gearshift limit yoke clockwise causing the reverse gearshift limit yoke to land on the reverse gearshift limit bolt (3). This action prevents a 5th-to-reverse gearshift.


Object Number: 168072  Size: SH

Shifting from 5th gear (2) to neutral (1) is possible with the reverse gear shift still canceled. This is due to the reverse gearshift limit yoke (5) making contact with the reverse gearshift limit bolt (3) preventing further gearshift control lever (6) rearward movement.


Object Number: 168082  Size: SH

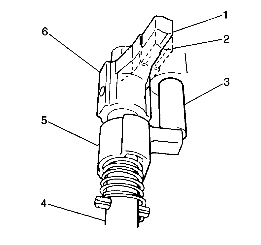
When the gearshift shaft is turned to the neutral position between 3rd and 4th gears (1), the gearshift limit spring turns the reverse gearshift limit yoke (6) counter-clockwise away from the reverse gearshift limit bolt (2). This action cancels the limiting mechanism and allows a reverse gearshift.

After the reverse gearshift limiting mechanism has been canceled, reverse gear is then available.