Removal Procedure
- Remove the rear bumper
fascia. Refer to
Rear Bumper Fascia Replacement
.
- Raise and suitably support the vehicle. Refer to
Lifting and Jacking the Vehicle
in General Information.
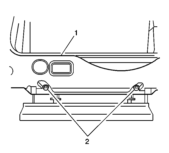
- Remove the 2 bolts (2) along the bottom which secure
the rear bumper impact bar (1).
- Lower the vehicle.
- Remove the 2 bolts (2) along the top which secure
the rear bumper impact bar (1).
- Remove the rear bumper impact bar (1) from the vehicle.
Installation Procedure
Notice: Use the correct fastener in the correct location. Replacement fasteners
must be the correct part number for that application. Fasteners requiring
replacement or fasteners requiring the use of thread locking compound or sealant
are identified in the service procedure. Do not use paints, lubricants, or
corrosion inhibitors on fasteners or fastener joint surfaces unless specified.
These coatings affect fastener torque and joint clamping force and may damage
the fastener. Use the correct tightening sequence and specifications when
installing fasteners in order to avoid damage to parts and systems.
- Install the rear
bumper impact bar (1) to the vehicle. Secure the impact bar with the
2 bolts (2) along the top of the impact bar.
Tighten
Tighten the rear bumper impact bar bolts to 30 N·m (22 lb ft).
- Raise the vehicle.
- Install the 2 bolts (2)
along the bottom which secure the rear bumper impact bar (1).
Tighten
Tighten the rear bumper impact bar bolts to 30 N·m (22 lb ft).
- Lower the vehicle.
- Install the rear bumper fascia. Refer to
Rear Bumper Fascia Replacement
.