GM Service Manual Online
For 1990-2009 cars only

Removal Procedure


    Object Number: 473523  Size: SH
  1. Remove the rear door hinge cover (1) from the vehicle by gently prying in order to release the plastic retainers which secure the cover.
  2. Remove the rear door window. Refer to Rear Window Replacement in Stationary Windows.
  3. Remove the spare wheel carrier. Refer to Spare Tire Carrier Replacement in Tire and Wheels.
  4. Remove the rear window washer nozzle. Refer to Rear Window Washer Nozzle Replacement in Wiper/Washer Systems.
  5. Remove the rear door trim panel seal. Refer to Water Deflector Replacement .
  6. Remove the rear door upper trim panels. Refer to Rear Door Trim Panel Replacement .
  7. Remove the rear license plate housing. Refer to Rear License Plate Housing Replacement .
  8. Remove the rear door lock cylinder. Refer to Rear Door Lock Cylinder Replacement .
  9. Remove the rear door lock. Refer to Rear Door Lock Replacement .

  10. Object Number: 470820  Size: SH
  11. Remove the rear window wiper motor. Refer to Rear Window Wiper Motor Replacement in Wiper/Washer Systems.
  12. Remove the rear door bumper. Refer to Rear Door Bumper Replacement .
  13. Remove the rear door strut. Refer to Door Support Replacement - Rear .
  14. Remove the screw (2) that retains the rear door wiring harness ground wire (3).
  15. Release the plastic retainers that retain the rear door wiring harness (3) to the rear door.
  16. Feed the wiring harness (3) through the rear door.
  17. Remove the grommet and wiring harness (3) from the rear door.

  18. Object Number: 473514  Size: SH
  19. Suitably support the rear door.
  20. Remove the 4 bolts (3) that retain the rear door lower hinge to the rear door (2).
  21. Remove the 2 bolts (1) that retain the rear door upper hinge to the rear door (2).
  22. Remove the rear door (2) from the vehicle.

Installation Procedure


    Object Number: 473514  Size: SH
  1. Install the rear door (2) to the vehicle. Secure the door with the 2 rear door upper hinge bolts (1). Do not tighten completely at this time.
  2. Notice: Use the correct fastener in the correct location. Replacement fasteners must be the correct part number for that application. Fasteners requiring replacement or fasteners requiring the use of thread locking compound or sealant are identified in the service procedure. Do not use paints, lubricants, or corrosion inhibitors on fasteners or fastener joint surfaces unless specified. These coatings affect fastener torque and joint clamping force and may damage the fastener. Use the correct tightening sequence and specifications when installing fasteners in order to avoid damage to parts and systems.

  3. Install the 4 bolts (3) that retain the rear door lower hinge to the rear door (2).
  4. Tighten
    Tighten the rear door hinge bolts to 34 N·m (25 lb ft).

  5. Remove the support from the rear door.

  6. Object Number: 470820  Size: SH
  7. Install the grommet and rear door wiring harness (3) to the rear door.
  8. Feed the wiring harness (3) through the rear door. Secure the wiring harness to the rear door with the plastic retainers.
  9. Install the screw (2) that retains the rear door wiring harness ground wire (3).
  10. Install the rear door strut. Refer to Door Support Replacement - Rear .
  11. Install the rear door bumper. Refer to Rear Door Bumper Replacement .
  12. Install the rear window wiper motor. Refer to Rear Window Wiper Motor Replacement in Wiper/Washer Systems.
  13. Install the rear door lock. Refer to Rear Door Lock Replacement .
  14. Install the rear door lock cylinder. Refer to Rear Door Lock Cylinder Replacement .
  15. Install the rear license plate housing. Refer to Rear License Plate Housing Replacement .
  16. Install the rear door upper trim panels. Refer to Rear Door Trim Panel Replacement .
  17. Install the rear door trim panel seal. Refer to Water Deflector Replacement .

  18. Object Number: 473523  Size: SH
  19. Install the rear window washer nozzle. Refer to Rear Window Washer Nozzle Replacement in Wiper/Washer Systems.
  20. Install the spare wheel carrier. Refer to Spare Tire Carrier Replacement in Tires and Wheels.
  21. Install the rear door window. Refer to Rear Window Replacement in Stationary Windows.
  22. Install the rear door hinge cover (1) to the rear door. Ensure that the plastic retainers are completely engaged.

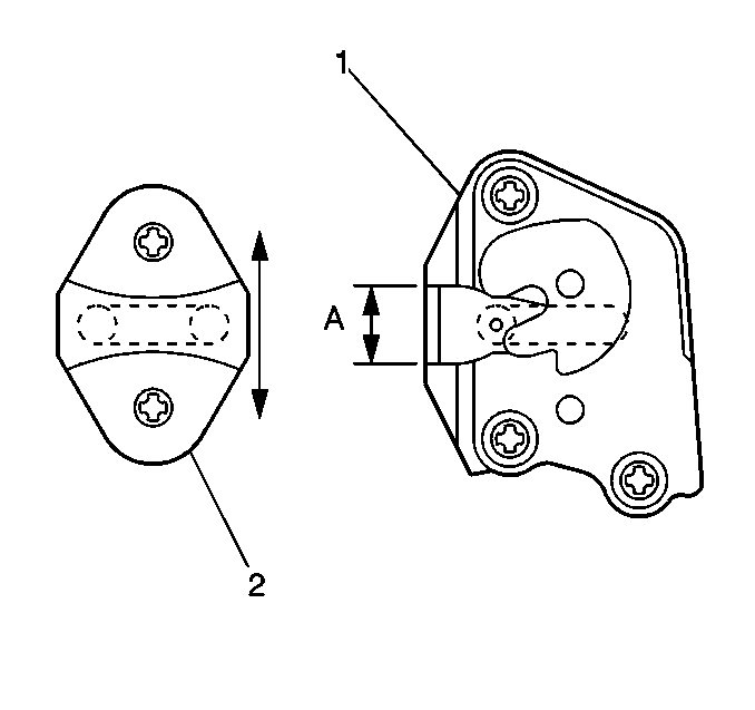
  23. Object Number: 474169  Size: SH
  24. Adjust the rear door lock striker (2) vertical measurement in order to align with the center of the rear door lock (1).
  25. Keep the lock striker (2) level while moving the striker sideways in order to adjust the rear door flushness with the quarter panel, as needed. Refer to Door Adjustment Specifications in Doors.