GM Service Manual Online
For 1990-2009 cars only

Removal Procedure


    Object Number: 489159  Size: SH
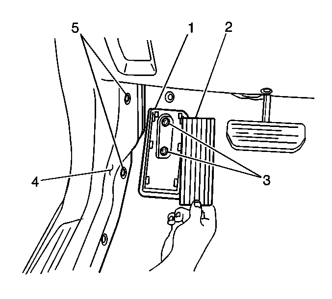
  1. Remove the left front foot rest cover (2) in order to gain access to the front floor foot rest mounting bolts (3).
  2. Remove the following components from the vehicle:
  3. 2.1. The 2 mounting bolts (3)
    2.2. The front floor foot rest (1)

Installation Procedure


    Object Number: 489159  Size: SH

    Notice: Use the correct fastener in the correct location. Replacement fasteners must be the correct part number for that application. Fasteners requiring replacement or fasteners requiring the use of thread locking compound or sealant are identified in the service procedure. Do not use paints, lubricants, or corrosion inhibitors on fasteners or fastener joint surfaces unless specified. These coatings affect fastener torque and joint clamping force and may damage the fastener. Use the correct tightening sequence and specifications when installing fasteners in order to avoid damage to parts and systems.

  1. Install the front floor foot rest (1) to the vehicle. Secure the foot rest with the 2 mounting bolts (3).
  2. Tighten
    Tighten the front floor foot rest mounting bolts to 10 N·m (7.5 lb ft).

  3. Install the left front foot rest cover (2) to the front floor foot rest (1).