GM Service Manual Online
For 1990-2009 cars only
  1. Remove the lower oil pan. Refer to Lower Oil Pan Removal .

  2. Object Number: 648669  Size: SH
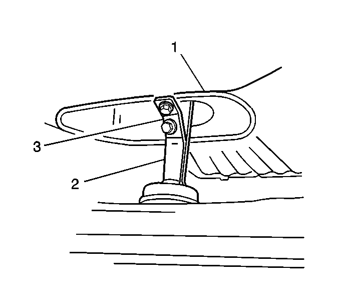
  3. Remove the 2 bolts and the oil strainer bracket (3).
  4. Remove the radiator outlet pipe from the upper oil pan.
  5. Remove the upper oil pan bolts and lower the oil pan (1).

  6. Object Number: 648666  Size: SH
  7. Remove the 2 bolts that secure the oil pump pipe (3) to the oil pump.
  8. Remove the upper oil pan and oil strainer together.