GM Service Manual Online
For 1990-2009 cars only
Makes
🢒
Chevrolet
🢒
2001
🢒
Tracker - 2WD
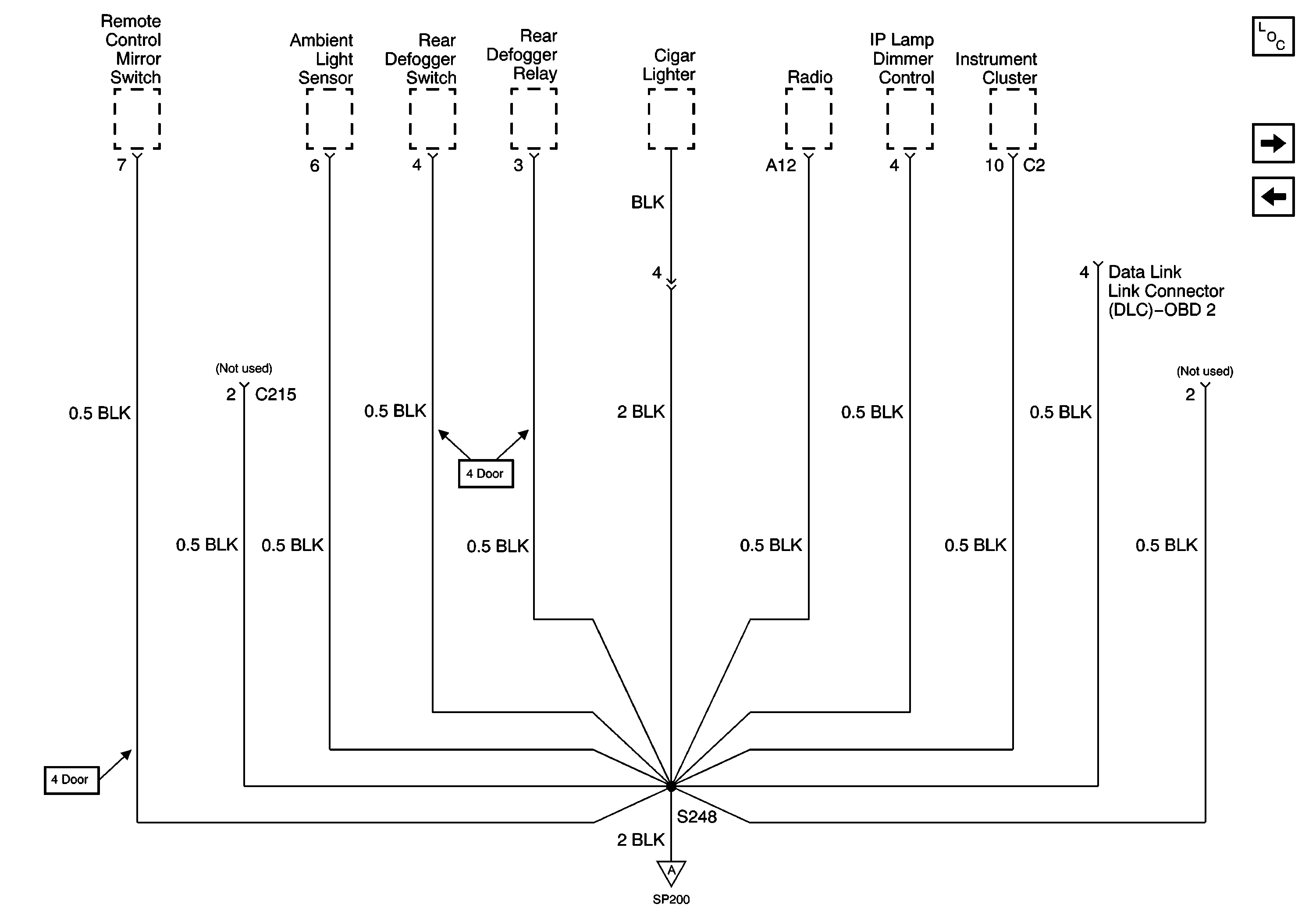
🢒 G200 (2 of 2)
G200 (2 of 2)
G200 (2 of 2)
Master Electrical Component List
G200 and G201
G200 (1 of 2)
G200 and G201