GM Service Manual Online
For 1990-2009 cars only

Removal Procedure

    Caution: Unless directed otherwise, the ignition and start switch must be in the OFF or LOCK position, and all electrical loads must be OFF before servicing any electrical component. Disconnect the negative battery cable to prevent an electrical spark should a tool or equipment come in contact with an exposed electrical terminal. Failure to follow these precautions may result in personal injury and/or damage to the vehicle or its components.

  1. Disconnect the negative battery cable.
  2. Remove the two bolts and the hood latch from the front end panel.

  3. Object Number: 487812  Size: SH
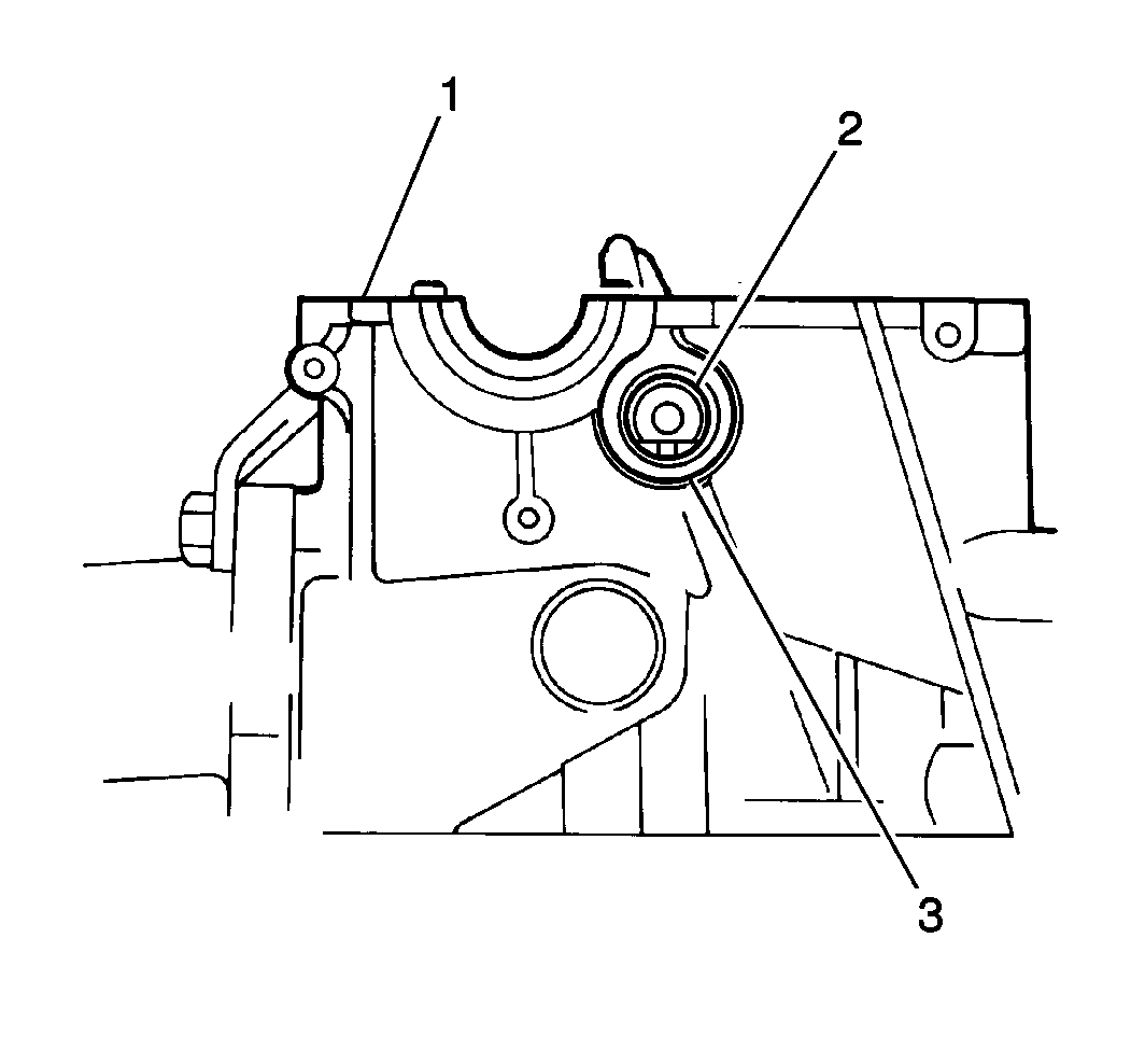
  4. Remove the radiator from the radiator core support (2). Refer to Radiator Replacement in Engine Cooling.
  5. Remove the crankshaft pulley from the engine. Refer to Crankshaft Pulley Replacement .
  6. Remove the timing belt from the engine. Refer to Timing Belt Replacement .
  7. Remove the camshaft from the engine. Refer to Camshaft Replacement .

  8. Object Number: 166345  Size: SH
  9. Remove the rocker arm shaft plug (1) from the cylinder head.

  10. Object Number: 262298  Size: SH
  11. Unclip and remove the intake rocker arms (2) from the rocker arm shaft.

  12. Object Number: 262294  Size: SH
  13. Remove the six rocker arm shaft bolts (1).

  14. Object Number: 166372  Size: SH
  15. Push the rocker arm shaft back through the rear of the cylinder head until the end of the rocker arm shaft (2) appears.
  16. Remove the rocker arm shaft O-ring seal.

  17. Object Number: 262352  Size: SH
  18. Carefully slide the rocker arm shaft (2) out of the cylinder head while removing the exhaust rocker arms (1) and springs from the rocker arm shaft.
  19. Clean all of the camshaft and rocker arm components thoroughly with clean solvent.

  20. Object Number: 166333  Size: SH
  21. Inspect the rocker arms (2, 5) for excessive wear or damage. Pay particular attention to the rocker arm adjusting screw tips (4, 7) and cam riding surfaces. If excessive wear or damage exists, replace the rocker arms as necessary.
  22. Inspect the following for excessive wear or damage:
  23. • The camshaft
    • The camshaft carrier
    • The carrier caps
    • Replace the components as necessary.

Installation Procedure

  1. Apply clean engine oil to all rocker arm components to ensure the ease of assembly.

  2. Object Number: 166372  Size: SH

    Important: Rotate the rocker arm shaft (2) so that the flat machined surface is horizontal and facing down parallel with the cylinder head (1) mating surface.

  3. Install the rocker arm shaft (2) by pushing the rocker arm shaft through the front of the cylinder head (1).
  4. Slide the exhaust rocker arms and rocker arm springs as the rocker arm shaft is being installed.
  5. Push the rocker arm shaft back through the rear of the cylinder head until the end of the rocker arm shaft appears.
  6. Install the rocker arm shaft O-ring seal to the rocker arm shaft.
  7. Reposition the rocker arm shaft back into the cylinder head and align bolt holes.

  8. Object Number: 166341  Size: SH

    Notice: Use the correct fastener in the correct location. Replacement fasteners must be the correct part number for that application. Fasteners requiring replacement or fasteners requiring the use of thread locking compound or sealant are identified in the service procedure. Do not use paints, lubricants, or corrosion inhibitors on fasteners or fastener joint surfaces unless specified. These coatings affect fastener torque and joint clamping force and may damage the fastener. Use the correct tightening sequence and specifications when installing fasteners in order to avoid damage to parts and systems.

  9. Install the six rocker arm shaft bolts (1) into the cylinder head.
  10. Tighten
    Tighten the rocker arm shaft bolts to 10 N·m (89 lb in).

  11. Fill the rocker arm shaft bolt holes with clean engine oil.
  12. Install all of the intake rocker arms with the clips onto the rocker arm shaft (2).
  13. Install the camshaft to the engine. Refer to Camshaft Replacement .
  14. Install the timing belt to the engine. Refer to Timing Belt Replacement .
  15. Install the crankshaft pulley to the engine. Refer to Crankshaft Pulley Replacement .

  16. Object Number: 487812  Size: SH
  17. Install the radiator into the radiator core support (2). Refer to Radiator Replacement in Engine Cooling.
  18. Install the hood latch to the front end panel. Secure the hood latch with two bolts.
  19. Tighten
    Tighten the hood latch bolts to 10 N·m (89 lb in).

  20. Connect the negative battery cable.
  21. Tighten
    Tighten the battery cable to 15 N·m (11 lb ft).