GM Service Manual Online
For 1990-2009 cars only

Removal Procedure


    Object Number: 468528  Size: SH
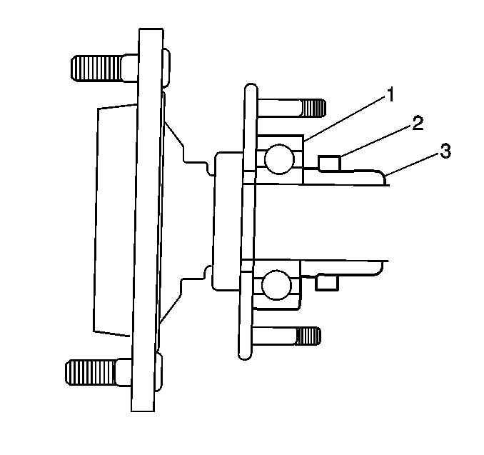
  1. Remove the following components as an assembly from the rear axle housing. Refer to Rear Axle Shaft Replacement in Rear Drive Axle.
  2. • The rear axle shaft
    • The rear axle shaft bearing (1)
    • The ABS reluctor wheel (2), if equipped
    • The bearing retainer (3)
  3. Remove the brake shoes. Refer to Brake Shoe Replacement .
  4. Remove the wheel cylinder. Refer to Wheel Cylinder Replacement .
  5. Squeeze the stopper ring in order to remove the park brake cable from the backing plate.
  6. Remove the backing plate from the rear axle housing.
  7. Clean the mating surface of the rear axle shaft housing.
  8. Clean the mating surface of the rear axle shaft bearing retainer.

Installation Procedure


    Object Number: 470562  Size: SH
  1. Apply General Motors Sealer, GM P/N 1052366 (Canadian P/N 88900041), or equivalent, to the mating surface of the rear axle housing (1).
  2. Install the backing plate to the rear axle housing. Align the holes for the rear axle shaft retainer studs.
  3. Install the park brake cable to the backing plate.
  4. Install the wheel cylinder. Refer to Wheel Cylinder Replacement .
  5. Install the brake shoes. Refer to Brake Shoe Replacement .
  6. Apply General Motors Sealer, GM P/N 1052366 (Canadian P/N 88900041), or equivalent, to the rear axle shaft bearing retainer mating surface on the backing plate.
  7. Install the following components to the rear axle housing. Refer to Rear Axle Shaft Replacement in Rear Drive Axle.
  8. • The rear axle shaft
    • The rear axle shaft bearing
    • The ABS reluctor wheel, if equipped
    • The bearing retainer