GM Service Manual Online
For 1990-2009 cars only

Rear Seat Cushion Replacement 2 Door

Removal Procedure


    Object Number: 488180  Size: SH
  1. Gently pry and remove the rear seat hinge support cover (2) from each rear seat hinge support (1).

  2. Object Number: 488202  Size: SH
  3. Remove the rear seat stopper rod nut (1) from each rear seat hinge support pin (4).
  4. Remove the support pin (4) from each rear seat support (2).

  5. Object Number: 488182  Size: SH
  6. Pull the rear seat pull strap (2) while raising the back of the rear seat cushion (1).
  7. Remove the seat cushion (1) from the vehicle.

Installation Procedure


    Object Number: 488202  Size: SH
  1. Install the rear seat cushion (5) to the vehicle. Secure the cushion to each rear seat support (2) with the rear seat hinge support pins (4).
  2. Install the rear seat stopper rod nut (1) to each support pin (4).

  3. Object Number: 488180  Size: SH
  4. Install the rear seat hinge support cover (2) to each rear seat hinge support (1).
  5. Lower the seat cushion.

Rear Seat Cushion Replacement 4 Door

Removal Procedure


    Object Number: 488180  Size: SH
  1. Gently pry and remove the rear seat hinge support cover (2) from each rear seat hinge support (1).

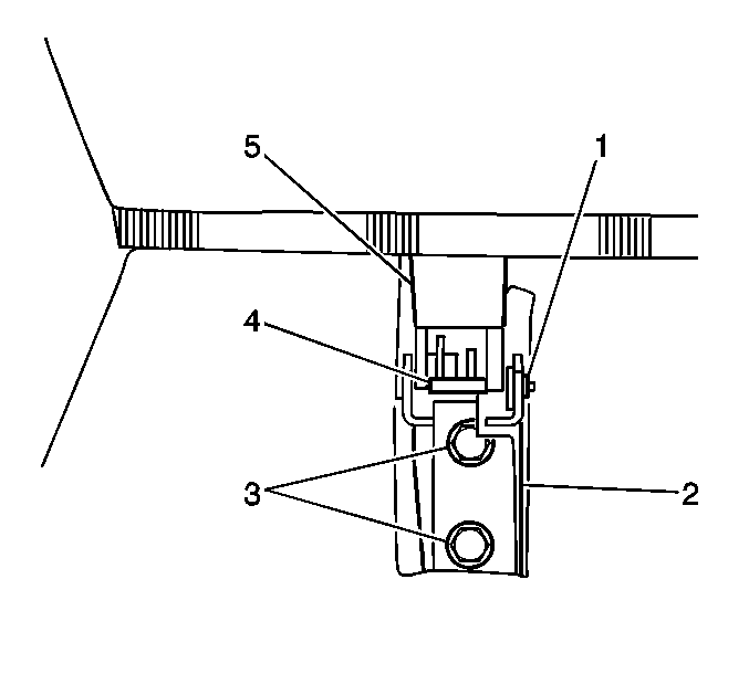
  2. Object Number: 489112  Size: SH
  3. Remove the rear seat stopper rod nut (2) from each rear seat hinge support pin (3).
  4. Remove the support pin (3) from each rear seat support.

  5. Object Number: 479510  Size: SH
  6. Pull the rear seat pull strap (1 or 2) while raising the back of the rear seat cushion (3 or 4).
  7. Remove the seat cushion (3 or 4) from the vehicle.

Installation Procedure


    Object Number: 489112  Size: SH
  1. Install the rear seat cushion (1) to the vehicle. Secure the cushion to each rear seat support with the rear seat hinge support pins (3).
  2. Install the rear seat stopper rod nut (2) to each support pin (3).

  3. Object Number: 488180  Size: SH
  4. Install the rear seat hinge support cover (2) to each rear seat hinge support (1).
  5. Lower the seat cushion.