GM Service Manual Online
For 1990-2009 cars only

Info - Availability of Transmission Shield to Protect Shift Cable/Manual Shaft Area from Snow and Ice Build-Up on Allison Automatic Transmissions

Subject:Availability of Transmission Shield to Protect Shift Cable/Manual Shaft Area from Snow and Ice Build-Up On Allison Automatic Transmissions

Models:2001-2005 Light Duty Trucks
with Allison® Automatic Transmission



This bulletin is being revised to remove 2006 model year vehicles. Please discard Corporate Bulletin Number 04-07-30-018A (Section 07 -- Transmission/Transaxle).


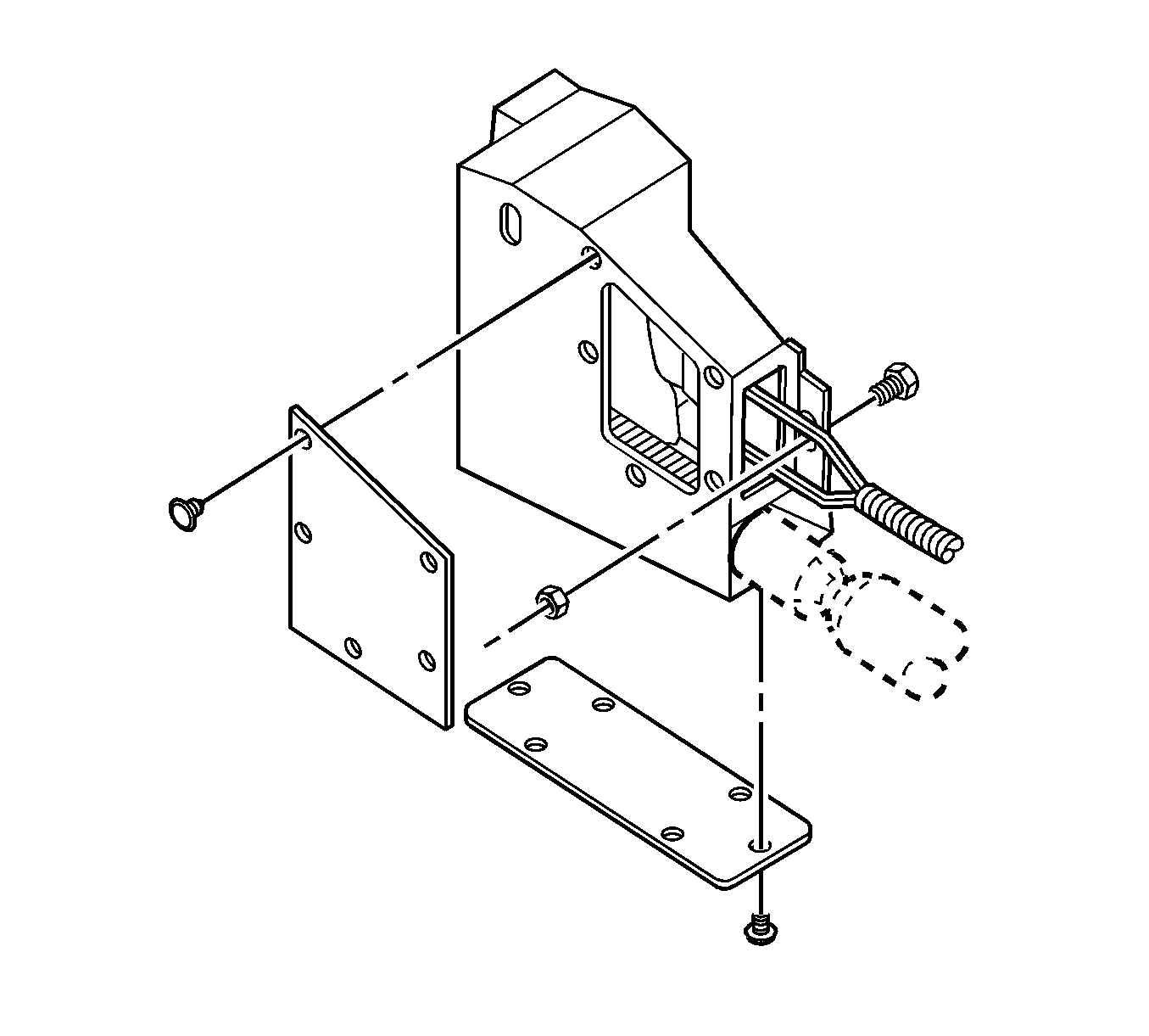
This bulletin is to inform dealers that some vehicles may exhibit an inability to shift the transmission after operating in slush, snow or icy conditions. Investigation may show a build-up of ice on the transmission around the shift cable to manual shaft connection.


Object Number: 1465667  Size: SH

A transmission shield that will protect the shift cable/manual shaft area from snow and ice build-up is available through aftermarket automotive parts suppliers.


Object Number: 1465663  Size: MF

The transmission shield, P/N 700028, will protect the shift cable/manual shaft area from snow and ice build-up.

Installation of this shield is not considered to be warranty.

Parts Information

This shield is NOT available through GMSPO and must be purchased from a distributor.

Canadian Distributors

Alberta

4 WEST

3410 - 9th STREET S.E.

CALGARY, AB T2G 3O3

CONTACT: TERRY LENARD

Email: 4west@shaw.ca

FAX: 403-243-7375

PH: 403-243-0079

CROSS CANADA AUTO BODY

8221 MCINTYRE ROAD

EDMONTON, AB T6E 5J7

FAX: 780-440-0498

PH: 780-448-1901

CUSTOM TRUCK PARTS

13313 - 100th STREET

GRANDE PRAIRIE, AB T8V 4H4

email: ctpdist@telusplanet.net

FAX: 780-532-1084

PH: 780-538-2211

ENTERPRISE ROBERT THIBERT

6804 - 30th STREET S.E.

CALGARY, AB T2C 1N9

Contact: STEVE AGOPIEN

PH: 403-589-3758

INNOVATIVE CREATIONS ENTERPRISE

URBANEX ENTERPRISE LTD

1520 - 33 ST. N

LETHBRIDGE, AB T4H 5H3

CONTACT: DARWIN EARL

FAX:403-329-3564

PH: 403-329-8801

TYA SALES

11761 - 156th STREET

EDMONTON, AB T5M 3N4

FAX: 780-452-5622

PH: 800-665-3665

British Columbia

NORTH SHORE OFF-ROAD

1520 RICHMOND STREET

NORTH VANCOUVER, BC V7T 1B2

FAX: 604-988-3366

PH: 604-988-7677

TYA SALES

1765 DOUGLAS ROAD

BURNABY, BC V5C 5A5

FAX: 604-320-2020

PH: 604-320-2000

--

Ontario

KIRSCH & GIDARO MARKETING

120 JEVLAN DR. #3

WOODBRIDGE, ON L4L 8G3

CONTACT: MARSH GIDARO / MARC GIDARO / AL WRIGH

FAX: 905-856-1199

PH: 905-856-1155

AUTOSTOCK DISTRIBUTORS

5101 ORBITOR DRIVE UNIT B

MISSISSAUGA, ON L4K 4V1

FAX: 905-629-7205

PH: 905-361-4300

CROSS CANADA AUTO BODY

2895 WALKER ROAD

WINDSOR, ON N8W 3R2

FAX: 519-966-4266

PH: 519-966-0450

CROSS CANADA AUTO BODY

5 TILBURY COURT

BRAMPTON, ON L6T 3T4

FAX: 905-454-4098

PH: 905-454-5580

MID CANADA AUTO

1134 ROLAND STREET

THUNDER BAY, ON P7B 5M4

FAX: 807-623-1105

PH: 807-623-1990

NATIONAL 4 x 4

4122 SOUTH SERVICE ROAD

BURLINGTON, ON L7L 4X5

EMAIL webmaster@national4wd.com

FAX: 905-634-6010

PH: 905-634-0001

RIVA TRUCK ACCESSORIES

#11, 5875 HWY 7 WEST

WOODBRIDGE, ON L4L 1T9

FAX: 905-851-6082

PH: 905-851-7482

TRUCK ACCESSORIES PLUS

2 FISHERMAN DRIVE, UNIT #8

BRAMPTON, ON L7A 1BS

FAX: 905-846-4026

PH: 905-846-1016

 

Quebec

ENTERPRISE ROBERT THIBERT

200 BOUL. ST. JEAN BAPTIST

MERCIER, QC J6R 2L2

FAX: 450-691-4280

PH: 450-699-0560

United States

Nevada

CUSTOM TRUCK

3068 E. FREEMAN

LAS VEGAS, NV

89104-2208

FAX: 702-641-4537

PH:702-641-4666

Montana

ROCKY MOUNTAIN TRUCK ACCESS

BOX 80844

BILLINGS, MT

59108

FAX: 406-245-2904

PH: 406-245-5500

California

SIERRA TRUCK & VAN

225 LOPES RD.

FAIRFIELD, CA

94534

FAX# 707-864-4383

PH# 707-864-1064

TRUCK SMART INC.

4055 GRASS VALLEY HWY.

STE. #107

AUBURN, CA 95602

FAX: 530-888-9172

PH: 530-888-7825

PICK-EM-UP TRUCK STORE

1921 VERNE ROBERTS CIRCLE

ANTIOCH, CA 94509

PH: 925-776-4847

PICK-EM-UP TRUCK STORE

3768 SANTA ROSA AVENUE

SANTA ROSA, CA 95407

PH: 707-585-8995

Warranty Information

Important: Addition of the shield is NOT a warrantable repair. The following information is a suggested repair guide only.

Labor Operation

Description

Labor Time

N/A

Shield Installation

0.4 hr