GM Service Manual Online
For 1990-2009 cars only
Makes
🢒
Chevrolet
🢒
2002
🢒
Tracker - 2WD
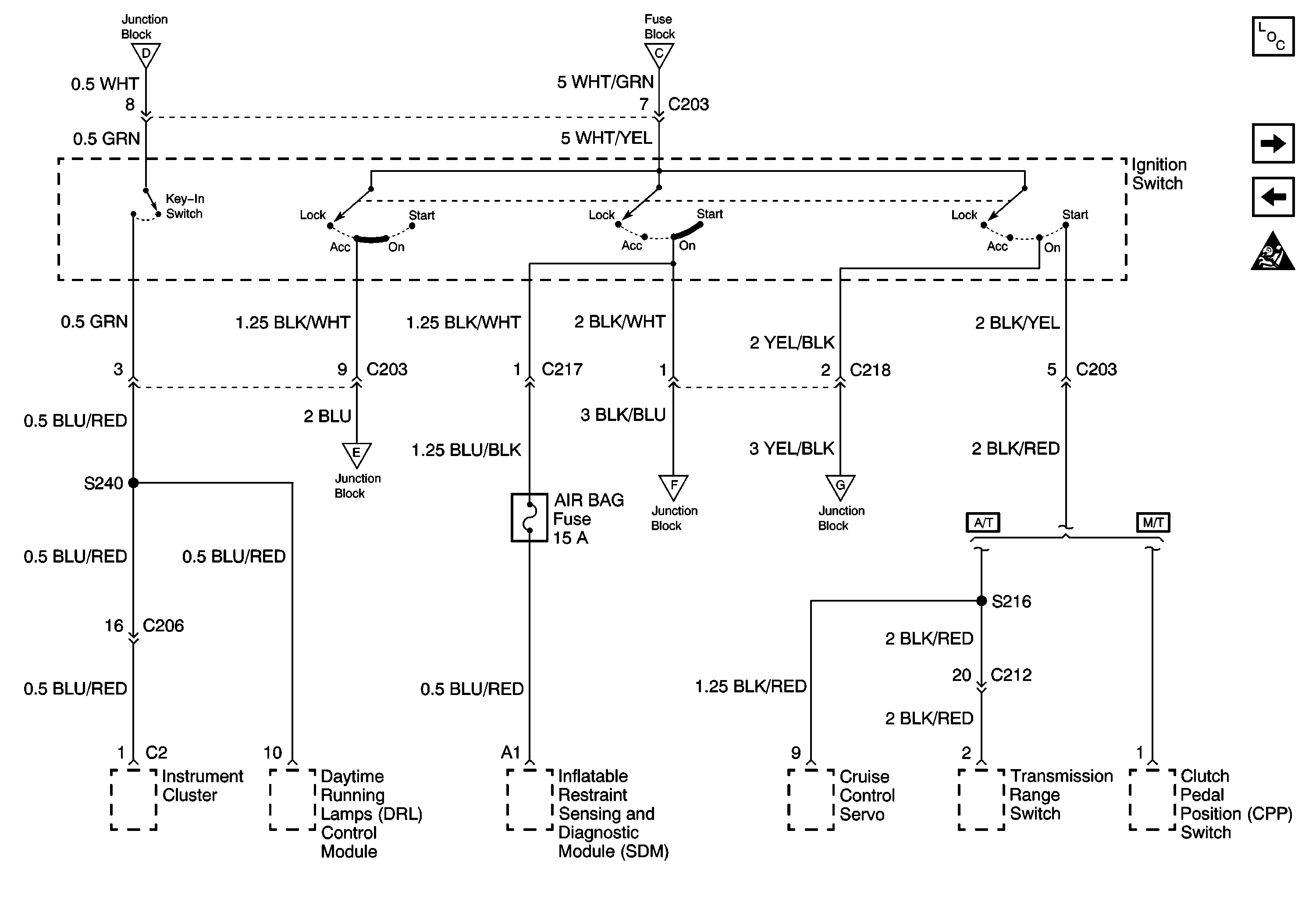
🢒 Ignition Switch
Ignition Switch
Ignition Switch and SIR Fuse
Master Electrical Component List
CIG, DEF, P/W Fuses
HAZ, D/L, TAIL, STOP, DOME Fuses
CIG, DEF, P/W Fuses
IG Fuse
TURN, WIP Fuses
CIG, DEF, P/W Fuses
HAZ, D/L, TAIL, STOP, DOME Fuses