GM Service Manual Online
For 1990-2009 cars only
Makes
🢒
Chevrolet
🢒
2000
🢒
Tracker - 4WD
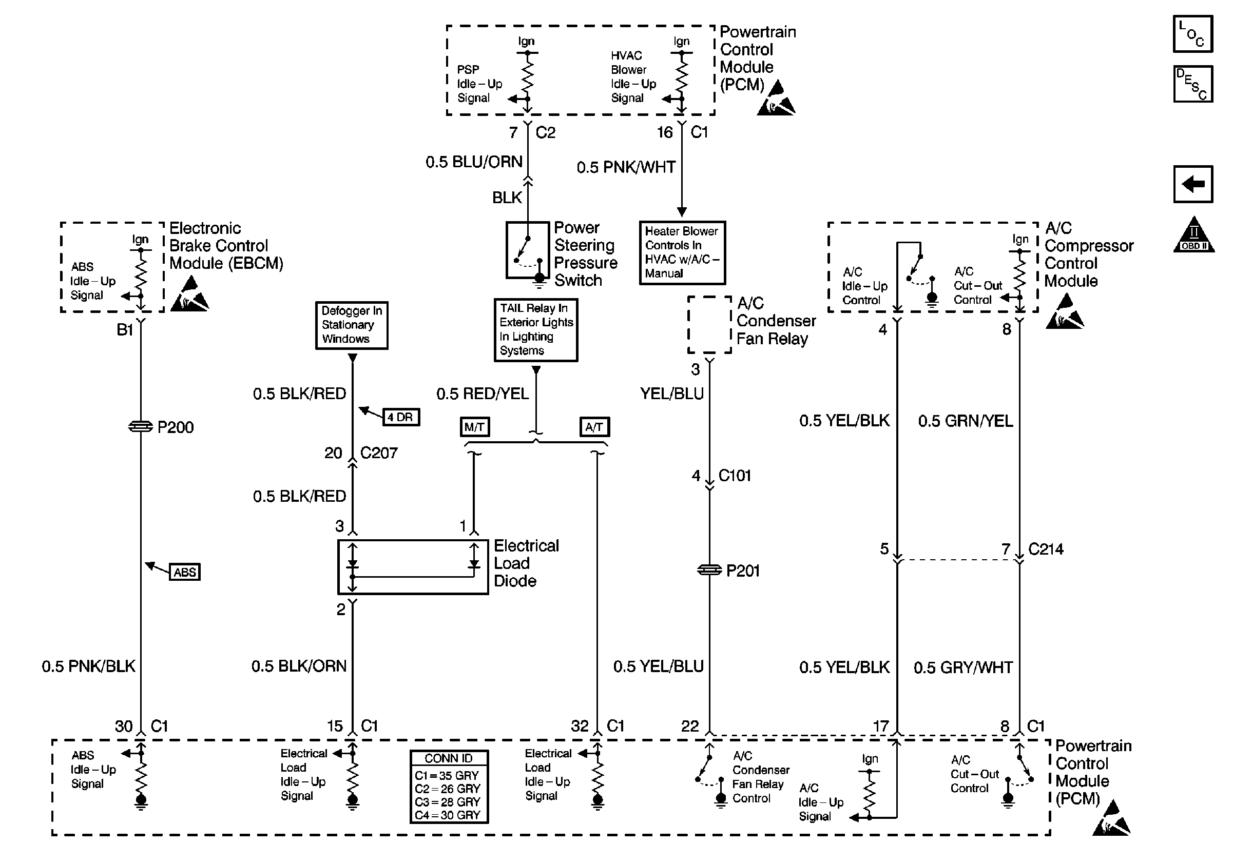
🢒 A/C Controls and Idle-Up Signals
A/C Controls and Idle-Up Signals
A/C Controls and Idle-Up Signals
Engine Controls Components
A/T Controls and Outputs
Handling ESD Sensitive Parts Notice
Handling ESD Sensitive Parts Notice
Handling ESD Sensitive Parts Notice
Handling ESD Sensitive Parts Notice
Ground, A/C and Pressure Switches
Front Park Lamps
Defogger Schematics
Handling ESD Sensitive Parts Notice