GM Service Manual Online
For 1990-2009 cars only
Makes
🢒
Chevrolet
🢒
2000
🢒
Tracker - 4WD
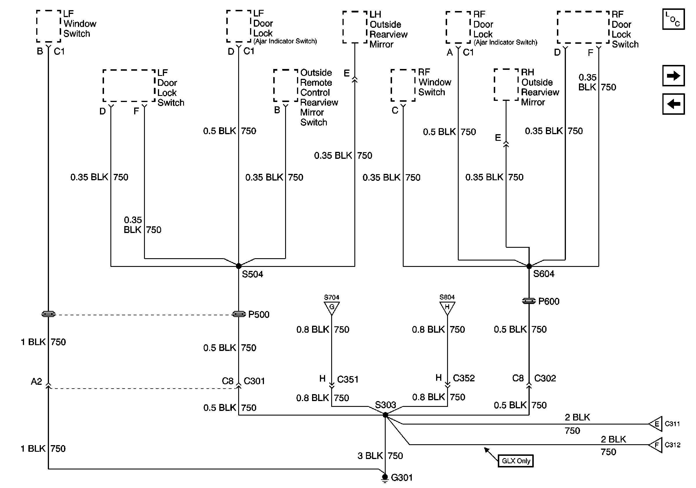
🢒 G301, 1 of 3
G301, 1 of 3
G301, 1 of 3
Power and Grounding Components
G301, 2 of 3
G203
G301, 3 of 3
G301, 2 of 3