GM Service Manual Online
For 1990-2009 cars only
Makes
🢒
Chevrolet
🢒
2000
🢒
Tracker - 4WD
🢒 Instrument Panel Lamp Dimmer Control and Lamps
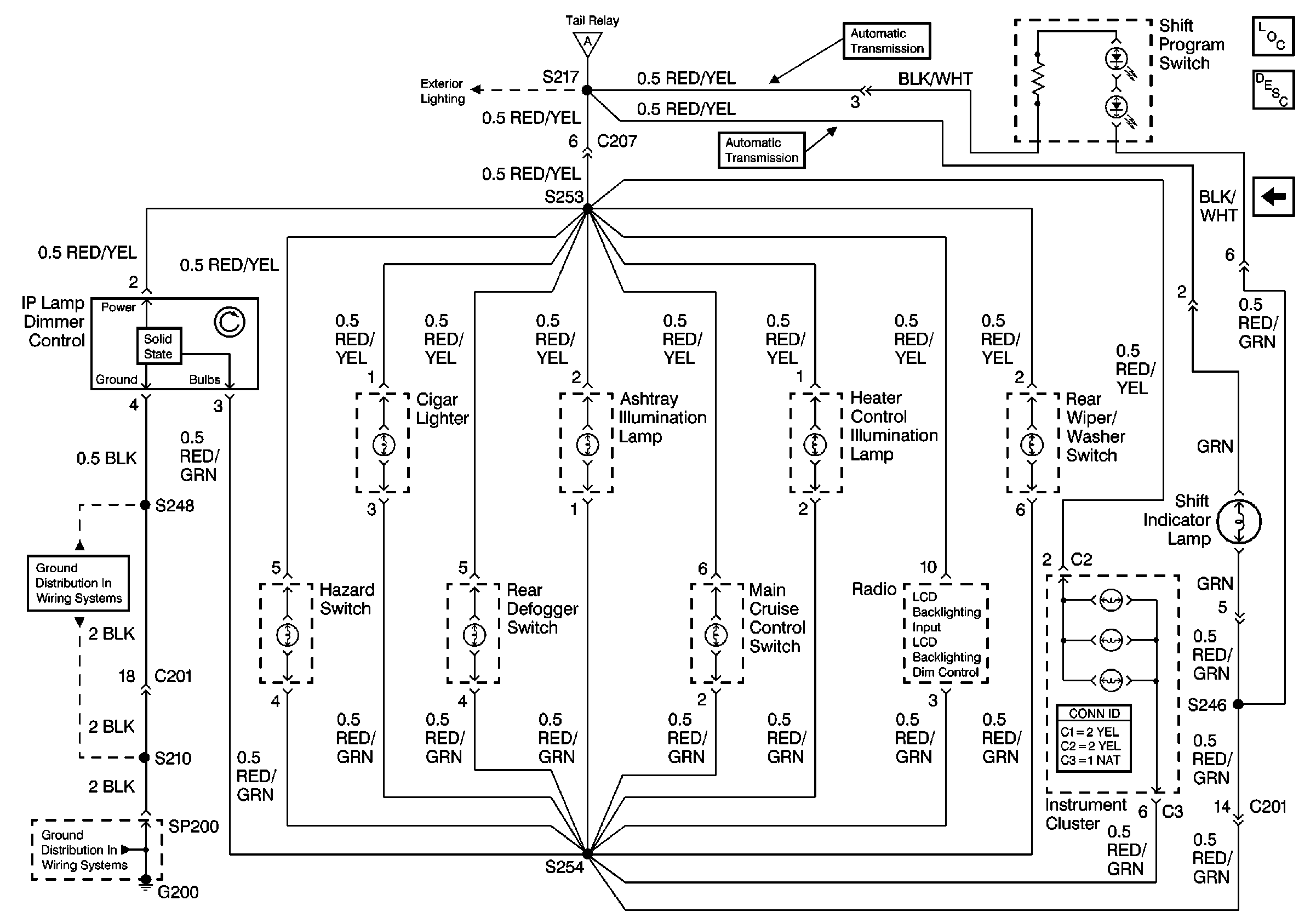
Instrument Panel Lamp Dimmer Control and Lamps
Instrument Panel Lamp Dimmer Control and Lamps
Lighting Systems Components
Interior Lights Dimming Circuit Description
Light Switch and Tail Relay
G200 (2 of 2)
G200 (1 of 2)