GM Service Manual Online
For 1990-2009 cars only

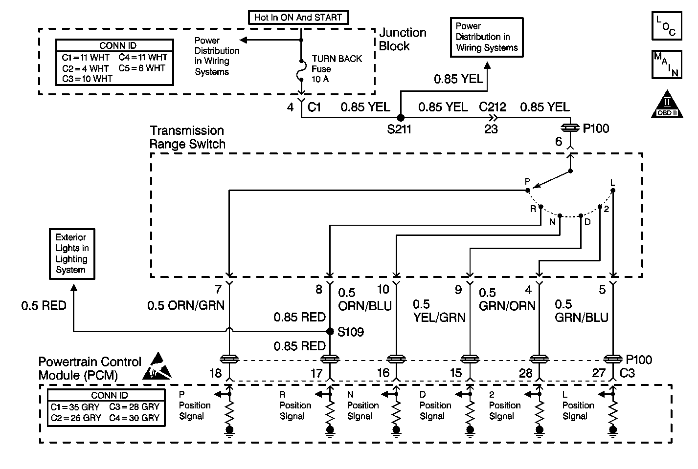
Object Number: 478546  Size: MF

Circuit Description

The transmission range switch sends gear position signals to the powertrain control module (PCM) according to the manual selector range position. The PCM uses this information in order to manage transmission operation.

Conditions for Setting the DTC

    • The transmission range switch signal (R, N, D, 2 or L) does not input for 25 seconds at 60 km/h (38 mph) or higher vehicle speed in DRIVE range.
    • Multiple signals input simultaneously for 25 seconds.
    • Two driving cycle detection logic

Action Taken When the DTC Sets

    •  DTC P0705 stores.
    • The PCM enters fail-safe mode.
    • The malfunction indicator lamp (MIL) turns ON.

During fail-safe mode operation, the PCM controls the shift solenoids and the torque converter clutch (TCC) solenoid based on the DRIVE range when no signal inputs from the transmission range switch are seen.

Diagnostic Aids

Inspect for the following conditions:

    • The transmission range switch is out of adjustment.
    • A transmission range switch malfunction exists.
    • The following faulty electrical circuits exist between the transmission range switch and the PCM:
       - An open
       - A short to voltage
       - A short to ground
    • A faulty PCM exists.

The following conditions may cause an intermittent condition:

    • A reduced connection
    • Rubbed through wire insulation
    • A broken wire inside the insulation

Inspect the PCM harness connectors for the following conditions:

    • Backed out terminals
    • Improper mating
    • Broken locks
    • Improperly formed or damaged terminals
    • Reduced terminal-to-wire connections

If DTC P0705 cannot duplicate, the information included in the Freeze Frame data may be useful in determining the vehicle operating conditions when the DTC set.

Refer to Wiring Repairs in Wiring Systems when repairing any wiring.

Test Description

The numbers below refer to the step numbers on the diagnostic table.

  1. The Powertrain OBD System Check prompts the technician to complete some basic checks and store the freeze frame data on the Scan Tool if applicable. The scan tool creates an electronic copy of the data taken when the fault occurred. The information then stores in the Scan Tool for later reference.

  2. This step tests the transaxle range switch in the P range.

  3. This step tests the transaxle range switch in the R range.

  4. This step tests the transaxle range switch in the N range.

  5. This step tests the transaxle range switch in the D range.

  6. This step tests the transaxle range switch in the 2 range.

  7. This step tests the transaxle range switch in the L range.

  8. This step tests for a faulty PCM.

  9. This step tests for an open in the transmission sense circuit between the PCM and the transmission range switch.

Step

Action

Value(s)

Yes

No

1

Was the On-Board Diagnostic (OBD) System Check performed?

--

Go to Step 2

Go to Powertrain On Board Diagnostic (OBD) System Check in Engine Controls - 1.6L or Powertrain On Board Diagnostic (OBD) System Check in Engine Controls - 2.0L

2

  1. Install a scan tool.
  2. Turn ON the ignition, leaving the engine off.
  3. Apply the parking brake.
  4. Monitor the transmission range switch status on the scan tool with the transmission in Park (P).

Does the scan tool show that the transmission is in Park?

--

Go to Step 3

Go to Step 9

3

  1. Shift the transmission to the Reverse position.
  2. Monitor the transmission range switch status on the scan tool with the transmission in Reverse (R).

Does the scan tool show that the transmission is in Reverse?

--

Go to Step 4

Go to Step 9

4

  1. Shift the transmission to the Neutral position.
  2. Monitor the transmission range switch status on the scan tool with the transmission in Neutral (N).

Does the scan tool show that the transmission is in Neutral?

--

Go to Step 5

Go to Step 9

5

  1. Shift the transmission to the Drive position.
  2. Monitor the transmission range switch status on the scan tool with the transmission in Drive (D).

Does the scan tool show that the transmission is in Drive?

--

Go to Step 6

Go to Step 9

6

  1. Shift the transmission to the Second position.
  2. Monitor the transmission range switch status on the scan tool with the transmission in Second (2).

Does the scan tool show that the transmission is in Second?

--

Go to Step 7

Go to Step 9

7

  1. Shift the transmission to the Low position.
  2. Monitor the transmission range switch status on the scan tool with the transmission in Low (L).

Does the scan tool show that the transmission is in Low?

--

Go to Step 8

Go to Step 9

8

Refer to Diagnostic Aids for a possible intermittent condition.

Is the procedure complete?

--

Go to Step 14

--

9

  1. Turn the ignition switch to the LOCK position.
  2. Disconnect the PCM connector C3.
  3. Turn the ignition switch to the ON position.
  4. Shift the transmission to the gear position that failed.
  5. Measure the voltage at the PCM connector terminal that failed the functional test.

Is the voltage within the specified range?

10-14 V in gear

Go to Step 10

Go to Step 11

10

Replace the powertrain control module (PCM). Refer to PCM Replacement in Engine Controls.

Is the procedure complete?

--

Go to Step 11

--

11

  1. Turn the ignition switch to the LOCK position.
  2. Disconnect the transmission range switch electrical connector.
  3. Measure the resistance between the failed PCM harness connector terminal and the corresponding transmission range switch connector terminal (harness side).

Is the resistance within the specified range?

2 ohms

Go to Step 12

Go to Step 13

12

Inspect the transmission range switch for proper alignment. If the alignment is OK, then replace the transmission range switch.

Is the procedure complete?

--

Go to Step 14

--

13

Repair the open or the high resistance in the circuit between the transmission range switch and the PCM.

Is the repair complete?

--

Go to Step 14

--

14

  1. Turn the ignition switch to the LOCK position.
  2. Reconnect any disconnected connector(s).
  3. Perform the DTC Confirmation Procedure.

Does the scan tool display any DTC(s)?

--

Go to the applicable DTC table

System OK