GM Service Manual Online
For 1990-2009 cars only

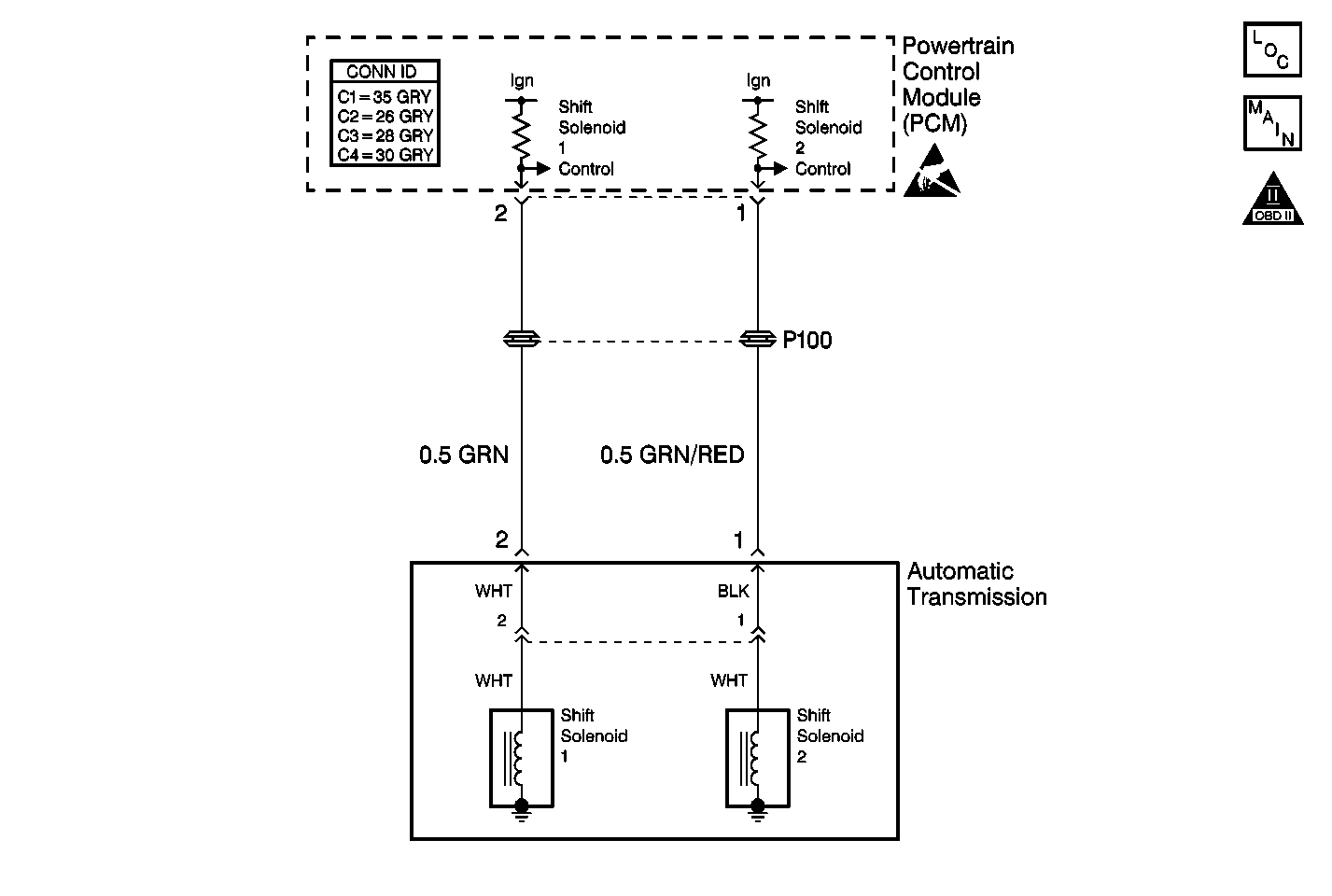
Object Number: 478619  Size: MF

Circuit Description

The PCM monitors the following conditions:

    • The throttle opening
    • The engine speed
    • The vehicle speed
    • The gear position

The PCM compares the actual engine speed to the PCM specified value. The PCM specified value is the engine speed the PCM obtains through calculation by using the above conditions.

Conditions for Setting the DTC

    • When the engine runs in DRIVE range, the gear change control from the powertrain control module (PCM) to the transmission does not agree with the actual gear position. The above condition exists even though solenoid valve #2 is electrically in good condition. The engine speed and the vehicle speed determine the gear position.
    • Two driving cycle detection logic

Action Taken When the DTC Sets

    • DTC P0756 stores.
    • The malfunction indicator lamp (MIL) turns ON.

Diagnostic Aids

Inspect for the following conditions:

    • The shift solenoid valve #2 is stuck.
    • The 1-2 shift valve is stuck.
    • The 3-4 shift valve is stuck.
    • The valve body fluid passage is clogged.
    • A 2nd brake malfunction exists.
    • A faulty PCM exists.

If DTC P0756 cannot duplicate, the information included in the Freeze Frame data may be useful in determining the vehicle operating conditions when the DTC set.

DTC Confirmation Procedure

  1. Turn the ignition switch to the LOCK position.
  2. Connect the scan tool to the data link connector (DLC).
  3. Turn the ignition switch ON.
  4. Use the scan tool in order to clear the following items:
  5. • DTC P0756
    • Any pending DTCs
  6. Start the engine.
  7. Warm the engine up to normal operating conditions.
  8. Accelerate the vehicle in DRIVE range.
  9. Inspect for upshifting in the following gears as the vehicle speed increases:

    7.1. 1st gear
    7.2. 2nd gear
    7.3. 3rd gear
    7.4. 4th gear
  10. Stop the vehicle.
  11. Use the scan tool in order to test for a pending DTC.

Test Description

The numbers below refer to the step numbers on the diagnostic table.

  1. The Powertrain OBD System Check prompts the technician to complete some basic checks and store the freeze frame data on the scan tool if applicable. The scan tool creates an electronic copy of the data taken when the fault occurred. The information then stores in the scan tool for later reference.

  2. This step tests for proper shift points.

  3. This step inspects for a leaky solenoid #2.

    Refer to the above figure.

  4. This step inspects for a stuck closed TCC solenoid #2.

    Refer to the above figure.

  5. This step inspects the condition of the valve body assembly.

  6. This step inspects for a faulty PCM.

Step

Action

Value(s)

Yes

No

1

Was the On-Board Diagnostic (OBD) System Check performed?

--

Go to Step 2

Go to Powertrain On Board Diagnostic (OBD) System Check in Engine Controls

2

  1. Install a scan tool.
  2. Turn the ignition to ON, leaving the engine OFF.
  3. Perform the scan tool Clear DTC Information function.
  4. Operate the vehicle within the Freeze Frame conditions as observed.

Does the scan tool display any other DTCs in addition to DTC P0756

--

Go to the applicable DTC table

Go to Step 3

3

Perform the Upshifts and Torque Converter Clutch (TCC) Apply procedure. Refer to Road Test . This procedure diagnoses the mechanical condition of the transmission and the torque converter. Repair if necessary.

Is the procedure complete?

--

Go to Step 4

--

4

  1. Remove the shift solenoid assembly. Refer to Shift Solenoid Replacement .
  2. Apply 490 kPa (71 psi) of compressed air into the shift solenoid #2 inlet port.

Did the shift solenoid #2 outlet port remain closed with no air leakage?

--

Go to Step 6

Go to Step 11

5

  1. Apply 12 V to the shift solenoid #2 (positive to the wire, negative to the case).
  2. Apply 490 kPa (71 psi) of compressed air into the shift solenoid inlet port.

Did the shift solenoid #2 outlet port open and enable air to escape?

--

Go to Step 7

Go to Diagnostic Aids

6

  1. Remove the valve body.
  2. Inspect the valve body passages for any obstructions/restrictions.
  3. Refer to Valve Body and Accumulator Pistons Removal .

Is the valve body in good condition?

--

Go to Step 7

Go to Step 8

7

  1. Install a known-good PCM. Refer to Powertrain Control Module Replacement/Programming in Engine Controls.
  2. Perform the DTC Confirmation procedure.

Does DTC P0756 reset?

--

Go to Step 11

Go to Step 12

8

Repair or overhaul the valve body assembly. Refer to Valve Body and Accumulator Pistons Removal .

Is the repair complete?

--

Go to Step 11

--

9

Replace the shift solenoid assembly. Refer to Shift Solenoid Replacement .

Is the procedure complete?

--

Go to Step 12

--

10

Replace the PCM. Refer to Powertrain Control Module Replacement/Programming in Engine Controls.

Is the procedure complete?

--

Go to Step 12

--

11

Diagnose the mechanical condition of the transmission.

Is the action complete?

--

Go to Step 12

--

12

Perform the DTC Confirmation Procedure.

Does the scan tool display any DTC(s)?

--

Go to the applicable DTC table

System OK