GM Service Manual Online
For 1990-2009 cars only

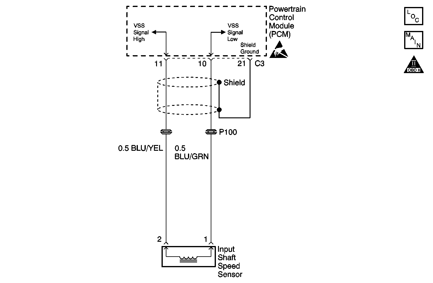
Input/Turbine Speed Sensor Circuit


Object Number: 635939  Size: MF

Circuit Description

The input shaft speed sensor provides the powertrain control module (PCM) with an AC voltage input whenever the drive wheels rotate. The frequency of the AC voltage signal increases with wheel speed. The PCM calculates the vehicle speed from the frequency of the AC signal. The PCM uses the above information in order to determine shift points.

Conditions for Setting the DTC

    • When the 4L switch is open, no input shaft speed sensor signal is received when the VSS (speedometer) signal is received.
    • When the 4L switch is open, no input shaft speed sensor signal is received when the engine runs at higher than torque converter stall speed in DRIVE range. Torque converter stall speed is 2300-2600 RPM.

Action Taken When the DTC Sets

    • DTC P0715 stores.
    • The PCM enters fail-safe mode.
    • The malfunction indicator lamp (MIL) turns ON.

The PCM uses the VSS (speedometer) for shift control during fail-safe mode operation.

Diagnostic Aids

Inspect for the following conditions:

    • A faulty input shaft speed sensor
    • Faulty electrical circuits between the input shaft speed sensor and the PCM
    • A faulty PCM

The following conditions may cause an intermittent:

    • A reduced connection
    • Rubbed through wire insulation
    • A broken wire inside the insulation

Inspect the PCM harness connectors for the following conditions:

    • Backed out terminals
    • Improper mating
    • Broken locks
    • Improperly formed or damaged terminals
    • Reduced terminal-to-wire connections

If DTC P0715 cannot duplicate, the information included in the Freeze Frame data may be useful in determining the vehicle operating conditions when the DTC set.

Refer to Wiring Repairs in Wiring Systems when repairing any wiring.

DTC Confirmation Procedure

  1. Turn the ignition switch to the LOCK position.
  2. Connect the scan tool to the data link connector (DLC).
  3. Turn the ignition switch ON.
  4. Use the scan tool in order to clear the following items:
  5. • DTC P0715
    • Any pending DTCs
  6. Start the engine.
  7. Shift the transfer case to the 2H position.
  8. Drive the vehicle to at least 40 km/h (25 mph) in Drive (D) range for at least 10 seconds.
  9. Stop the vehicle.
  10. Use the scan tool in order to test for a pending DTC.

Test Description

The numbers below refer to the step numbers on the diagnostic table.

  1. The Powertrain OBD System Check prompts the technician to complete some basic checks and store the freeze frame data on the scan tool if applicable. The scan tool creates an electronic copy of the data taken when the fault occurred. The information then stores in the scan tool for later reference.

  2. This step is to verify that the scan tool can read PCM input information from the Input Speed Sensor.

  3. This step tests for a faulty input shaft speed sensor (See the above figure).

  4. This step tests for an open in the WHT wire.

  5. This step tests for an open in the ORN wire.

  6. This step tests for a faulty PCM.

  7. This step measures the voltage output of the input shaft speed sensor.

Step

Action

Value(s)

Yes

No

1

Was the On-Board Diagnostic (OBD) System Check performed?

--

Go to Step 2

Go to Powertrain On Board Diagnostic (OBD) System Check in Engine Controls - 1.6L or Powertrain On Board Diagnostic (OBD) System Check in Engine Controls - 2.0L

2

  1. Install a scan tool.
  2. Turn the igntion switch to ON, leaving the engine OFF.
  3. Perform the scan tool Clear DTC Information function.
  4. Operate the vehicle with the Freeze Frame conditions as observed.

Does the scan tool display any other DTC in addition to DTC P0715?

--

Go to the applicable DTC table

Go to Step 3

3

  1. Disconnect the input shaft speed sensor electrical connector.
  2. Use J 39200 in order to measure the resistance between the input shaft speed sensor electrical terminals (sensor side).

Is the resistance within the specified range?

387-473 ohms

Go to Step 4

Go to Step 8

4

Use J 39200 in order to measure the resistance between the PCM harness connector C3 terminal 11and the input shaft speed sensor harness connector 2.

Is the resistance less than the specified value?

2 ohms

Go to Step 5

Go to Step 9

5

Use J 39200 in order to measure the resistance between the PCM harness connector C3 terminal 10 and the input shaft speed sensor harness connector 1.

Is the resistance less than the specified value?

2 ohms

Go to Step 6

Go to Step 10

6

  1. Install a known-good PCM.
  2. Reconnect all the connectors.
  3. Perform the DTC Confirmation Procedure.

Does DTC P0715 reset?

--

Go to Step 12

Go to Step 11

7

  1. Reconnect the PCM connector C3.
  2. Raise the vehicle. Refer to Lifting and Jacking the Vehicle in General Information.
  3. Start the engine.
  4. Verify that the driving wheels lift from the ground in order to ensure proper wheel rotation during the test.
  5. Press down the brake pedal.
  6. Shift the manual selector to Drive (D) range.
  7. Accelerate the vehicle to 40 km/h (25 mph).
  8. Use J 39200 on an AC scale in order to measure the voltage between the PCM connector C3 terminal 10 and terminal 11.

Is the voltage within the specified range when the driving wheels rotate during the test?

0.5-2.3 V

Go to Step 13

Go to Step 12

8

Replace the input shaft speed sensor.

Did you complete the repair?

--

Go to Step 14

--

9

Repair the open or the high resistance in the BLU/YEL wire between the input shaft speed sensor and the PCM.

Did you complete the repair?

--

Go to Step 14

--

10

Refer to Diagnostic Aids for additional information about DTC P0715.

Is the action complete?

--

Go to Step 14

--

11

Repair the open or high resistance in the BLU/GRN wire between the input shaft speed sensor and the PCM

Did you complete the repair?

--

Go to Step 14

--

12

Refer to Diagnostic Aids for additional information about DTC P0715.

Is the action complete?

--

Go to Step 14

--

13

  1. Inspect for an improperly installed input shaft speed sensor.
  2. If the installation is OK, then replace the input shaft speed sensor.

Is the action complete?

--

Go to Step 14

--

14

  1. Turn the ignition switch to the LOCK position.
  2. Reconnect all the connector(s).
  3. Perform the DTC Confirmation Procedure.

Does the scan tool display any DTC(s)?

--

Go to the applicable DTC table

System OK