If a tire goes flat, avoid further tire and wheel damage by driving slowly to a level place. Turn on your hazard warning flashers.
Caution: Changing
a tire can be dangerous. The vehicle can slip off the jack and roll over or fall on
you or other people. You and they could be badly injured or even killed. Find a level
place to change your tire. To help prevent the vehicle from moving:
The following steps will tell you how to use the jack and change a tire.
The jacking equipment you will need is stored under the rear seat in the TrailBlazer or in the left rear quarter panel storage compartment in the TrailBlazer EXT. To release the jack from its holder, turn the knob on the jack counterclockwise to lower the jack head. See Rear Seat Operation for more information on accessing the jacking equipment .
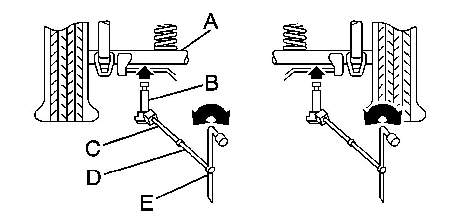
The tools you'll be using include the wheel wrench (A), tire blocks (B), extension(s) (socket end) (C), handle (jack end) (D), and jack (E). The Trailblazer EXT will include an additional extension
The following instructions explain how to remove the spare tire mounted underneath your vehicle.
Notice: If you remove or restow a tire from/to the storage position under the vehicle while it is supported by a jack, you could damage the tire and/or your vehicle. Always remove or restow a tire when the vehicle is on the ground.
If the spare tire does not lower to the ground, the secondary latch is engaged causing the tire not to lower. See "Secondary Latch System" later in this section.
When the tire has been completely lowered, tilt the retainer at the end of the cable and pull it through the wheel opening. Pull the tire out from under the vehicle.
Notice: If you drive away before the spare tire or secondary latch system cable has been reinstalled, you could damage your vehicle. Always reinstall this cable before driving your vehicle.
See "Removing the Flat Tire and Installing the Spare Tire" later in this section to continue changing the flat tire.
Your vehicle has an underbody mounted tire hoist assembly equipped with a secondary latch system. It's designed to stop the spare or flat road tire from suddenly falling off your vehicle if the cable holding the spare tire is damaged. For the secondary latch to work, the tire must be stored with the valve stem pointing up. See "Storing a Flat Tire and Tools" for instructions on storing the spare or flat tire correctly.
Caution: Before beginning this procedure read all the instructions. Failure to read and follow the instructions could damage the hoist assembly and you and others could get hurt. Read and follow the instructions listed next.
Caution: Someone standing too close during the procedure could be injured by the jack. If the spare tire does not slide off the jack completely, make sure no one is behind you or on either side of you as you pull the jack out from under the spare.
To release the spare tire from the secondary latch do the following:
If visible, first try to tighten the cable by turning the wheel wrench clockwise until you hear two clicks or feel it skip twice. You cannot overtighten the cable.
If the spare tire lowers to the ground, continue with Step 2 of "Removing the Spare Tire and Tools" earlier in this section.
Have the hoist assembly inspected as soon as you can. You will not be able to store a spare or flat tire using the hoist assembly until it has been repaired or replaced.
Frame
Jack
Handle
Extension(s)
Wheel Wrench
Caution: Getting under a vehicle when it is jacked up is dangerous. If the vehicle slips off the jack you could be badly injured or killed. Never get under a vehicle when it is supported only by a jack.
Caution: Raising your vehicle with the jack improperly positioned can damage the vehicle and even make the vehicle fall. To help avoid personal injury and vehicle damage, be sure to fit the jack lift head into the proper location before raising the vehicle.
Remove any rust or dirt from the wheel bolts, mounting surfaces and spare wheel.
Caution: Rust or dirt on a wheel or other parts to which it is fastened, can make the wheel nuts become loose and eventually the wheel could come off and cause a crash. Always remove all rust and dirt from wheels and other parts.
Caution: Never use oil or grease on bolts or nuts because the nuts might come loose. The vehicle's wheel could fall off, causing a crash.
Use the wrench to tighten the wheel nuts firmly in a crisscross sequence as shown.
Caution: Incorrect wheel nuts or improperly tightened wheel nuts can cause the wheel to become loose and even come off. This could lead to an accident. Be sure to use the correct wheel nuts. If you have to replace them, be sure to get new GM original equipment wheel nuts. Stop somewhere as soon as you can and have the nuts tightened with a torque wrench to 100 lb-ft (140 N·m).
Notice: Improperly tightened wheel nuts can lead to brake pulsation and rotor damage. To avoid expensive brake repairs, evenly tighten the wheel nuts in the proper sequence and to the proper torque specification. See Capacities and Specifications for the wheel nut torque specification.
Caution: Storing a jack, a tire, or other equipment in the passenger compartment of the vehicle could cause injury. In a sudden stop or collision, loose equipment could strike someone. Store all these in the proper place.
Caution: The underbody-mounted spare tire needs to be stored with the valve stem pointing up. If the spare tire is stored with the valve stem pointing downward, its secondary latch will not work properly and the spare tire could loosen and suddenly fall from your vehicle. If this happened when your vehicle was being driven, the tire might contact a person or another vehicle, causing injury and, of course, damage to itself as well. Be sure the underbody-mounted spare tire is stored with its valve stem pointing up.
Notice: An aluminum wheel with a flat tire should always be stored under the vehicle with the hoist. However, storing it that way for an extended period could damage the wheel. To avoid this, always stow the wheel properly with the valve stem pointing up and have the wheel repaired as soon as possible.
Follow this diagram to store the underbody-mounted spare.
Wheel Wrench
Hoist Shaft
Extension(s)
Retainer
Spare or Flat Tire (Valve Stem Pointed Up)
Return the jack, wheel wrench and wheel blocks to the proper location in the vehicle. Roll up the instruction label and return it to the slot in the tool kit.
Handle
Wheel Wrench
Extension(s)
Wheel Blocks and Jack
Instruction Label