GM Service Manual Online
For 1990-2009 cars only

Rear Window Wiper Motor Replacement TrailBlazer, Envoy

Removal Procedure


    Object Number: 632378  Size: SH
  1. Remove the wiper arm. Refer to Rear Window Wiper Arm Replacement .
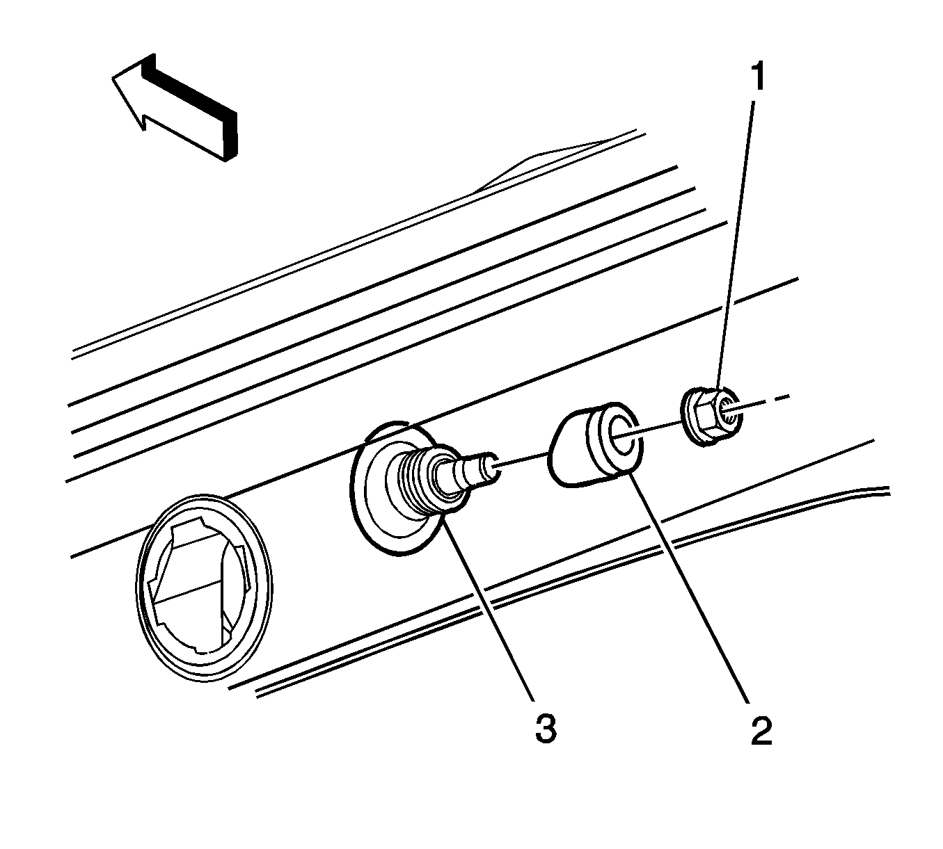
  2. Remove the nut and spacer from the wiper motor shaft.
  3. Remove the interior trim panel from the lift gate. Refer to Liftgate Trim Panel Replacement in Body Rear End.
  4. Disconnect the wiper motor electrical connector.
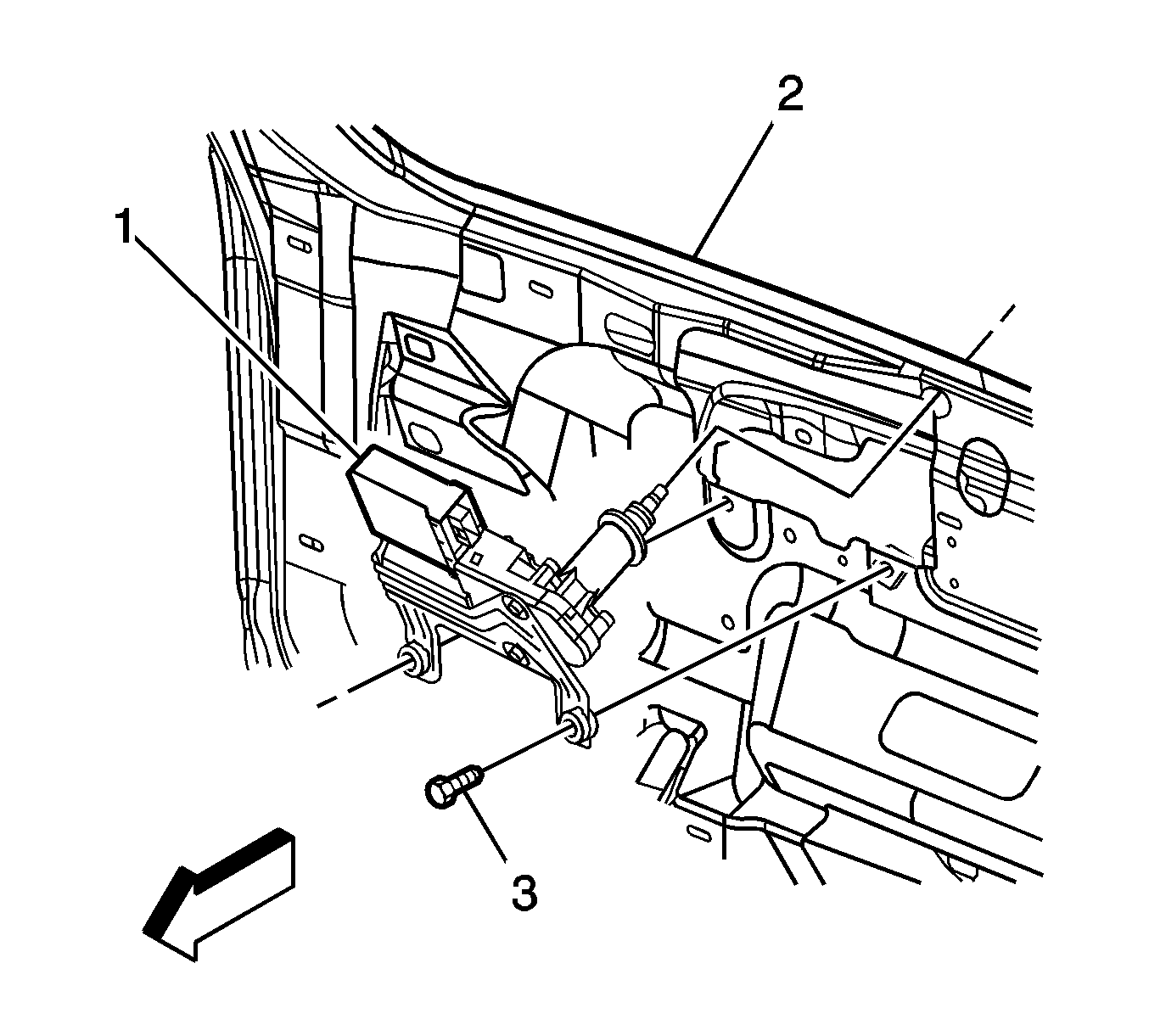
  5. Remove the 2 bolts retaining the wiper motor to the lift gate.
  6. Remove the wiper motor.

Installation Procedure


    Object Number: 632378  Size: SH
  1. Install the wiper motor.
  2. Notice: Refer to Fastener Notice in the Preface section.

  3. Install the 2 bolts retaining the motor to the lift gate.
  4. Tighten
    Tighten the bolts to 8 N·m (71 lb in).

  5. Connect the wiper motor electrical connector.
  6. Install the interior trim panel to the lift gate. Refer to Liftgate Trim Panel Replacement in Body Rear End.
  7. Install the spacer and the nut on the wiper motor drive shaft.
  8. Tighten
    Tighten the nut to 8 N·m (71 lb in).

  9. Install the wiper arm. Refer to Rear Window Wiper Arm Replacement .

Rear Window Wiper Motor Replacement XUV

Removal Procedure


    Object Number: 1316864  Size: SH
  1. Remove the wiper arm (3). Refer to Rear Window Wiper Arm Replacement .

  2. Object Number: 1316861  Size: SH
  3. Remove the weatherseal (2) from the wiper motor pivot shaft (3).
  4. Remove the interior trim panel from the endgate. Refer to Endgate Trim Panel Replacement in Body Rear End.
  5. Remove the rear endgate window. Refer to Endgate Window Replacement in Body Rear End.
  6. Disconnect the wiper motor electrical connector.

  7. Object Number: 1316869  Size: SH
  8. Remove the bolts (2) and the nuts (1, 3) retaining the wiper motor (4) to the endgate.

  9. Object Number: 1316866  Size: SH
  10. Remove the wiper motor assembly (5) from the endgate.

Installation Procedure


    Object Number: 1316854  Size: SH
  1. Install the wiper motor (1) to the endgate (2).
  2. Notice: Refer to Fastener Notice in the Preface section.

  3. Install the 2 bolts retaining the motor to the endgate.
  4. Tighten
    Tighten the bolts to 8 N·m (71 lb in).

  5. Install the nuts.
  6. Tighten
    Tighten the nuts to 8 N·m (71 lb in).

  7. Connect the wiper motor electrical connector.
  8. Install the rear endgate window. Refer to Endgate Window Replacement in Body Rear End.
  9. Install the interior trim panel to the endgate. Refer to Endgate Trim Panel Replacement in Body Rear End.

  10. Object Number: 1316861  Size: SH
  11. Install the spacer (2) on the wiper motor pivot shaft (3).

  12. Object Number: 1316864  Size: SH
  13. Install the wiper arm (3). Refer to Rear Window Wiper Arm Replacement .
  14. Inspect the rear wiper system.