GM Service Manual Online
For 1990-2009 cars only
Figure 1:

Forward Lamp Harness Routing


Object Number: 1549245  Size: LF
(1)C105
(2)Fuse Block - Underhood C4
(3)Park/Turn Signal Lamp - LF
(4)C102
(5)Horn Assembly
(6)C118
(7)Windshield Washer Fluid Level Switch (U68)
(8)Headlamp Washer Fluid Pump (CE4)
(9)Windshield Washer Fluid Pump
(10)A/C Low Pressure Switch
(11)S104 (W49)
(12)S103
(13)G103
(14)Park/Turn Signal Lamp - RF
(15)Marker Lamp -RF
(16)Cornering Lamp - Right
(17)Fog Lamp - RF
(18)C103
(19)Rear Window Washer Fluid Pump (CD6)
(20)S113
(21)Ambient Air Temperature Sensor (CJ3)
(22)S107
(23)Fog Lamp - LF
(24)S106 (W49)
(25)Cornering Lamp - Left
(26)Marker Lamp - LF
Figure 2:

Cooling Fan Tether Harness Routing


Object Number: 1547958  Size: LF
(1)Cooling Fan
(2)C118
Figure 3:

Engine Harness Routing - Left Front (4.2L)


Object Number: 1549246  Size: LF
(1)Engine Coolant Temperature (ECT) Sensor
(2)Evaporative Emission (EVAP) Canister Purge Solenoid
(3)Powertrain Control Module (PCM) C3
(4)Throttle Body
(5)Manifold Absolute Pressure (MAP) Sensor
(6)Powertrain Control Module (PCM) C2
(7)C100
(8)Starter
(9)Fuse Block - Underhood C1
(10)S110
(11)Knock Sensor (KS) 2 - Rear
(12)Crankshaft Position (CKP) Sensor
(13)G109
(14)G101
(15)G110
(16)A/C Compressor Clutch Assembly
(17)A/C Refrigerant Pressure Sensor
(18)Knock Sensor (KS) 1 - Front
(19)G107
(20)Generator
Figure 4:

Engine Harness Routing - Right Rear (4.2L)


Object Number: 1549247  Size: LF
(1)Park/Neutral Position (PNP) Switch
(2)Heated Oxygen Sensor (HO2S) 2
(3)C104
(4)Ignition Coil 5
(5)Ignition Coil 4
(6)Ignition Coil 3
(7)Ignition Coil 2
(8)Ignition Coil 1
(9)Camshaft Actuator Solenoid Assembly
(10)Camshaft Position (CMP) Sensor
(11)Engine Oil Pressure (EOP) Switch
(12)Heated Oxygen Sensor (HO2S) 1
(13)Secondary Air Injection (AIR) Solenoid (K18)
(14)Intake Air temperature (IAT) Sensor
(15)Ignition Coil 6
(16)C175
(17)Vehicle Speed Sensor (2WD)/C310 (4WD)
Figure 5:

Fuel Injector Harness Routing (4.2L)


Object Number: 1549248  Size: MF
(1)C104
(2)Fuel Injector 6
(3)Fuel Injector 5
(4)Fuel Injector 4
(5)Fuel Injector 3
(6)Fuel Injector 2
(7)Fuel Injector 1
Figure 6:

Engine Harness Routing - Left Rear (5.3L)


Object Number: 1549249  Size: LF
(1)Generator
(2)S112 (DoD)
(3)Evaporative Emission (EVAP) Canister Purge Solenoid
(4)C109
(5)Fuel Injector 3
(6)Fuel Injector 5
(7)Fuel Injector 7
(8)Engine Oil Pressure (EOP) Sensor
(9)Valve Lifter Oil Manifold (VLOM) Assembly (DoD)
(10)Heated Oxygen Sensor (HO2S) Bank 2 Sensor 2
(11)Heated Oxygen Sensor (HO2S) Bank 1 Sensor 1
(12)Vehicle Speed Sensor (VSS) (2WD)/C310 (4WD)
(13)Heated Oxygen Sensor (HO2S) Bank 1 Sensor 2
(14)Park/Neutral Position (PNP) Switch
(15)G109
(16)Knock Sensor (KS) 1 - Left
(17)G107
(18)C107
(19)G108
(20)Engine Coolant Temperature (ECT) Sensor
(21)Engine Control Module (ECM) C1
(22)Engine Control Module (ECM) C2
(23)Engine Control Module (ECM) C3
(24)Fuse Block - Underhood C1
(25)S100
(26)Brake Booster Vacuum Sensor (DoD)
(27)Fuel Injector 1
Figure 7:

Engine Harness Routing - Right Front (5.3L)


Object Number: 1549250  Size: LF
(1)Heated Oxygen Sensor (HO2S) Bank 2 Sensor 1
(2)Fuel Injector 8
(3)C108
(4)Fuel Injector 6
(5)S102
(6)Fuel Injector 4
(7)Fuel Injector 2
(8)Manifold Absolute Pressure (MAP) Sensor
(9)S105
(10)S101
(11)Transmission Control Module (TCM)
(12)Throttle Body
(13)C110
(14)A/C Compressor Clutch Assembly
(15)A/C Refrigerant Pressure Sensor
(16)Knock Sensor (KS) 2 - Right
(17)Starter
(18)Crankshaft Position (CKP) Sensor
(19)Mass Air Flow (MAF)/Intake Air Temperature (IAT) Sensor
(20)C175
Figure 8:

Camshaft Position Sensor Harness Routing (5.3L)


Object Number: 1549251  Size: LF
(1)Camshaft Position (CMP) Sensor
(2)C110
Figure 9:

Ignition Coil Harness Routing


Object Number: 1549252  Size: MF
(1)Ignition Coil 1
(2)Ignition Coil 3
(3)C109
(4)Ignition Coil 2
(5)Ignition Coil 5
(6)Ignition Coil 4
(7)C108
(8)Ignition Coil 6
(9)Ignition Coil 7
(10)Ignition Coil 8
Figure 10:

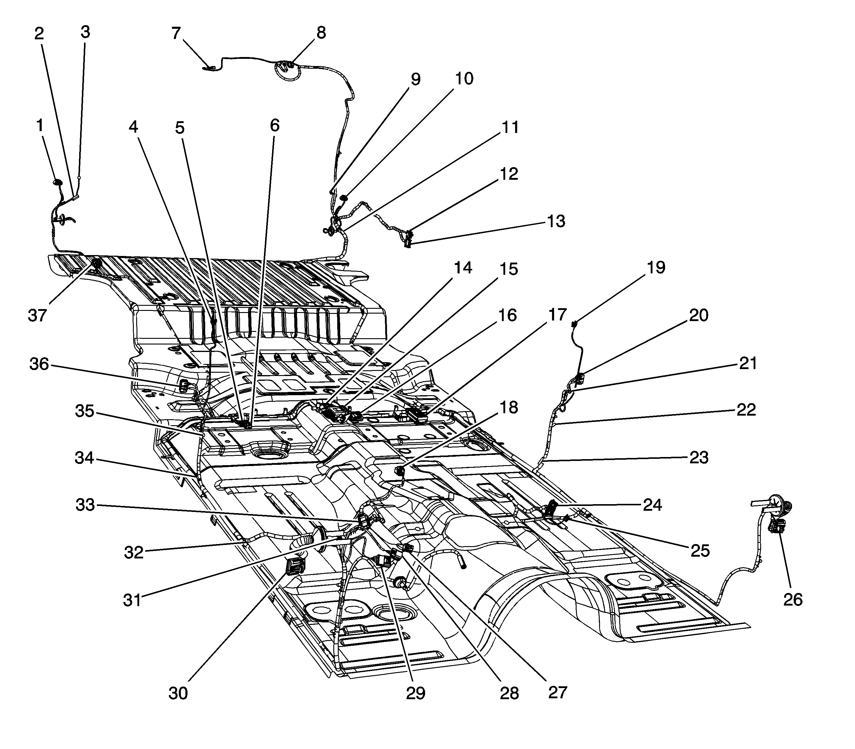
Chassis Harness Routing (Short Wheel Base)


Object Number: 1549262  Size: LF
(1)Electronic Frontal Sensor (EFS) - Right
(2)Front Axle Actuator (NP8)
(3)Wheel Speed Sensor - RF
(4)Electronic Brake Control Module (EBCM) C1
(5)Electronic Brake Control Module (EBCM) C2
(6)Secondary Air Injection (AIR) Pump (4.2L w/K18)
(7)C310 (4WD)
(8)Vehicle Speed Sensor (VSS) (4WD)
(9)S306
(10)Fuel Pump and Sender Assembly
(11)Evaporative Emission (EVAP) Canister Vent Solenoid
(12)Air Suspension Sensor - RR (G67)
(13)Air Suspension Compressor Assembly C1 (G67)
(14)Backup Lamp - Right (Z88)
(15)Backup Lamp - Left (Z88)
(16)S408 (Z88)
(17)G403
(18)Air Suspension Sensor - LR (G67)
(19)Fuel Tank Pressure (FTP) Sensor
(20)S359 (5.3L)
(21)G305
(22)Propshaft Speed Sensor - Rear
(23)Transfer Case Encoder Motor (4WD)
(24)Propshaft Speed Sensor - Front
(25)Secondary Air Injection (AIR) Pump Relay (4.2L w/K18)
(26)G304
(27)Wheel Speed Sensor - LF
(28)C101
(29)Fuse Block - Underhood C3
(30)Fuse Block - Underhood C7
(31)Electronic Frontal Sensor (EFS) - Left
Figure 11:

Chassis Harness Routing (Long Wheel Base)


Object Number: 1549263  Size: LF
(1)Electronic Frontal Sensor (EFS) - Right
(2)Front Axle Actuator (NP8)
(3)Wheel Speed Sensor - RF
(4)C310 (4WD)
(5)Propshaft Speed Sensor - Front
(6)Propshaft Speed Sensor - Rear
(7)Vehicle Speed Sensor (VSS) (4WD)
(8)Fuel Pump and Sender Assembly
(9)Air Suspension Sensor - RR (G67)
(10)S408 (Z88)
(11)Backup Lamp - Right (Z88)
(12)Backup Lamp - Left (Z88)
(13)Trailer Connector
(14)Air Suspension Compressor Assembly C1 (G67)
(15)G403
(16)Air Suspension Sensor - LR (G67)
(17)Fuel Tank Pressure (FTP) Sensor
(18)S306
(19)S359 (5.3L)
(20)G305
(21)Transfer Case Encoder Motor (4WD)
(22)Electronic Brake Control Module (EBCM) C2
(23)Electronic Brake Control Module (EBCM) C1
(24)G304
(25)Wheel Speed Sensor - LF
(26)Brake Fluid Level Switch
(27)C101
(28)Fuse Block - Underhood C3
(29)Fuse Block - Underhood C7
(30)Electronic Frontal Sensor (EFS) - Left
Figure 12:

I/P Harness Routing - Engine Compartment


Object Number: 1549264  Size: LF
(1)C101
(2)G104
(3)G105
(4)G102
(5)C107 (5.3L)
(6)C105
(7)Fuse Block - Underhood C2
(8)S117
(9)C100
(10)Powertrain Control Module (PCM) C1 (4.2L)
Figure 13:

I/P Harness Routing - Rear of the I/P


Object Number: 1549265  Size: MF
(1)Speaker - RF I/P (UQA)
(2)Recirculation Actuator
(3)S216
(4)Radio C2
(5)Radio C1
(6)Ambient Light Sensor (CJ3)/Ambient Light/Sunload Sensor Assembly (CJ2)
(7)Mode Actuator
(8)Air Temperature Sensor - Lower Left (CJ2)
(9)Defrost Actuator
(10)Windsheild Wiper motor
(11)Speaker - LF I/P (UQA)
(12)C225 (JF4)
(13)Turn Signal/Hazard Flasher Module
(14)Stop Lamp Switch
(15)Accelerator Pedal Position (APP) Sensor
(16)S239
(17)S202
(18)S217
(19)Air Temperature Actuator - Right
(20)Splice Pack SP205
(21)S211
(22)S230
(23)Air Temperature Sensor - Lower Right (CJ2)
(24)Splice Pack SP201
(25)Air Temperature Actuator - Right
(26)S271 (CJ2)
(27)Blower Motor Resistor Assembly (CJ3)/Blower Motor Control Module (CJ2)
(28)S250 (CJ3)
(29)S201 (CJ3)
(30)Inflatable Restraint I/P Module
Figure 14:

I/P Harness Routing - Front of the I/P


Object Number: 1549267  Size: MF
(1)Instrument Panel Cluster
(2)Transfer Case Shift Control Switch (NP8)
(3)Air Temperature Sensor - Upper Left (CJ2)
(4)HVAC Control Module C2
(5)Air Temperature Sensor - Upper Right (CJ2)
(6)HVAC Control Module C1
(7)C221 (U42/U2K)
(8)C202
(9)C203 (ASF)
(10)Auxiliary Power Outlet - Front
(11)Cigar Lighter
(12)C307
(13)Inflatable Restraint Sensing and Diagnostic Module (SDM)
(14)S220
(15)Rollover Sensor
(16)C304
(17)Fuse Block - Rear C1
(18)Body Control Module (BCM) C1
(19)Body Control Module (BCM) C2
(20)S203
(21)S320
(22)Rear Window Wiper/Washer Switch (CD6)
(23)C201
(24)C275
(25)Data Link Connector (DLC)
(26)Transfer Case Shift Control Module C2 (4WD)
(27)Transfer Case Shift Control Module C3 (4WD)
(28)Headlamp Switch C1
(29)Headlamp Switch C2
Figure 15:

Infotainment Jumper Harness Routing (U42/U2K)


Object Number: 1549268  Size: LF
(1)Digital Radio Receiver (U2K)
(2)C221 (U42/U2K)
(3)C220 (U42)
Figure 16:

Steering Wheel Harness Routing (STW)


Object Number: 1549269  Size: LF
(1)Steering Wheel Control Switch Assembly - Upper Left
(2)C277
(3)Steering Wheel Control Switch Assembly - Upper Right
(4)Steering Wheel Control Switch Assembly - Lower Right
(5)Steering Wheel Control Switch Assembly - Lower Left
Figure 17:

Electronic Adjustable Pedals Harness Routing (JF4)


Object Number: 1545399  Size: MF
(1)Electronic Adjustable Pedals (EAP) Relay
(2)C225
(3)Electronic Adjustable Pedals (EAP) Assembly
Figure 18:

Body Harness Routing (Short Wheel Base)


Object Number: 1549270  Size: LF
(1)Splice Pack SP306
(2)S374 (BAE)
(3)S362 (BAE)
(4)Center High Mounted Stop Lamp (CHMSL)
(5)C900
(6)S401
(7)G401
(8)Tail Lamp Circuit Board - Left
(9)C304
(10)Inflatable Restraint Roof Rail Module - Left
(11)Fuse Block - Rear C2
(12)C700
(13)Air Temperature Sensor Assembly - Inside (CJ2)
(14)G302
(15)S302
(16)C317
(17)C500
(18)C311
(19)C306
(20)C314
(21)C318
(22)C203 (ASF)
(23)C202
(24)C220 (U42)
(25)C600
(26)S310
(27)S303
(28)G303
(29)C800
(30)Vehicle Communication Interface Module (VCIM) (UE1) C1
(31)Vehicle Communication Interface Module (VCIM) (UE1) C2
(32)Inflatable Restraint Roof Rail Module - Right
(33)S402
(34)Audio Amplifier (UQA) C2
(35)Audio Amplifier (UQA) C1
(36)Tail Lamp Circuit Board - Right
(37)G402
Figure 19:

Body Harness Routing (Long Wheel Base)


Object Number: 1549273  Size: LF
(1)Tail Lamp Circuit Board - Right
(2)S402
(3)G402
(4)Inflatable Restraint Roof Rail Module - Right
(5)Vehicle Communication Interface Module (VCIM) (UE1) C1
(6)Vehicle Communication Interface Module (VCIM) (UE1) C2
(7)Center High Mounted Stop Lamp (CHMSL)
(8)C900
(9)G401
(10)Tail Lamp Circuit Board - Left
(11)S401
(12)Audio Amplifier (UQA) C1
(13)Audio Amplifier (UQA) C2
(14)Splice Pack SP 306
(15)C304
(16)C306
(17)Fuse Block - Rear C2
(18)C309
(19)Inflatable Restraint Roof Rail Module - Left
(20)C700
(21)Air Temperature Sensor Assembly - Inside (CJ2)
(22)G302
(23)S302
(24)C311
(25)C317
(26)C500
(27)C202
(28)C203
(29)C220 (U42)
(30)C600
(31)C318
(32)S310
(33)C314
(34)S303
(35)G303
(36)C800
(37)C401
Figure 20:

Headliner Harness Routing (Short Wheel Base)


Object Number: 1549275  Size: LF
(1)Cargo Lamp
(2)C308 (CF5)
(3)Courtesy/Reading Lamp - Center
(4)S390
(5)S331
(6)C305
(7)S322
(8)Vanity Mirror Lamp - Right (DH2)
(9)Ouside Moisture Sensor (CE1)
(10)Inside Rearview Mirror
(11)Vanity Mirror Lamp - Left (DH2)
(12)S312
(13)C306
(14)Fuse Block - Rear C3
Figure 21:

Headliner Harness Routing (Long Wheel Base)


Object Number: 1549276  Size: LF
(1)Cargo Lamp (Except XUV)
(2)Quarterglass Actuator - Right (A34)
(3)Courtesy/Reading Lamp (3rd Row) - Right (Except XUV)
(4)S312
(5)Courtesy/Reading Lamp (3rd Row) - Center
(6)S390
(7)S331
(8)C305
(9)S322
(10)Vanity Mirror Lamp - Right (DH2)
(11)Outside Moisture Sensor (CE1)
(12)Inside Rearview Mirror
(13)Vanity Mirror Lamp - Left (DH2)
(14)C306
(15)Fuse Block - Rear C3
(16)C308 (CF5)
(17)G306
(18)Courtesy/Reading Lamp (3rd Row) - Left (Except XUV)
(19)Quarterglass Actuator - Left (A34)
(20)S350 (Except XUV)
(21)S391 (Except XUV)
(22)S333 (Except XUV)
Figure 22:

Seat Belt Pretensioner Harness Routing - Left


Object Number: 1549277  Size: LF
(1)Seat Belt Pretensioner - Left
(2)C317
Figure 23:

Seat Belt Pretensioner Harness Routing - Right


Object Number: 1549280  Size: LF
(1)Seat Belt Pretensioner - Right
(2)C318
Figure 24:

Floor Console Harness Routing (Z88, X88, Z89 w/CJ3)


Object Number: 1549283  Size: LF
(1)Auxiliary Power Outlet - Console
(2)HVAC Control Module - Auxiliary
(3)S307
(4)C307
(5)Mode Actuator - Auxiliary (Long Wheel Base Except XUV)
Figure 25:

Floor Console Harness Routing (Z88, X88, Z89 w/CJ2)


Object Number: 1549283  Size: LF
(1)HVAC Control Module - Auxiliary
(2)Auxiliary Power Outlet - Console
(3)S324 (Long Wheel Base Except XUV)
(4)Blower Motor Switch - Front Auxiliary
(5)S323 (Long Wheel Base Except XUV)
(6)C307
(7)C309 (Long Wheel Base Except XUV)
(8)S307
(9)S325 (Long Wheel Base Except XUV)
(10)Console Mode Actuator - Auxiliary
(11)S326 (Long Wheel Base Except XUV)
Figure 26:

Floor Console Harness Routing (W49)


Object Number: 1549285  Size: LF
(1)HVAC Control Module - Auxiliary
(2)Auxiliary Power Outlet - Console
(3)Traction Control Switch (NW7)
(4)C307
(5)C303 (NW7)
(6)Mode Actuator - Auxiliary
(7)S307
(8)Inverting Driver Module (NW7)
Figure 27:

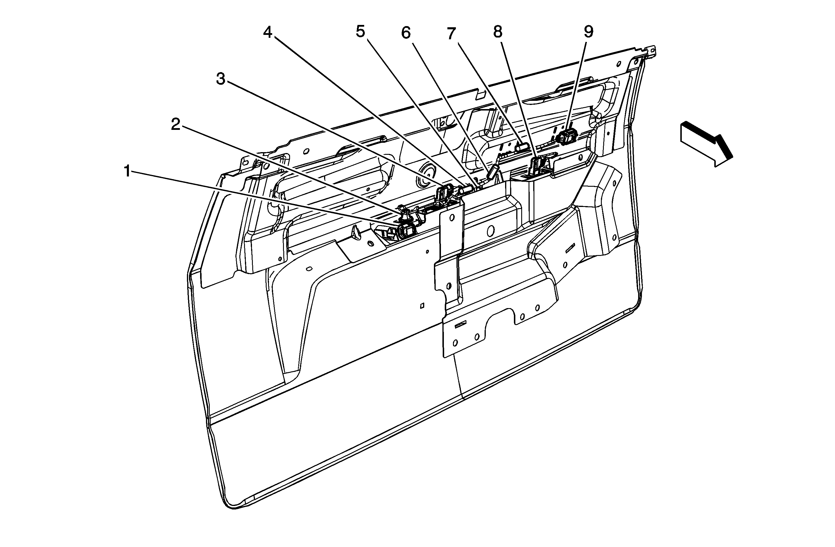
Left Front Door Harness Routing


Object Number: 1549286  Size: LF
(1)C500
(2)Driver Door Module (DDM) C2
(3)Door Latch Assembly - Driver C1
(4)Door Latch Assembly - Driver C3
(5)Door Latch Assembly - Driver C2
(6)Inflatable Restraint Side Impact Sensor (SIS) - Left (ASF)
(7)Window Motor - Driver
Figure 28:

Right Front Door Harness Routing


Object Number: 1549288  Size: LF
(1)Door Latch Assembly - Passenger C1
(2)Door Latch Assembly - Passenger C2
(3)Inflatable Restraint Side Impact Sensor (SIS) - Right (ASF)
(4)Window Motor - Front Passenger
(5)Front Passenger Door Module (FPDM) C1
(6)C600
Figure 29:

Left Rear Door Harness Routing


Object Number: 1549290  Size: LF
(1)C700
(2)Window Switch - LR
(3)Door Latch Assembly - LR C1
(4)Door Latch Assembly - LR C2
(5)Speaker - LR Door
(6)Window Motor - LR
Figure 30:

Right Rear Door Harness Routing


Object Number: 1549291  Size: LF
(1)Door Latch Assembly - RR C1
(2)Window Switch - RR
(3)Window Motor - RR
(4)C800
(5)Speaker - RR Door
(6)Door Latch Assembly - RR C2
Figure 31:

Midgate Harness Routing (XUV)


Object Number: 1549300  Size: LF
(1)Midgate Glass Motor
(2)Midgate Latch - Left
(3)Midgate Latch Release Switch
(4)S357
(5)C320
(6)S356
(7)S355
(8)Diode Assembly
(9)Glass Full Down Switch
Figure 32:

Power Roof Harness Routing (XUV)


Object Number: 1549302  Size: LF
(1)Power Roof Module C1
(2)Power Roof Module C2
(3)Power Roof Motor
(4)C321
(5)C322
Figure 33:

Rear HVAC Module Harness Routing (Long Wheel Base Except XUV)


Object Number: 1549303  Size: LF
(1)Mode Actuator - Auxiliary
(2)Blower Motor - Auxiliary
(3)Air Temperature Actuator - Auxiliary
(4)C401
(5)Blower Motor Fuse - Auxiliary
Figure 34:

Liftgate Harness Routing (Except XUV)


Object Number: 1549306  Size: LF
(1)Rear Window Wiper Motor (CD6)
(2)C905 (C49)
(3)Liftglass Ajar Switch
(4)C902 (Y92)
(5)C900
(6)C904 (C49)
(7)S901
(8)Liftgate Module (LGM) C3
(9)Liftgate Module (LGM) C2
(10)Liftgate Module (LGM) C1
(11)C901
(12)Liftgate Latch Assembly C2
(13)Liftgate Latch Assembly C1
(14)Cargo Lamp
Figure 35:

Endgate Harness Routing (XUV)


Object Number: 1549308  Size: LF
(1)C901
(2)Center High Mounted Stop Lamp (CHMSL)
(3)Rear Window Wiper Motor (CD6)
(4)Endgate Window Regulator
(5)Endgate Actuator - Upper Right
(6)C900
(7)S905 (C49)
(8)Rear Window Defogger Grid C2 (C49)
(9)S910
(10)S911
(11)S913
(12)S912
(13)Rear Window Defogger Grid C1 (C49)
(14)Endgate Actuator - Lower Left
(15)S904 (C49)
(16)Endgate Latch Relay
(17)S914
(18)Endgate Actuator - Upper Left
Figure 36:

Rear Defogger Harness Routing (Except XUV w/C49)


Object Number: 1549309  Size: MF
(1)Rear Window Defogger Grid C1
(2)C905
(3)C904
(4)Rear Window Defogger Grid C2
Figure 37:

License Lamp Harness Routing (Except XUV)


Object Number: 1549312  Size: LF
(1)License Lamp - Right
(2)S902
(3)S909
(4)License Lamp - Left
(5) C901
Figure 38:

License Lamp Harness Routing (XUV)


Object Number: 1549313  Size: MF
(1)Endgate Key Cylinder
(2)License Lamp - Right
(3)Endgate Drop Handle Switch
(4)S902
(5)License Lamp - Left
(6)S915
(7)S909
(8)Endgate Swing Handle Switch
(9)C901