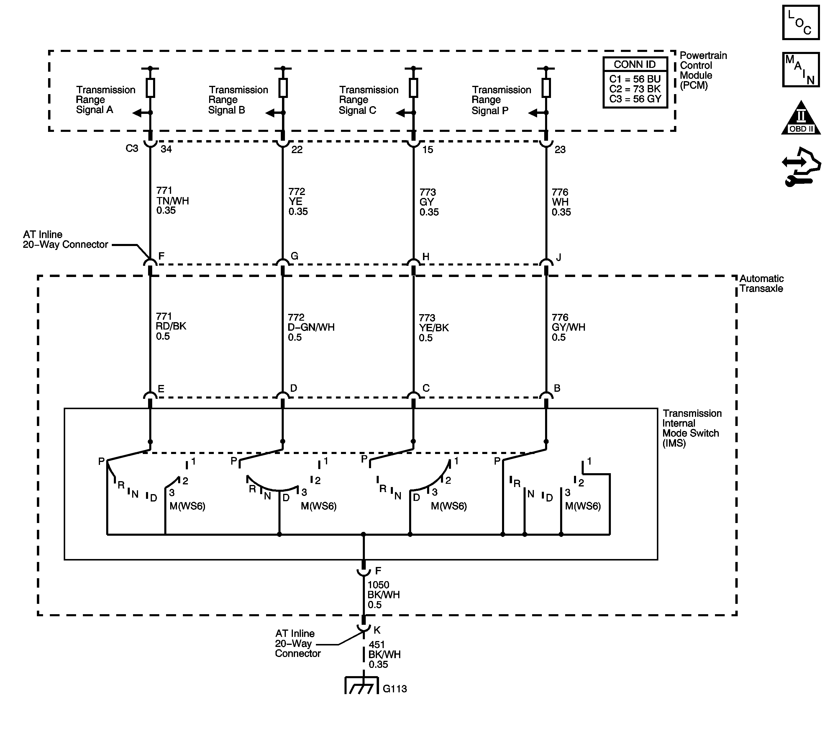
The transmission internal mode switch (IMS) is a sliding contact switch attached to the selector detent inside the transmission side cover. The four inputs to the PCM indicate the position of the transmission range selector. The input voltage level at the PCM is high, B+, when the IMS is open and low when the switch is closed to ground. The four input parameters represented are Signals A, B, C and P - Parity. Refer to Transmission Internal Mode Switch Logic .
If the PCM detects that IMS Signal P is always low, then DTC P1823 sets. DTC P1823 is a type C DTC.
This diagnostic procedure supports the following DTC:
DTC P1823 Internal Mode Switch P Circuit Low Voltage
| • | No MAP DTC P0107 or P0108. |
| • | The engine speed is greater than 500 RPM for 5 seconds and not in fuel cut off. |
| • | Engine torque is 55-407 N·m (40-300 lb ft). |
The IMS Signal P is continuously low this ignition cycle, and the following conditions occur:
| • | The IMS indicates PARK for 2 seconds, then; |
| • | The IMS indicates transitional position N-D4 for 60 seconds. |
| • | The PCM does not illuminate the malfunction indicator lamp (MIL). |
| • | The PCM commands maximum line pressure. |
| • | The PCM freezes transmission adaptive functions. |
| • | The PCM assumes D4 for shifting. |
| • | The PCM records the operating conditions when the Conditions for Setting the DTC are met. The PCM stores this information as Failure Records. |
| • | The PCM stores DTC P1823 in PCM history. |
| • | A scan tool can clear the DTC. |
| • | The PCM clears the DTC from PCM history if the vehicle completes 40 warm-up cycles without a non-emission-related diagnostic fault occurring. |
| • | The PCM cancels the DTC default actions when the ignition switch is OFF long enough in order to power down the PCM. |
The numbers below refer to the step numbers on the diagnostic table.
A LOW signal indicates a short to ground in the vehicle harness or the PCM.
This step tests the internal transmission harness without the IMS connected.
Step | Action | Value(s) | Yes | No |
|---|---|---|---|---|
1 | Did you perform the Diagnostic System Check-Vehicle? | -- | Go to Step 2 | Go to Diagnostic System Check - Vehicle in Vehicle DTC Information |
2 |
Important: Before clearing the DTC, use the scan tool in order to record the Failure Records. Using the Clear DTC Information function erases the Failure Records from the PCM. Does the scan tool IMS parameter indicate Drive 4? | -- | Go to Intermittent Conditions in Engine Controls - 3.5L (LX9) | Go to Step 3 |
Does IMS signal P indicate LOW? | -- | Go to Step 4 | Go to Step 5 | |
4 | Test the TR signal P circuit of the IMS for a short to ground between the PCM and the AT Inline 20-way connector. Refer to Testing for Short to Ground and Wiring Repairs in Wiring Systems. Did you find and correct the condition? | -- | Go to Step 9 | Go to Step 8 |
Does IMS signal P indicate LOW? | -- | Go to Step 6 | Go to Step 7 | |
6 | Replace the automatic transmission wiring harness assembly. Refer to Wiring Harness Replacement . Did you complete the replacement? | -- | Go to Step 9 | -- |
7 | Replace the lever assembly-manual shaft detent with internal mode switch. Refer to Manual Shift Detent Lever with Shaft Position Switch Assembly Removal in Transmission Unit Repair Manual. Did you complete the replacement? | -- | Go to Step 9 | -- |
8 | Replace the PCM. Refer to Control Module References in Computer/Integrating Systems for replacement, set-up and programming. Did you complete the replacement? | -- | Go to Step 9 | -- |
9 | Perform the following procedure in order to verify the repair:
Has the test run and passed? | -- | Go to Step 10 | Go to Step 2 |
10 | With a scan tool, observe the stored information, capture info and DTC info. Does the scan tool display any DTCs that you have not diagnosed? | -- | Go to Diagnostic Trouble Code (DTC) List - Vehicle in Vehicle DTC Information | System OK |