GM Service Manual Online
For 1990-2009 cars only

Object Number: 1505483  Size: B4

The tools needed to remove the spare tire are located in the storage compartment at the rear of the vehicle, on the passenger's side.

To remove the tools:

  1. Open the liftgate. See Liftgate for more information.
  2. Remove the convenience net, if the vehicle has one.
  3. Open the jack storage compartment by lifting the tab and pulling the cover off.

    1. Object Number: 1757559  Size: B3

      Jack

      Strap

      Bracket

      Wing Nut

      Bag and Tools

  4. Remove the jack (A) and jacking tools (E) by loosening and then removing the wing nut (D) and bracket (C).
  5. Separate the plastic pouch from the jack and remove the jacking tools, including the folding wrench and extension, from the pouch.

Object Number: 808634  Size: B3

The tools you will be using include the jack (A), extension (B), and folding wrench (C).

The compact spare tire is located under the rear of the vehicle. See Compact Spare Tire for more information about the compact spare.

To remove the compact spare tire:


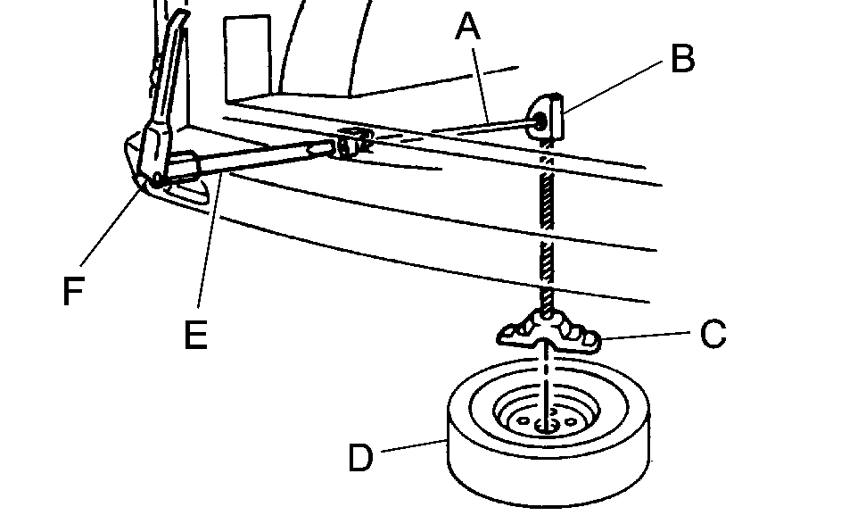
Object Number: 808423  Size: B3
  1. Hoist Shaft

  2. Hoist Assembly

  3. Retainer

  4. Compact Spare Tire

  5. Extension (Chisel End)

  6. Folding Wrench

  1. Attach the folding wrench (F) to the extension (E) and insert the chisel end on an angle through the hole in the rear bumper and into the hoist shaft (A).
  2. Turn the folding wrench counterclockwise to lower the compact spare tire (D) to the ground. Continue to turn the wrench so the compact spare tire can be pulled out from under the vehicle.

  3. Object Number: 1306942  Size: B3
  4. Tilt the retainer at the end of the cable to remove the compact spare tire, so it can be pulled up through the wheel opening.
  5. The hoist is used to store a full-size or a flat road tire under the vehicle. See Storing a Flat or Spare Tire and Tools for more information.

  6. Remove the compact spare tire from the cable.

If the compact spare tire will not lower, check under the vehicle to see if the tire is hanging loose and the cable end and spring under the wheel plate are missing. If so, the secondary latch system is engaged. See Secondary Latch System .

To continue changing the flat tire, see Removing the Flat Tire and Installing the Spare Tire .