GM Service Manual Online
For 1990-2009 cars only

Tool Required

J 37088-A Fuel Line Disconnect Tool Set

Removal Procedure


    Object Number: 1555554  Size: SH
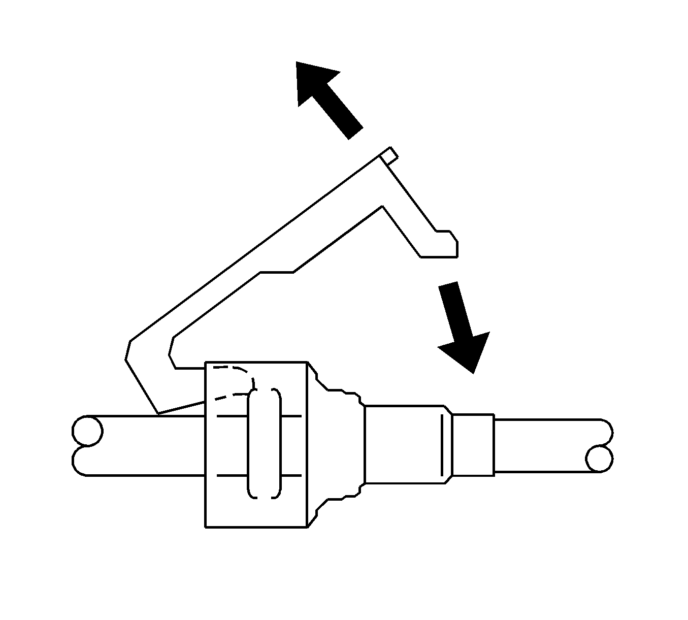
  1. Relieve the fuel system pressure. Refer to the Fuel Pressure Relief .
  2. Remove the retainer from the fuel feed quick-connect fitting.

  3. Object Number: 12776  Size: SH

    Caution: Wear safety glasses when using compressed air, as flying dirt particles may cause eye injury.

  4. Using compressed air, blow any dirt or debris from around the fitting.

  5. Object Number: 12780  Size: SH
  6. Using the correct tool from the J 37088-A , insert the tool into the female connector, then push inward in order to release the quick connect locking tabs.

  7. Object Number: 12782  Size: SH
  8. Pull the fuel line connection apart.
  9. Notice: If necessary, remove rust or burrs from the fuel pipes with an emery cloth. Use a radial motion with the fuel pipe end in order to prevent damage to the O-ring sealing surface. Use a clean shop towel in order to wipe off the male tube ends. Inspect all the connections for dirt and burrs. Clean or replace the components and assemblies as required.

  10. Use a clean shop towel in order to wipe off the male pipe end.
  11. Inspect both ends of the fitting for dirt and burrs. Clean or replace the components as required.

Installation Procedure

    Caution: Refer to Fuel Pipe Fitting Caution in the Preface section.


    Object Number: 12784  Size: SH
  1. Apply a few drops of clean engine oil to the male pipe end.

  2. Object Number: 12786  Size: SH
  3. Push both sides of the fitting together in order to snap the retaining tabs into place.

  4. Object Number: 12787  Size: SH
  5. Once installed, pull on both sides of the fitting in order to make sure the connection is secure.

  6. Object Number: 1555554  Size: SH
  7. Install the retainer to the fuel feed quick-connect fitting.