GM Service Manual Online
For 1990-2009 cars only
Figure 1:

Front Fascia Exterior Lighting


Object Number: 1535953  Size: LF
(1)Headlamp - High Beam - Left
(2)Headlamp - Low Beam - Left
(3)Marker Lamp - LF
(4)Park/Turn Signal Lamp - LF
(5)Park/Turn Signal Lamp - RF
(6)Marker Lamp - RF
(7)Headlamp - Low Beam - Right
(8)Headlamp - High Beam - Right
Figure 2:

I/P Console


Object Number: 1535974  Size: LF
(1)Steering Wheel Control Switch Assembly - Right (UK3)
(2)Instrument Panel Cluster (IPC)
(3)Multifunction Switch - I/P
(4)Theft Light Emitted Diode (LED) (UA6)
(5)Ambient Light Sensor
(6)Hazard Switch
(7)Inflatable Restraint PASSENGER AIR BAG ON/OFF Indicator
(8)Inflatable Restraint I/P Module
(9)Radio
(10)HVAC Control Module
(11)Cigar Lighter
(12)Cruise Control Lever (K34)
(13)Inflatable Restraint Steering Wheel Module
(14)Steering Wheel Control Switch Assembly - Left (Uk3)
(15)Headlamp Switch
(16)Turn Signal/Multifunction Switch
Figure 3:

Left Side of I/P Components


Object Number: 1536063  Size: LF
(1)Body Control Module (BCM)
(2)G201
(3)Brake Pedal Position Sensor
(4)Accelerator Pedal Position (APP) Sensor
(5)Data Link Connector (DLC)
(6)Body Harness
(7)Park Brake Switch
(8)BCM - C2
(9)BCM - C1
(10)BCM - C3 (Steering Column Harness)
Figure 4:

Front Headliner Components


Object Number: 1536136  Size: LF
(1)Courtesy/Reading Lamp - Front
(2)Multifunction Switch - Overhead Console
(3)Courtesy/Reading Lamp - Front
(4)OnStar Button Assembly (UE1)
(5)Garage Door Opener (UG1)
(6)Garage Door Opener Buttons (UG1)
(7)Vanity Mirror Lamp - Right (DH6)
(8)Multifunction Switch Overhead Console
(9)Vanity Mirror Lamp - Left (DH6)
(10)Cellular Microphone (UE1)
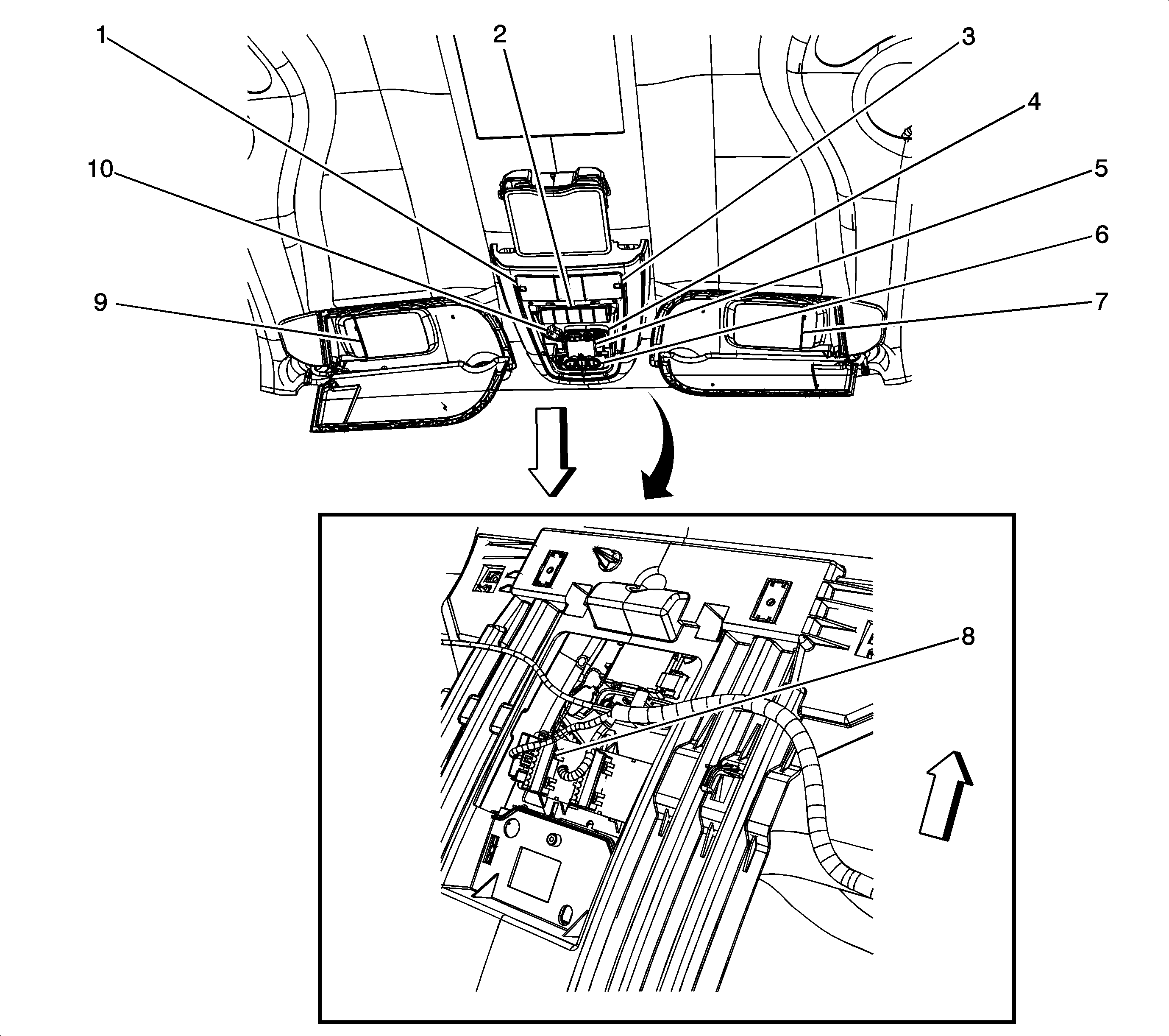
Figure 5:

Rear Headliner Components


Object Number: 1539219  Size: LF
(1)Roof Rail Reading Lamp - Left
(2)Cargo Lamp
(3)Rear Parking Assist (RPA) Display (UD7)
(4)Roof Rail Reading Lamp - Right
Figure 6:

Left Rear Cargo - Body Harness


Object Number: 1536069  Size: LF
(1)Blower Motor - Auxiliary (C69)
(2)Blower Motor Control Module - Auxiliary (C69)
(3)Speaker - Rear Tweeter - Left
(4)Mode Actuator - Auxiliary (C69)
(5)Sliding Door Jamb Switch - Left (E59)
(6)Air Temperature Actuator - Auxiliary (C69)
(7)Auxiliary Power Outlet - Rear
(8)G401
(9)Rear Quarter Window Actuator - Left (A20)
Figure 7:

Right Rear Cargo Components - Body Harness


Object Number: 1536111  Size: LF
(1)Speaker - Rear Tweeter - Right
(2)Accessory AC/DC Power Control Module (KC7)
(3)C420 Rear Parking Assist Display Jumper Harness to Body Harness (UD7)
(4)Rear Quarter Window Actuator - Right (A20)
(5)C402 and C400 Liftgate Harness to Body Harness
(6)Rear Parking Assist (RPA) Display (UD7)
(7)G400
(8)Auxiliary Power Outlet - 115VAC (KC7)
(9)Sliding Door Jamb Switch - Right
(10)Rear Object Sensor Control Module (UD7)
(11)Rear Parking Assist (RPA) Diagnostic Connector (UD7)
Figure 8:

Liftgate Components


Object Number: 1536127  Size: LF
(1)Rear Window Wiper Motor
(2) Speakers - LR/RR
(3)Door Jamb Switch - Liftgate
(4)Door Lock Actuator - Liftgate
(5)Liftgate Latch Assembly
Figure 9:

Rear Fascia Exterior Lighting


Object Number: 1700953  Size: LF
(1)CHMSL Resistor (R900)
(2)Tail Lamp - Right
(3)Tail/Stop and Turn Signal Lamp - Right
(4)Backup Lamp - Right
(5)License Lamps
(6)Object Sensor - RR Corner (UD7)
(7)Object Sensor - RR Middle (UD7)
(8)Object Sensor - LR Middle (UD7)
(9)Object Sensor - LR Corner (UD7)
(10)Backup Lamp - Left
(11)Tail/Stop and Turn Signal Lamp - Left
(12)Tail Lamp - Left
(13)Center High Mounted Stop Lamp (CHMSL)