GM Service Manual Online
For 1990-2009 cars only

INSUFFICIENT HEAT. PERFORMANCE IN EXREME COLD WEATHER

SUBJECT: INSUFFICIENT HEATER PERFORMANCE IN EXTREME COLD WEATHER (REPLACE HVAC HEATER CORE AND FLOOR OUTLET DUCT)

MODELS: 1997 CHEVROLET VENTURE 1997 OLDSMOBILE SILHOUETTE 1997 PONTIAC TRANS SPORT

CONDITION:

SOME OWNERS MAY COMMENT ON INSUFFICIENT HEATER PERFORMANCE IN EXTREME COLD WEATHER CONDITIONS.

CAUSE:

CONDITION MAY BE DUE TO INSUFFICIENT HEATER CORE AND AIR FLOW CAPACITY.

CORRECTION:

REPLACE THE HVAC HEATER CORE AND AIR DISTRIBUTION FLOOR OUTLET DUCT FOLLOWING THE PROCEDURE IN SECTION 1B OF THE SERVICE MANUAL AND PERFORM THE FOLLOWING PROCEDURE. ALSO, INSPECT AND REPAIR ANY AIR FLOW OBSTRUCTIONS UNDER THE FRONT SEATS FOR THE REAR FLOOR HEATER DUCTS (I.E.: POWER SEAT WIRING OR PERSONAL ITEMS).

PROCEDURE -

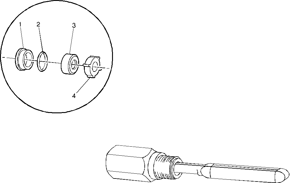
NUMBERS BELOW IN PARENTHESIS REFER TO CALLOUTS IN FIGURE 1.

1. REMOVE HEATER INLET NIPPLE FOLLOWING THE PROCEDURE IN SECTION 1B OF THE SERVICE MANUAL.

2. USING AN "O" RING REMOVER TOOL OR OTHER SUITABLE TOOL, REMOVE THE RUBBER FLOW RESTRICTOR (4) FROM THE MALE END OF THE HEATER NIPPLE AND DISCARD (FIGURE 1).

3. USING CARE NOT TO DAMAGE THE "O" RING (2), ENLARGE THE OPENING OF THE SPACER (3) AS LARGE AS POSSIBLE WITH A KNIFE OR OTHER SUITABLE TOOL FROM THE MALE END OF THE HEATER NIPPLE (FIGURE 1).

4. REINSTALL HEATER INLET NIPPLE FOLLOWING THE PROCEDURE IN SECTION 1B OF THE SERVICE MANUAL.

5. REFILL THE COOLING SYSTEM FOLLOWING THE PROCEDURE IN SECTION 6B OF THE SERVICE MANUAL.

PARTS INFORMATION:

P/N DESCRIPTION --- -----------

52481472 CORE, HEATER 52470410 DUCT, AIR DISTRIBUTION OUTLET (FLOOR)

PARTS ARE EXPECTED TO BE AVAILABLE DECEMBER 15, 1997.

WARRANTY INFORMATION:

FOR VEHICLES REPAIRED UNDER WARRANTY, USE:

LABOR OPERATION LABOR OPERATION NUMBER DESCRIPTION TIME --------------- ----------- ---------------

D2822 CORE, HEATER - REPLACE USE PUBLISHED LABOR OPERATION TIME

J3517 NIPPLE, HEATER COOLANT 0.8 HR FLOW - REPLACE

ADD: NIPPLE, HEATER COOLANT 0.1 HR FLOW - MODIFY

FIGURES: 01 ATTACHMENTS: 00

FIGURE 1 1. COLLAR 2. "O" RING 3. SPACER 4. FLOW RESTRICTOR


Object Number: 335652  Size: MF

GENERAL MOTORS BULLETINS ARE INTENDED FOR USE BY PROFESSIONAL TECHNICIANS, NOT A "DO-IT-YOURSELFER". THEY ARE WRITTEN TO INFORM THOSE TECHNICIANS OF CONDITIONS THAT MAY OCCUR ON SOME VEHICLES, OR TO PROVIDE INFORMATION THAT COULD ASSIST IN THE PROPER SERVICE OF A VEHICLE. PROPERLY TRAINED TECHNICIANS HAVE THE EQUIPMENT, TOOLS, SAFETY INSTRUCTIONS AND KNOW-HOW TO DO A JOB PROPERLY AND SAFELY. IF A CONDITION IS DESCRIBED, DO NOT ASSUME THAT THE BULLETIN APPLIES TO YOUR VEHICLE, OR THAT YOUR VEHICLE WILL HAVE THAT CONDITION. SEE A GENERAL MOTORS DEALER SERVICING YOUR BRAND OF GENERAL MOTORS VEHICLE FOR INFORMATION ON WHETHER YOUR VEHICLE MAY BENEFIT FROM THE INFORMATION.

COPYRIGHT 1997 GENERAL MOTORS CORPORATION. ALL RIGHTS RESERVED.