GM Service Manual Online
For 1990-2009 cars only

Product Safety - Brake Pipe Retention - Install Support Clip

Subject:99015 -- Brake Pipe Retention -- Install Support Clip

Models:1997 Chevrolet Venture Model Vehicles
1997 Pontiac Trans Sport Model Vehicles



Defect Involved

General Motors of Canada Limited has decided that a defect which relates to motor vehicle safety exists in certain 1997 Chevrolet Venture and Pontiac Trans Sport model vehicles. Under certain temperature and snow/slush conditions, ice may accumulate on the rear brake pipes located approximately under the driver's side floor mat. If a large amount of ice accumulates on the brake pipes, the weight of the build up may pull the pipes away from the underbody of the vehicle. If the pipes sage far enough down, they may drag on the ground and be damaged. If one or both of the brake pipes is damaged and loss of brake fluid occurs, braking effectiveness would be reduced. If this were to occur while the vehicle is in motion, a vehicle crash could result without prior warning.

To prevent the possibility of this condition occurring, dealers are to install a brake pipe retainer clip to the underbody.

Vehicles Involved

Involved are certain 1997 Chevrolet Venture and Pontiac Trans Sport model vehicles built within the following VIN breakpoints:

Year

Division

Model

Plant

From

Through

1997

Chevrolet

Venture

Doraville

VD100097

VD297311

1997

Pontiac

Trans Sport

Doraville

VD100093

VD297270

Important: Dealers should confirm vehicle eligibility through Access or VIN listing prior to beginning campaign repairs. (Not all vehicles within the above breakpoints may be involved.) Only affected VINs will be paid.

Involved vehicles have been identified by Vehicle Identification Number. Computer listings containing the complete Vehicle Identification Number, customer name and address data have been prepared, and are being furnished to involved dealers with the campaign bulletin. The customer name and address data furnished will enable dealers to follow-up with customers involved in this campaign. Any dealer not receiving a computer listing with the campaign bulletin has no involved vehicles currently assigned.

These dealer listings may contain customer names and addresses obtained from the Inter-Provincial Records. The use of such motor vehicle registration data for any other purpose is a violation of provincial laws. Accordingly, you are urged to limit the use of this listing to the follow-up necessary to complete this campaign.

Parts Information

Important: An initial supply of parts required to complete this campaign will be pre-shipped to involved dealers of record. This pre-shipment will occur the week of May 3, 1999. Pre-shipped parts will be charged to dealer's open parts account.

Additional parts, if required, are to be obtained from General Motors Service Parts Operations (GMSPO). Please refer to your "involved vehicles listing" prior to ordering requirements.

Part Number

Description

Qty/ Vehicle

10428798

Brake Pipe Clip

1

20695864

Pop Rivet with Rubber Seal

1

Customer Notification

All customers of record at the time of campaign release are shown on the attached computer listing and have been notified by first class mail from General Motors (see copy of customer letter included with this bulletin).

Dealer Campaign Responsibility

All unsold new vehicles in dealers' possession and subject to this campaign MUST be held and inspected/repaired per the service procedure of this campaign bulletin BEFORE customers take possession of these vehicles.

Dealers are to service all vehicles subject to this campaign at no charge to customers, regardless of mileage, age of vehicle, or ownership, from this time forward.

Customers who have recently purchased vehicles sold from your vehicle inventory, and for which there is no customer information indicated on the dealer listing, are to be contacted by the dealer . Arrangements are to be made to make the required correction according to the instructions contained in this bulletin. This could be done by mailing to such customers a copy of the customer letter accompanying this bulletin. Campaign follow-up cards should not be used for this purpose, since the customer may not as yet have received the notification letter.

In summary, whenever a vehicle subject to this campaign enters your vehicle inventory, or is in your dealership for service in the future, please take the steps necessary to be sure the campaign correction has been made before selling or releasing the vehicle.

Service Procedure

  1. Raise and suitably support the vehicle.

  2. Object Number: 675828  Size: SH
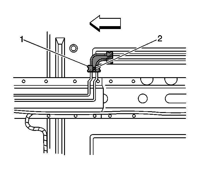
  3. Position a new brake pipe clip (1), P/N 10428798, on the brake line in the area directly under the driver's side floor mat at the 90 degree bend. Refer to the illustration.
  4. Mark the underbody for the pop-rivet hole location and remove the clip.
  5. Important: After drilling the hole, it is important that the appropriate anti-corrosion primer be applied. Refer to GM Approved Refinish Materials Booklet (GM4901M-D-98) for additional information.

  6. Using care to only drill through the metal and avoid damage to the carpet, drill a 5 mm (13/64 inch) hole in the floorpan where marked.
  7. Install the pop-rivet with rubber seal (2), P/N 20695864.
  8. Install a new brake pipe clip (1), P/N 10428798, onto the brake lines and push onto the threaded portion of the pop-rivet stud.
  9. Lower the vehicle.
  10. Install the GM Campaign Identification Label.

Campaign Identification label

Each vehicle corrected in accordance with the instructions outlined in this Product Campaign Bulletin will require a "Campaign Identification Label". Each label provides a space to include the campaign number and the five (5) digit dealer code of the dealer performing the campaign service. This information may be inserted with a typewriter or a ball point pen.

Each "Campaign Identification Label" is to be located on the radiator core support in an area which will be visible when the vehicle is brought in by the customer for periodic servicing. When installing the Campaign Identification Label, be sure to pull the tab to allow the adhesion of the clear protective covering. Additional Campaign Identification Labels can be obtained from DGN by calling 1-800-668-5539 (Monday-Friday, 8:00 am to 5:00 pm Eastern Standard Time). Ask for Item Number GMP 91 when ordering.

Apply the "Campaign Identification Label" only on a clean, dry surface.

Claim Information

Submit a Product Campaign Claim with the information indicated below.

Repair Performed

Part Count

Part No.

Parts Allow

CC-FC

Labour Op

Labor Hours*

Net Item

Install brake line clip

2

10428798

**

MA-96

V0311

0.3 hr

***

* -- For Campaign Administrative Allowance, add 0.1 hours to the "Labour Hours".

** -- The "Parts Allowance" should be the sum total of the current GMSPO Dealer Net price plus 40% for the clip and the pop rivet needed to complete the repair.

*** -- The amount identified in the "Net Item" column should represent the sum total of the current retail price for anti-corrosion primer needed to perform the required repairs, not to exceed $0.40 per vehicle.

Refer to the General Motors Corporation Claims Processing Manual for details on Product Campaign Claim Submission.

April, 19999

Dear General Motors of Canada Customer:

Reason For This Recall

General Motors of Canada Limited has decided that a defect which relates to motor vehicle safety exists in certain 1997 Chevrolet Venture and Pontiac Trans Sport model vehicles. Under certain temperature and snow/slush conditions, ice may accumulate on the rear brake pipes located approximately under the driver's side floor mat. If a large amount of ice accumulates on the brake pipes, the weight of the build up may pull the pipes away from the underbody of the vehicle. If the pipes sage far enough down, they may drag on the ground and be damaged. If one or both of the brake pipes is damages and loss of brake fluid occurs, braking effectiveness would be reduced. If this were to occur while the vehicle is in motion, a vehicle crash could result without prior warning.

What Will Be Done

To prevent the possibility of this condition occurring, your dealer will install a brake pipe retainer clip to the underbody. This service will be performed for you at no charge .

How Long Will The Repair Take?

The length of time required to perform this service correction is approximately twenty minutes. Additional time may be required to schedule and process your vehicle. If you dealer has a large number of vehicles awaiting service, this additional time may be significant. Please ask your dealer if you wish to know how much additional time will be needed schedule, process, and repair your vehicle.

Contacting Your Dealer

Please contact your dealer as soon as possible to arrange a service date. Parts are available and instructions for making this correction have been sent to your dealer.

Please ask your dealer if you wish to know how much time will be needed to schedule, process and repair your vehicle. Your dealer is best equipped to obtain parts and provide services to correct your vehicle as promptly as possible. Should your dealer be unable to schedule a service date within a reasonable time, you should contact the appropriate Customer Assistance/Relations Center at the number listed below:

Division

Number

Deaf, Hearing Impaired, or Speech Impaired*

Chevrolet

1-800-222-1020

1-800-833-2438

Pontiac

1-800-762-2737

1-800-833-7668

* Utilizes Telecommunication Devices for the Deaf/Text Telephones (TDD/TTY)

Customer Reply Card

The enclosed customer reply card identifies your vehicle. Presentation of this card to your dealer will assist in making the necessary correction in the shortest possible time. If you no longer own this vehicle, please let us know by completing the postage paid reply card and returning it to us.

We are sorry to cause your this inconvenience; however, we have taken this action in the interest of your continued satisfaction with our products.

Customer Support Department

General Motors of Canada Limited

Enclosure