GM Service Manual Online
For 1990-2009 cars only
Makes
🢒
Chevrolet
🢒
2000
🢒
Venture
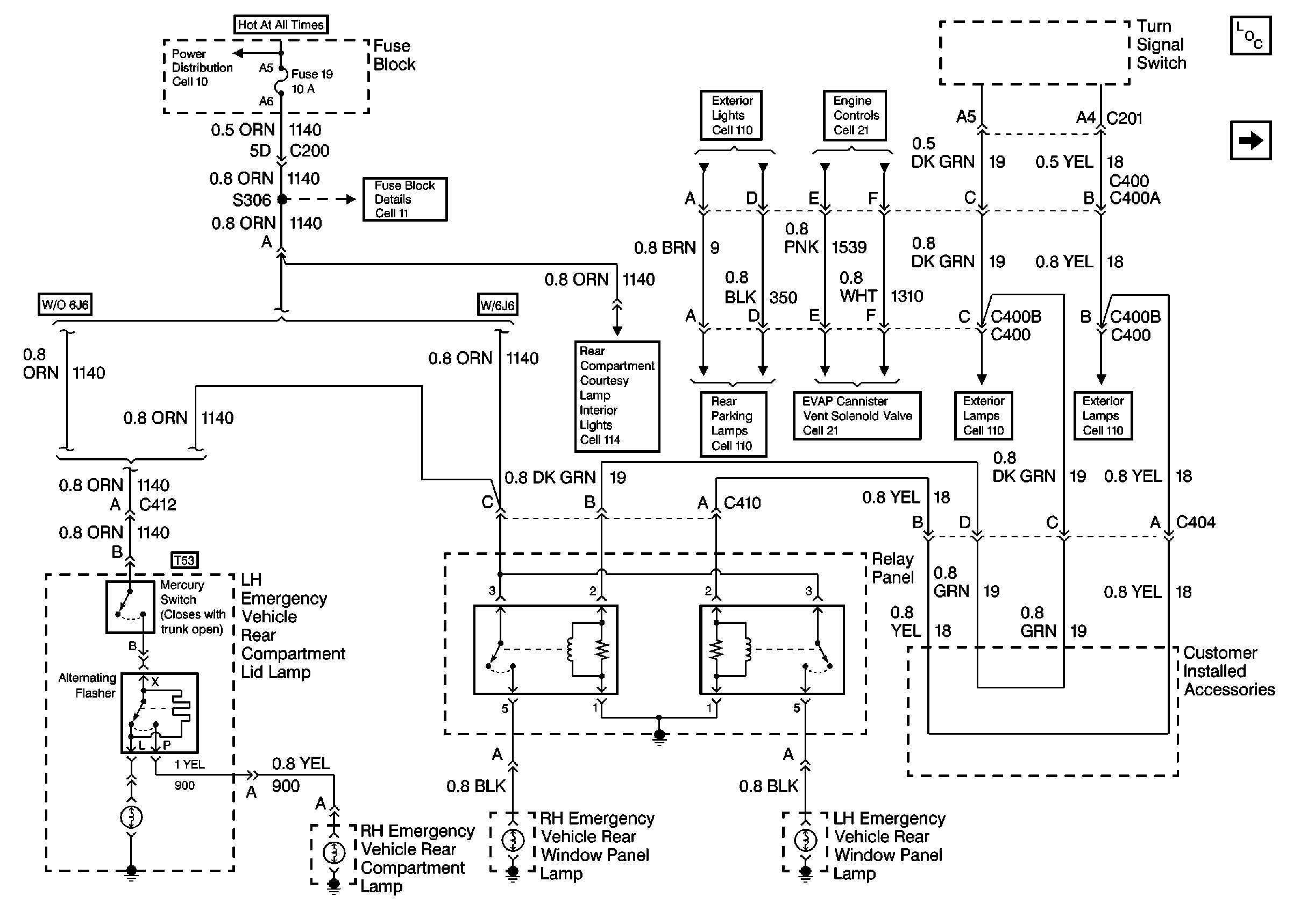
🢒 Cell 18: Rear Compartment Lid Lamp (RPO T53) and Rear Window Panel Lamp (RPO 6J6)
Cell 18: Rear Compartment Lid Lamp (RPO T53) and Rear Window Panel Lamp (RPO 6J6)
Cell 18: Rear Compartment Lid Lamp (RPO T53) and Rear Window Panel Lamp (RPO 6J6)
Master Electrical Component List
Cell 18: Passenger Dome Lamp (RPO 6C7) and IGN and Main Power Supply(RPO 6J1)
Exterior Lights Schematics
Exterior Lights Schematics
Exterior Lights Schematics
Fuse Block Schematics
Power Distribution Schematics