GM Service Manual Online
For 1990-2009 cars only
Makes
🢒
Chevrolet
🢒
2000
🢒
Venture
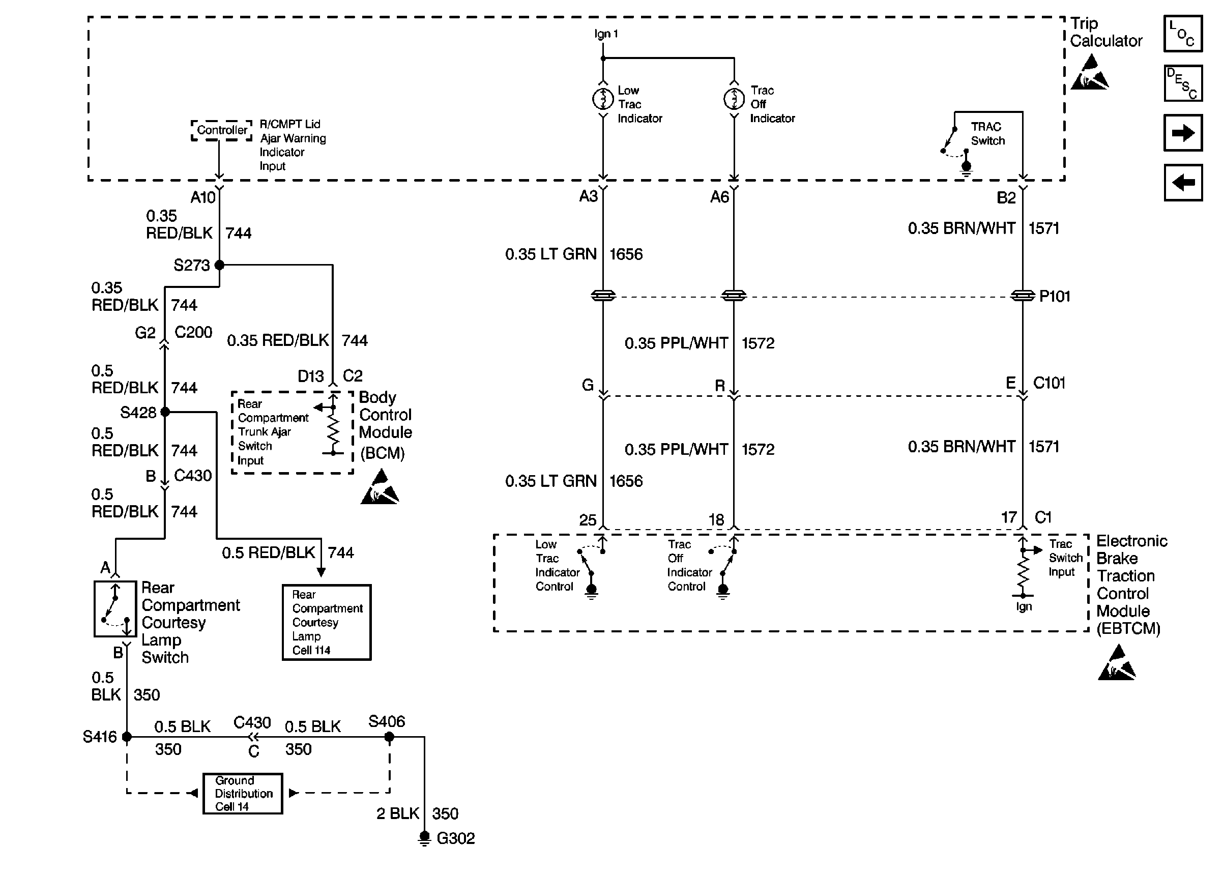
🢒 Cell 86: Trip Calculator, Continued
Cell 86: Trip Calculator, Continued
Cell 86: Trip Calculator, Continued
Instrument Cluster and HUD Components
Driver Information Center (DIC) or Message Center Circuit Description
Cell 86: Trip Calculator, Continued
Cell 86: Trip Calculator
Interior Lights Schematics
Ground Distribution Schematics
Handling ESD Sensitive Parts Notice
Handling ESD Sensitive Parts Notice