GM Service Manual Online
For 1990-2009 cars only
Makes
🢒
Chevrolet
🢒
2000
🢒
Venture
🢒 Cell 10: IGN MAIN 2 MaxiFuse 60 A
Cell 10: IGN MAIN 2 MaxiFuse 60 A
Cell 10: IGN MAIN 2 MaxiFuse 60 A
Power and Grounding Components
Cell 10: IGN MAIN 1 MaxiFuse 40 A
Cell 10
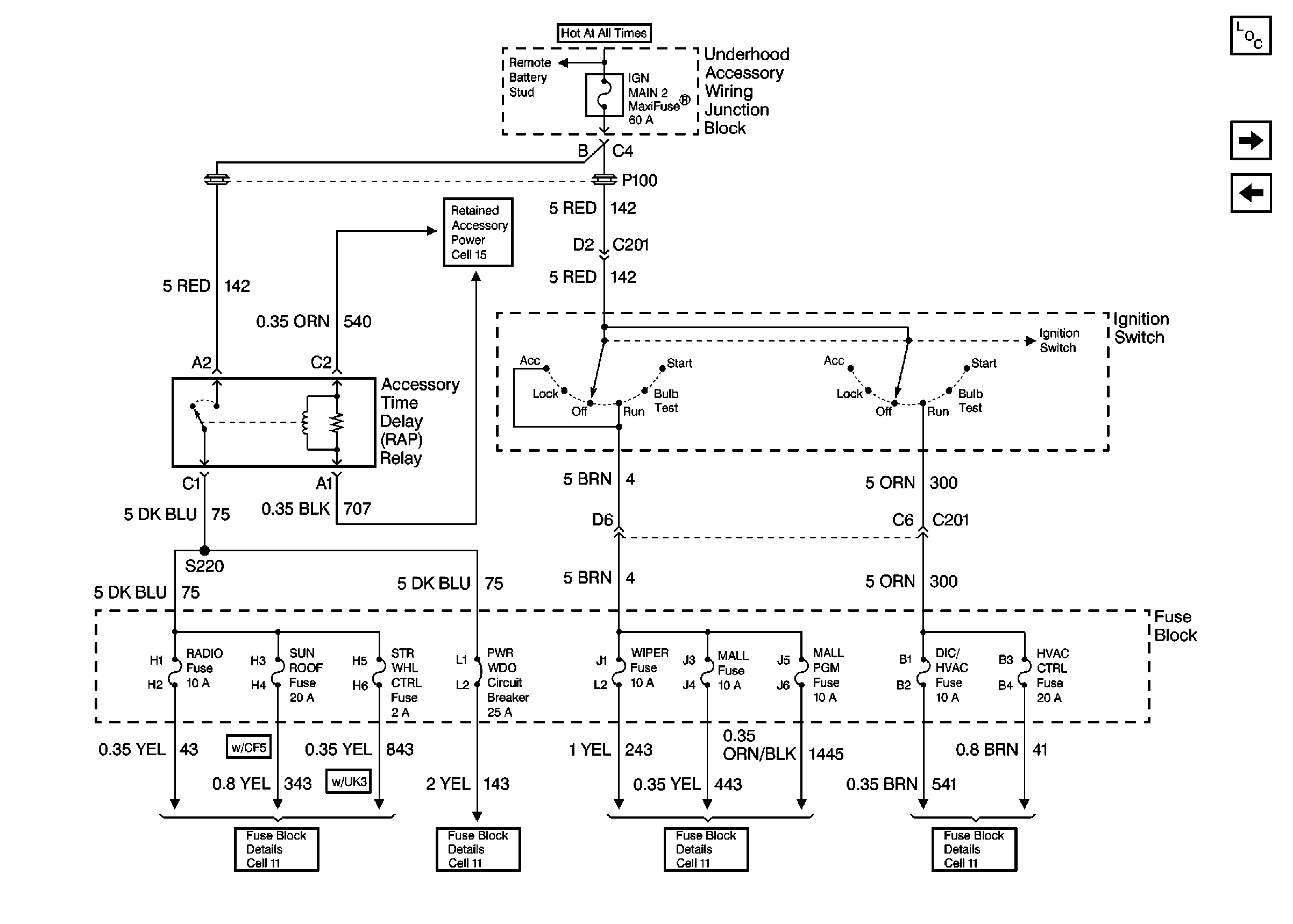
Cell 11: BTSI, RADIO, SUNROOF, STR WHL CTRL, STR WHL ILUM, WIPER, MALLAND MALL PGM Fuses
Cell 11: SEAT, HEADLAMP and POWER WINDOW Circuit Breakers
Cell 11: BTSI, RADIO, SUNROOF, STR WHL CTRL, STR WHL ILUM, WIPER, MALLAND MALL PGM Fuses
Cell 11: DIC/HVAC and HVAC CTRL Fuses
Cell 10: IGN MAIN 1 MaxiFuse 40 A
Cell 10