GM Service Manual Online
For 1990-2009 cars only
Makes
🢒
Chevrolet
🢒
2000
🢒
Venture
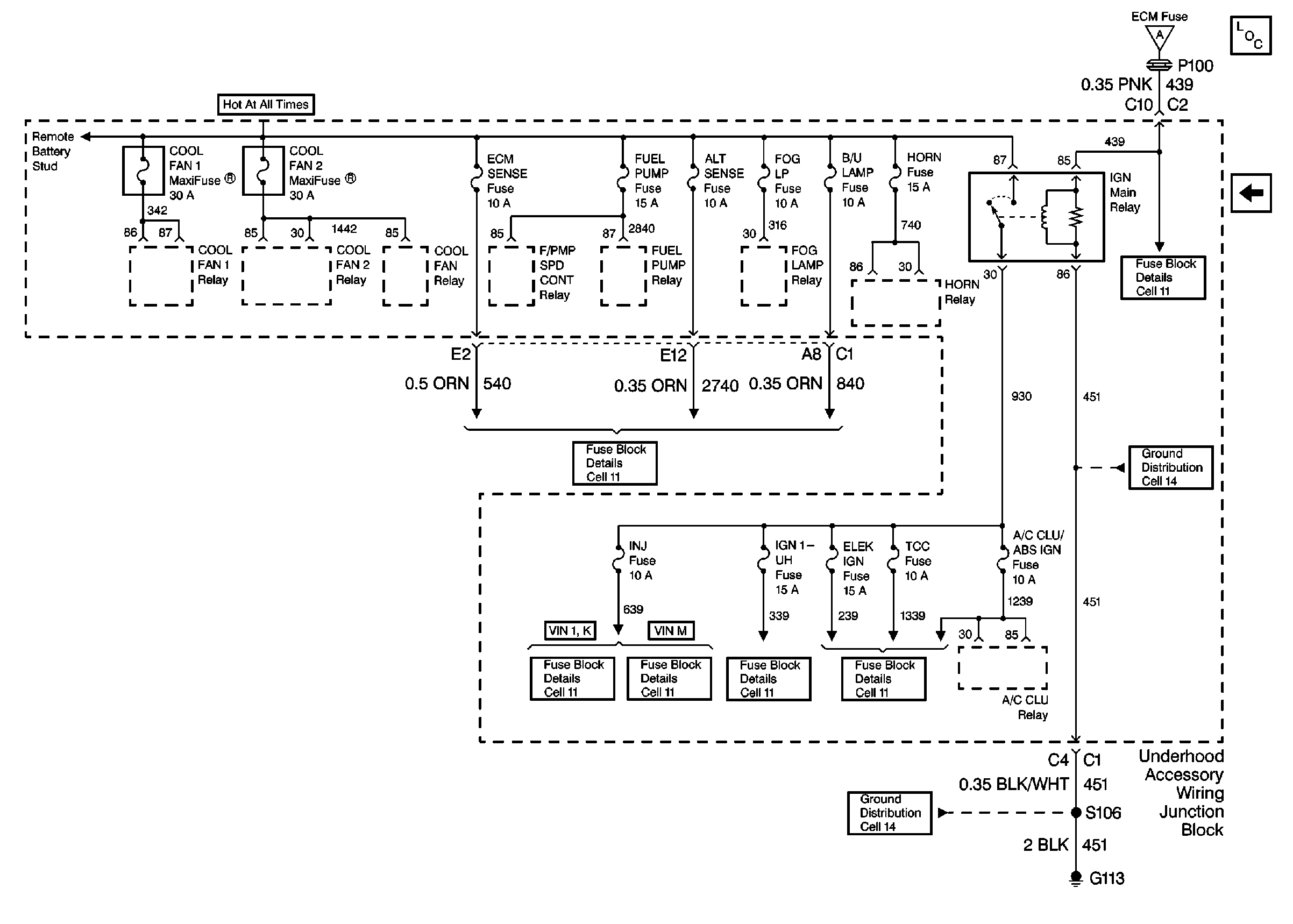
🢒 Cell 10: Underhood Accessory Wiring Junction Block
Cell 10: Underhood Accessory Wiring Junction Block
Cell 10: Underhood Accessory Wiring Junction Block
Power and Grounding Components
Cell 10: IGN MAIN 1 MaxiFuse 40 A
Cell 11: DRL, CANISTER VENT, PWR DROP, TURN, SIR, IP-IGN, CRUISE and ECM Fuses
Cell 11: B/U LAMP, ECM SENSE, ALT SENSE, FUEL PUMP, FOG LP and HORN Fuses
Cell 11: IGN1-UH Fuse
Cell 14: Engine Grounds G100, G111 and G113
Cell 14: Engine Grounds G100, G111 and G113
Cell 11: 3800 (VIN K and 1) INJ Fuse
Cell 11: 3100 (VIN M) INJ Fuse
Cell 11: TCC, ELEK IGN and A/C CLU/ABS IGN Fuses