GM Service Manual Online
For 1990-2009 cars only
Makes
🢒
Chevrolet
🢒
2000
🢒
Venture
🢒 Rear Quarter Windows
Rear Quarter Windows
Rear Quarter Windows
Body Rear End Components
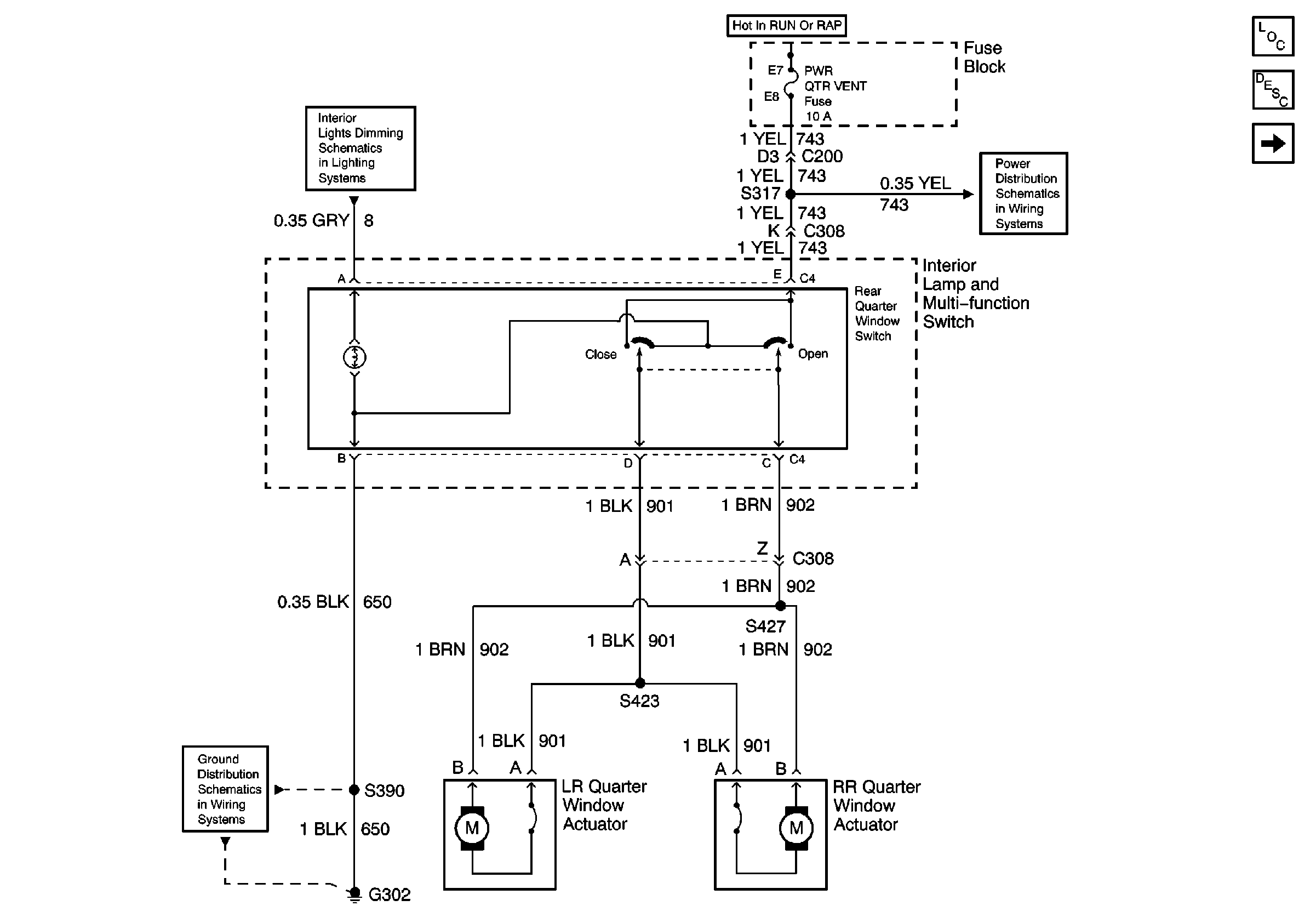
Rear Quarter Window Circuit Description
IP REAR HATCH AJAR Telltale
Underhood Accessory Wiring Junction Block, Relay Center, PWR WDO and PWR OTR Vent Fuses
Cell 14: G302
Interior Lights Dimming Schematics (Cell 117: Interior Lamp and Multifunction Switch, Right Rear Door Latch, Release Actuator Switch)