GM Service Manual Online
For 1990-2009 cars only

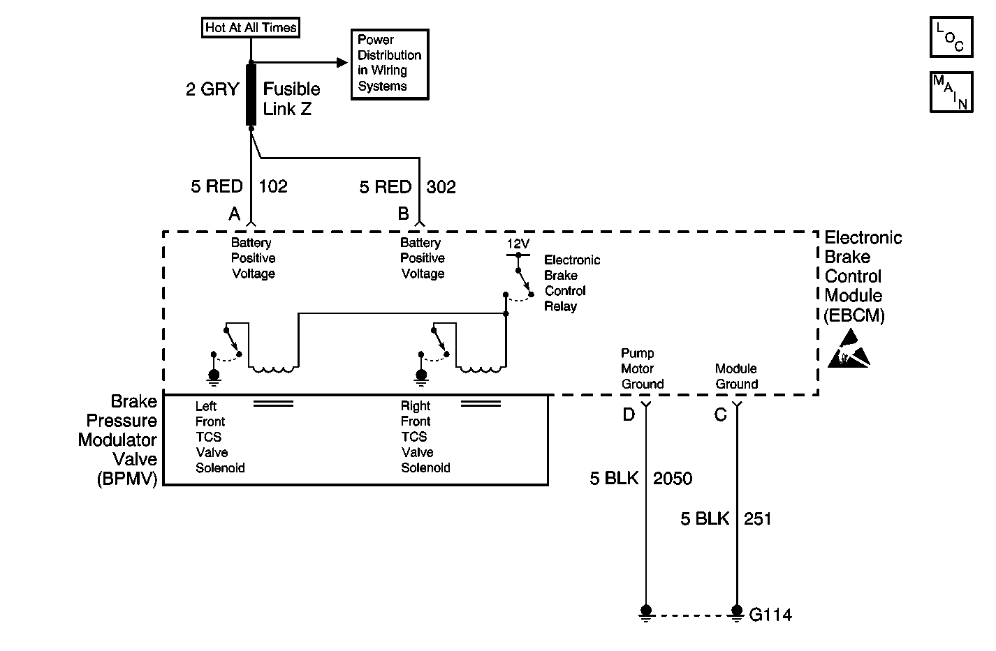
Object Number: 543571  Size: MF
ABS Components
Antilock Brake System Schematics
Power Distribution Schematics
Handling Electrostatic Discharge Sensitive Parts Notice

Circuit Description

The TCS valve solenoid circuits are supplied with battery power when the ignition is in the ON position. The EBCM controls the valve functions by grounding the circuit when necessary.

Conditions for Running the DTC

Criteria 1

    • The switched system battery voltage is greater than 8.0 volts.
    • The ignition voltage is greater than 9.0 volts.

Criteria 2

    • The switched system battery voltage is greater than 8.0 volts.
    • The ignition voltage is greater than 9.0 volts.
    • ABS is active.

Conditions for Setting the DTC

Either of the following criteria is present for greater than 0.03 seconds.

Criteria 1

The solenoid valve control circuit is open or shorted to ground.

Criteria 2

The solenoid valve control circuit is shorted to voltage.

Action Taken When the DTC Sets

    • The ABS/TCS disables.
    • The ABS/TCS indicator(s) turn on.

Conditions for Clearing the DTC

    • Condition for DTC is no longer present and scan tool clear DTC function is used.
    • 100 ignition cycles have passed with no DTCs detected.

Diagnostic Aids

The solenoid valve circuit and the solenoid coil are internal to the EBCM. No part of the solenoid circuit is diagnosable external to the EBCM. The DTC sets when there is a malfunction in the solenoid circuit internal to the EBCM only.

Step

Action

Value(s)

Yes

No

1

Did you perform the ABS Diagnostic System Check?

--

Go to Step 2

Go to Diagnostic System Check - ABS

2

  1. Install a scan tool.
  2. Turn ON the ignition, with the engine OFF.
  3. Use the scan tool in order to clear the DTCs.
  4. Operate the vehicle within the Conditions for Running the DTC as specified in the supporting text.

Does the DTC reset as a current DTC?

--

Go to Step 3

Go to Testing for Intermittent Conditions and Poor Connections in Wiring Systems

3

Replace the EBCM. Refer to Electronic Brake Control Module Replacement

Did you complete the repair?

--

Go to Step 4

--

4

  1. Use the scan tool in order to clear the DTCs.
  2. Operate the vehicle within the Conditions for Running the DTC as specified in the supporting text.

Does the DTC reset?

--

Go to Step 2

System OK