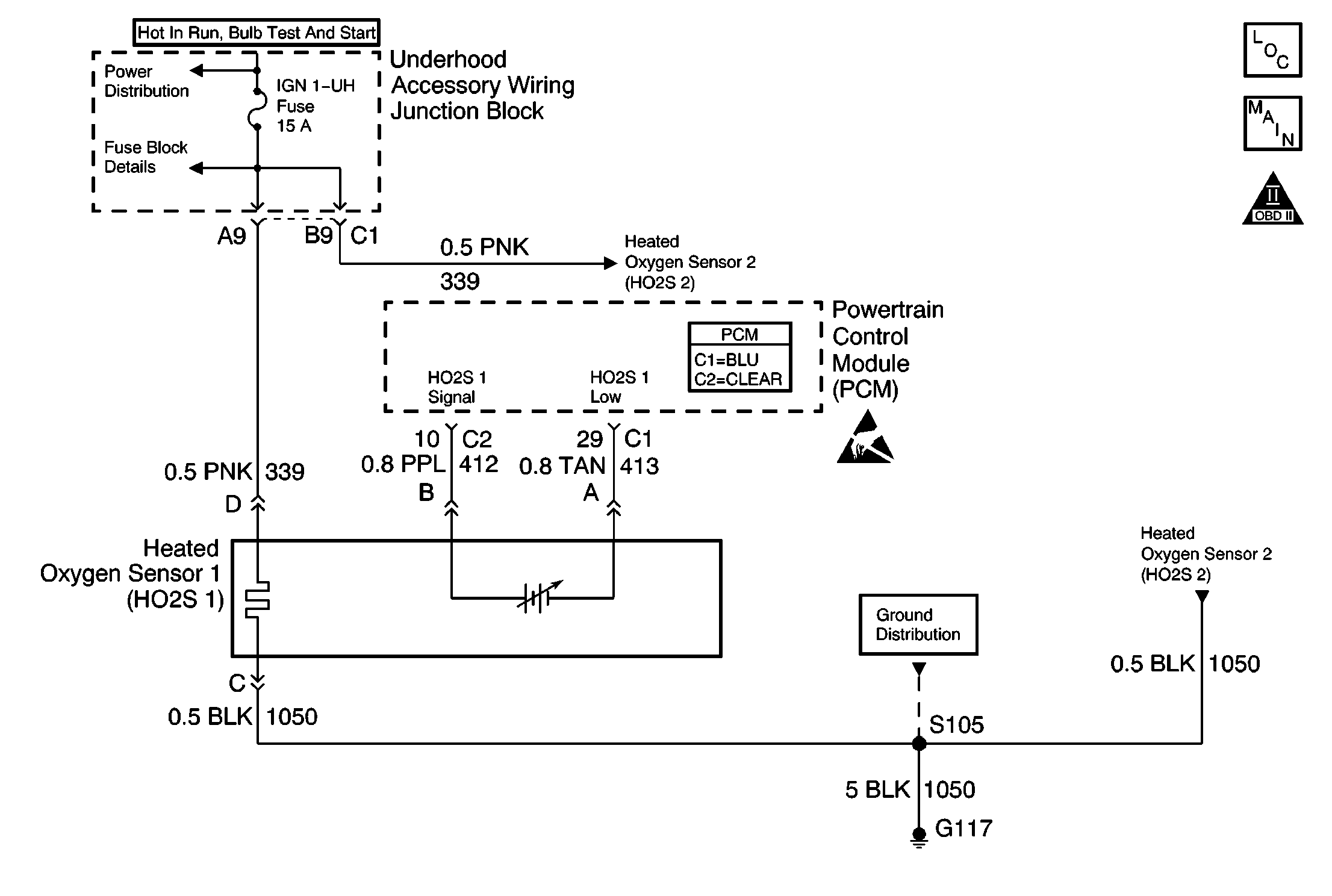
The PCM monitors the heated oxygen sensor (HO2S) activity for 100 seconds. During this test period the PCM counts the number of times that the HO2S signal voltage crosses the rich to lean and lean to rich thresholds. If the PCM determines that the HO2S did not switch enough times, DTC P1133 will be set.
A lean to rich switch is determined when the HO2S voltage changes from less than 300 mV to more than 600 mV. A rich to lean switch is determined when the HO2S voltage changes from more than 600 mV to less than 300 mV.
| • | Active MAF, TP, IAT, MAP, ECT sensor, injector circuit, EVAP, AIR or HO2S heater DTCs are not present. |
| • | The system voltage is between 9.0 and 18.0 volts. |
| • | Above conditions present for a 100 second monitoring period after closed loop. |
| • | The Air pump is commanded OFF. |
| • | Mass air flow is between 10 and 30 g/s. |
| • | ECT is more than 50°C (122°F). |
| • | Engine speed is between 1000 and 3000 RPM. |
| • | The vehicle is not in Park or Neutral. |
| • | The PCM monitors fewer than 65 rich to lean and 50 lean to rich switches for HO2S 1. |
| • | The condition is present for a 100 second monitoring period. |
| • | The PCM will illuminate the malfunction indicator lamp (MIL) during the second consecutive trip in which the diagnostic test has been run and failed. |
| • | The PCM will store conditions which were present when the DTC set as Freeze Frame/Failure Records data. |
| • | The PCM will turn OFF the malfunction indicator lamp (MIL) during the third consecutive trip in which the diagnostic has run and passed. |
| • | The history DTC will clear after 40 consecutive warm-up cycles have occurred without a malfunction. |
| • | The DTC can be cleared by using a scan tool. |
A malfunction in the HO2S heater ignition feed or ground circuit may cause a DTC P1133 to set. Inspect the HO2S heater circuitry for intermittent faults or poor connections. Refer to Testing for Intermittent Conditions and Poor Connections in Wiring Systems. If connections and wiring are OK and DTC P1133 continues to set, replace the HO2S 1. Refer to Heated Oxygen Sensor Replacement .
Inspect for the following conditions:
Many situations may lead to an intermittent condition. Perform each inspection or test as directed.
Important: : Remove any debris from the connector surfaces before servicing a component. Inspect the connector gaskets when diagnosing or replacing a component. Ensure that the gaskets are installed correctly. The gaskets prevent contaminate intrusion.
| • | Loose terminal connection |
| - | Use a corresponding mating terminal to test for proper tension. Refer to Testing for Intermittent Conditions and Poor Connections , and to Connector Repairs in Wiring Systems for diagnosis and repair. |
| - | Inspect the harness connectors for backed out terminals, improper mating, broken locks, improperly formed or damaged terminals, and faulty terminal to wire connection. Refer to Testing for Intermittent Conditions and Poor Connections , and to Connector Repairs in Wiring Systems for diagnosis and repair. |
| • | Damaged harness--Inspect the wiring harness for damage. If the harness inspection does not reveal a problem, observe the display on the scan tool while moving connectors and wiring harnesses related to the sensor. A change in the scan tool display may indicate the location of the fault. Refer to Wiring Repairs in Wiring Systems for diagnosis and repair. |
| • | Inspect the powertrain control module (PCM) and the engine grounds for clean and secure connections. Refer to Wiring Repairs in Wiring Systems for diagnosis and repair. |
If the condition is determined to be intermittent, reviewing the Snapshot or Freeze Frame/Failure Records may be useful in determining when the DTC or condition was identified.
The numbers below refer to the step numbers on the diagnostic table:
When the system is operating correctly the HO2S voltage should toggle above and below the specified values.
If the low circuit is shorted to ground the HO2S voltage will be less than 400 mV when the signal circuit is jumped to ground.
The specified value is what is measured on a correctly operating system.
The specified value is what is measured on a correctly operating system.
This vehicle is equipped with a PCM which utilizes an Electrically Erasable Programmable Read Only Memory (EEPROM). When the PCM is replaced, the new PCM must be programmed.
Step | Action | Values | Yes | No | ||||||
|---|---|---|---|---|---|---|---|---|---|---|
1 | Did you perform the Powertrain On-Board Diagnostic (OBD) System Check? | -- | ||||||||
|
Important:: If any other DTCs are set (except HO2S DTCs), refer to other DTCs first before proceeding with this table.
Does scan tool indicate HO2S voltage varying outside the specified values? | 400-500 mV | |||||||||
3 | Operate vehicle within Failure Records conditions. Does the scan tool indicate this DTC failed this ignition? | -- | Go to Diagnostic Aids | |||||||
4 | Inspect and test for the following:
Did you find and correct the condition? | -- | ||||||||
Does the scan tool indicate HO2S voltage more than the specified value? | 400 mV | |||||||||
Does the voltage measure near the specified value? | 4.5V | |||||||||
Measure the voltage on the HO2S low circuit (PCM side) using a DMM that is connected to a good ground. Does the voltage measure near the specified value? | 5.0V | |||||||||
8 | Test the low circuit for an open or high resistance. Refer to Circuit Testing and Wiring Repairs in Wiring Systems. Did you find and correct the condition? | -- | ||||||||
9 | Test the signal circuit for an open or high resistance. Refer to Circuit Testing and Wiring Repairs in Wiring Systems. Did you find and correct the condition? | -- | ||||||||
10 | Test the low circuit for a short to ground. Refer to Circuit Testing and Wiring Repairs in Wiring Systems. Did you find and correct the condition? | -- | ||||||||
11 | Test for faulty connections at the HO2S. Refer to Testing for Intermittent Conditions and Poor Connections and Connector Repairs in Wiring Systems. Did you find and correct the condition? | -- | ||||||||
12 |
Important: : Determine the cause of contamination before replacing the sensor. Inspect and test for the following:
Replace the effected HO2S sensor. Refer to Heated Oxygen Sensor Replacement . Did you complete the replacement? | -- | -- | |||||||
13 | Test for faulty connections at the PCM. Refer to Testing for Intermittent Conditions and Poor Connections and Connector Repairs in Wiring Systems. Did you find and correct the condition? | -- | ||||||||
|
Important: : The replacement PCM must be programmed. Replace the PCM. Refer to Powertrain Control Module Replacement/Programming . Did you complete the replacement? | -- | -- | ||||||||
15 |
Does the DTC reset? | -- | ||||||||
16 | Use the scan tool in order to inspect for DTCs. Does the scan tool indicate any DTCs that you have not diagnosed? | -- | Go to applicable DTC | System OK |