GM Service Manual Online
For 1990-2009 cars only

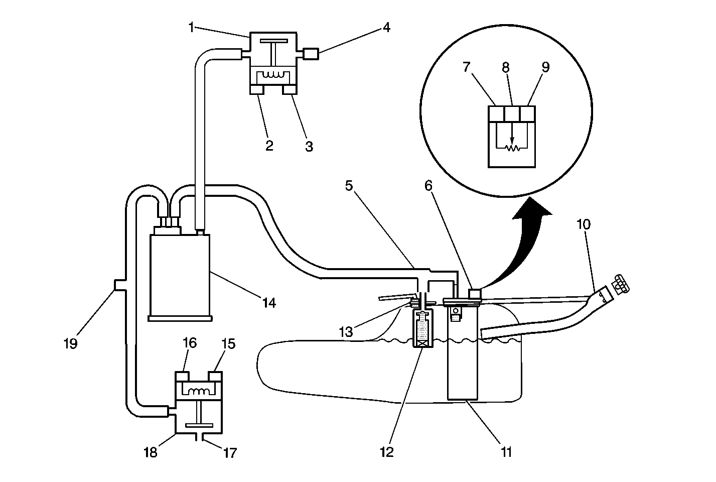
Refer to Emission Hose Routing Diagram ,

EVAP Control System Overview


Object Number: 468499  Size: MF
(1)EAVP Vent Valve/Solenoid
(2)EVAP Vent Valve/Solenoid Ignition Feed Circuit Terminal
(3)EVAP Vent Valve/Solenoid Control Circuit Terminal
(4)EVAP Vent Valve/Solenoid Filter
(5)EVAP Vapor Lines
(6)Fuel Tank Pressure Sensor
(7)Fuel Tank Pressure Sensor Ground Circuit Terminal
(8)Fuel Tank Pressure Sensor Signal Circuit Terminal
(9)Fuel Tank Pressure Sensor Circuit 5 Volt Reference Circuit Terminal
(10)Fuel Filler Pipe
(11)Modular Fuel Sender Assembly
(12)Fuel Limiter Vent Valve (FLVV)
(13)Pressure/Vacuum Relief Valve (Optional)
(14)EVAP Canister
(15)EVAP Canister Purge Valve/Solenoid Ignition Feed Circuit Terminal
(16)EVAP Canister Purge Valve/Solenoid Control Circuit Terminal
(17)Intake Manifold Vacuum Source
(18)EVAP Canister Purge Valve/Solenoid
(19)EVAP Service Port
.

System Description

The control module tests the evaporative emission (EVAP) system for a large leak. The control module monitors the fuel tank pressure (FTP) sensor signal to determine the EVAP system vacuum level. When the conditions for running are met, the control module commands the EVAP canister purge valve OPEN and the EVAP vent valve CLOSED . This allows engine vacuum to enter the EVAP system. At a calibrated time, or vacuum level, the control module commands the EVAP canister purge valve closed, sealing the system, and monitors the FTP sensor input in order to determine the EVAP system vacuum level. If the system is unable to achieve the calibrated vacuum level, or the vacuum level decreases too rapidly, this DTC sets.

The following table illustrates the relationship between the ON and OFF states, and the OPEN or CLOSED states of the EVAP canister purge and vent valves.

Control Module Command

EVAP Canister Purge Valve

EVAP Canister Vent Valve

ON

Open

Closed

OFF

Closed

Open

Conditions for Running the DTC

    • DTCs P0107, P0108, P0110, P0112, P0113, P0115, P0116, P0117, P0118, P0121, P0122, P0123, P0125, P0443, P0449, P0452, P0453, P1106, P1107, P1111, P1112, P1114, P1115, P1121, or P1122 are not set.
    • The system voltage is between 10-18 volts.
    • The start-up engine coolant temperature (ECT) is between than 4-30°C (39-86°F), but the start-up ECT is not more than 8°C (14°F) more than the startup intake air temperature (IAT).
    • The start-up IAT is between than 4-30°C (39-86°F), but the start-up IAT is not more than 3°C (7°F) more than the start-up ECT temperature.
    • The fuel tank level is between 15-85 percent.
    • The barometric pressure (BARO) is more than 75 kPa.
    • The vehicle speed sensor (VSS) is less than 121 km/h (75 mph).

Conditions For Setting the DTC

The EVAP system is not able to achieve or to maintain a vacuum during the diagnostic test.

Action Taken When the DTC Sets

    • The control module illuminates the malfunction indicator lamp (MIL) on the second consecutive ignition cycle that the diagnostic runs and fails.
    • The control module records the operating conditions at the time the diagnostic fails. The first time the diagnostic fails, the control module stores this information in the Failure Records. If the diagnostic reports a failure on the second consecutive ignition cycle, the control module records the operating conditions at the time of the failure. The control module writes the operating conditions to the Freeze Frame and updates the Failure Records.

Conditions for Clearing the MIL/DTC

    • The control module turns OFF the malfunction indicator lamp (MIL) after 3 consecutive ignition cycles that the diagnostic runs and does not fail.
    • A current DTC, Last Test Failed, clears when the diagnostic runs and passes.
    • A history DTC clears after 40 consecutive warm-up cycles, if no failures are reported by this or any other emission related diagnostic.
    • Clear the MIL and the DTC with a scan tool.

Diagnostic Aids

    •  Use the J 41413 EVAP Pressure and Purge Station in order to pressurize the EVAP system in order to help locate intermittent leaks.
    •  Move all EVAP components while testing with the J 41416 Ultrasonic Leak Detector.
    • A temporary blockage in the EVAP canister purge valve, the purge pipe, or the EVAP canister can cause an intermittent condition. In order to repair a blockage in the EVAP system, refer to Evaporative Emission System Cleaning .

Test Description

The numbers below refer to the step numbers on the diagnostic table.

  1. This step is used in order to verify if a leak is present.

  2. This step verifies proper operation of the FTP sensor.

  3. This step tests the EVAP canister purge valve for a restriction or blockage.

Step

Action

Values

Yes

No

1

Did you perform the Diagnostic System Check-Engine Controls?

--

Go to Step 2

Go to Powertrain On Board Diagnostic (OBD) System Check

2

Does the scan tool indicate DTC P0443 or DTC P0449 are also set?

--

Go to Diagnostic Trouble Code (DTC) List/Type

Go to Step 3

3

  1. Inspect the EVAP system for the following conditions:
  2. • Loose, missing or damaged service port dust cap and/or schrader valve
    • Loose, incorrect, missing or damaged fuel fill cap
    • A damaged EVAP canister purge valve
  3. Raise the vehicle on a hoist. Refer to Lifting and Jacking the Vehicle in General Information.
  4. Inspect the EVAP system for the following conditions:
  5. • Disconnected, improperly routed, kinked or damaged EVAP pipes and hoses
    • A damaged EVAP canister vent valve or EVAP canister

Did you find and correct the condition?

--

Go to Step 19

Go to Step 4

4

  1. With a scan tool, capture and record the fail record data and clear the DTCs.
  2. Perform the Service Bay Test. Refer to Service Bay Test .

Does the scan tool indicate that the service bay test passed?

--

Go to Diagnostic Aids

Go to Step 5

5

Important: Always zero the EVAP pressure and vacuum (in H2O) gages on the EVAP Pressure and Purge Station before proceeding with diagnosis.

  1. Install the J 41415 Gasoline Cap and Filler Neck Kit.
  2. Connect the J 41413 Pressure and Purge Station to the J 41415-40 Fuel Tank Cap Adapter.
  3. Turn ON the ignition, with the engine OFF.
  4. Seal the EVAP system with the scan tool.
  5. Pressurize the system to the specified value with the J 41413 .
  6. Rotate the with the J 41413 rotary switch to the OFF/HOLD position.

Did you obtain the specified value?

5 in H2O

Go to Step 6

Go to Step 8

6

Compare the J 41413 value to the scan tool fuel tank pressure (FTP) sensor value.

Does the J 41413 value measure near the scan tool value?

--

Go to Step 7

Go to Step 12

7

  1. Monitor the pressure gage on the J 41413 .
  2. Disconnect the EVAP purge pipe from the EVAP purge valve.

Does the EVAP system pressure decrease?

--

Go to Step 9

Go to Step 10

8

  1. Continuously pressurize the EVAP system with the J 41413 .
  2. Important: It may be necessary to partially lower the fuel tank to inspect components located in the upper portion of the tank.

  3. Inspect for leaks in the following locations with the J 41416 Ultrasonic Leak Detector:
  4. • The EVAP system purge pipe
    • The EVAP vapor pipe
    • The EVAP vent hose/pipe
    • The fuel fill pipe/hose and fuel fill cap
    • The EVAP canister--Refer to Evaporative Emission Canister Replacement .
    • The EVAP canister vent valve--Refer to Evaporative Emission Vent Valve Replacement .
    • The EVAP canister purge valve--Refer to Evaporative Emission Canister Purge Solenoid Valve Replacement .
    • The fuel sender assembly and/or seal--Refer to Fuel Sender Assembly Replacement .
    • The FTP sensor seal--Refer to Fuel Tank Pressure Sensor Replacement .
    • The fill limiter vent valve, pressure relief valve, rollover valves, permanent EVAP pipes and/or fuel tank--Refer to Fuel Tank Replacement .

Did you find and repair a leak?

--

Go to Step 19

Go to Diagnostic Aids

9

  1. Attach a vacuum gage to the purge pipe port of the EVAP purge valve.
  2. Start the engine and allow the engine to idle.
  3. Command the EVAP purge valve to 50 percent with a scan tool.

Does the vacuum gage show vacuum more than the specified value?

10 in H2O

Go to Diagnostic Aids

Go to Step 13

10

  1. Monitor the pressure gage on J 41413 .
  2. Disconnect the purge pipe at the EVAP canister.

Does the EVAP system pressure decrease?

--

Go to Step 15

Go to Step 11

11

  1. Monitor the pressure gage on J 41413 .
  2. Disconnect the EVAP vapor line from the EVAP canister.

Does the EVAP system pressure decrease?

--

Go to Step 18

Go to Step 14

12

Monitor the FTP sensor voltage with a scan tool.

Is the FTP sensor voltage more than the specified value?

4.3 V

Go to DTC P0453 Fuel Tank Pressure Sensor Circuit High Voltage

Go to Step 16

13

Inspect the vacuum source to the EVAP purge valve for blockage, cuts, or disconnects. Repair as necessary.

Did you find and correct the condition?

--

Go to Step 19

Go to Step 17

14

Repair the pinched or obstructed EVAP vapor pipe between the front and rear tanks.

Did you complete the repair?

--

Go to Step 19

--

15

Repair the restriction in the EVAP purge pipe. Refer to Evaporative Emission System Cleaning .

Did you complete the repair?

--

Go to Step 19

--

16

Replace the FTP sensor. Refer to Fuel Tank Pressure Sensor Replacement .

Did you complete the replacement?

--

Go to Step 19

--

17

Replace the EVAP canister purge valve. Refer to Evaporative Emission Canister Purge Solenoid Valve Replacement .

Did you complete the replacement?

--

Go to Step 19

--

18

Replace the EVAP canister. Refer to Evaporative Emission Canister Replacement .

Did you complete the replacement?

--

Go to Step 19

--

19

  1. With a scan tool, capture and record the fail record data and clear the DTCs.
  2. Perform the service bay test. Refer to Service Bay Test .

Does the scan tool indicate that the service bay test passed?

--

Go to Step 20

Go to Step 5

20

With a scan tool, observe the stored information, Capture Info.

Does the scan tool display any DTCs that you have not diagnosed?

--

Go to Diagnostic Trouble Code (DTC) List/Type

System OK