GM Service Manual Online
For 1990-2009 cars only

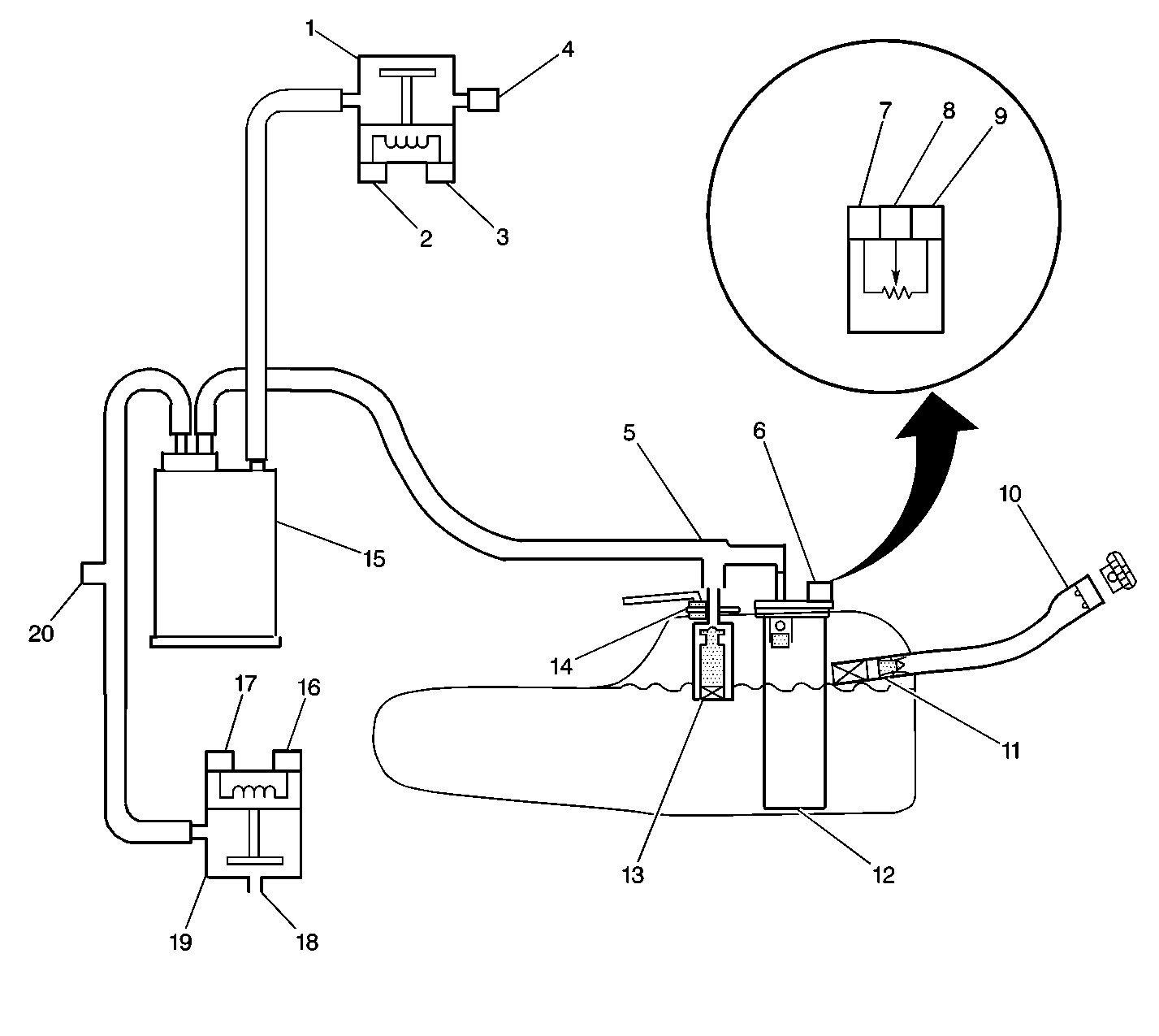
Refer to Engine Controls Schematics Diagram,

EVAP Control System Overview


Object Number: 200517  Size: LF
(1)EVAP Vent Valve/Solenoid
(2)EVAP Vent Valve/Solenoid Ignition Feed Circuit Terminal
(3)EVAP Vent Valve/Solenoid Control Circuit Terminal
(4)EVAP Vent Valve/Solenoid Filter
(5)EVAP Vapor Lines
(6)Fuel Tank Pressure Sensor
(7)Fuel Tank Pressure Sensor Ground Circuit Terminal
(8)Fuel Tank Pressure Sensor Signal Circuit Terminal
(9)Fuel Tank Pressure Sensor Circuit 5 Volt Reference Circuit Terminal
(10)Fuel Filler Pipe
(11)Check Valve (Spitback)
(12)Modular Fuel Sender Assembly
(13)Fuel Limiter Vent Valve (FLVV)
(14)Pressure/Vacuum Relief Valve (Optional)
(15)EVAP Canister
(16)EVAP Canister Purge Valve/Solenoid Ignition Feed Circuit Terminal
(17)EVAP Canister Purge Valve/Solenoid Control Circuit Terminal
(18)Intake Manifold Vacuum Source
(19)EVAP Canister Purge Valve/Solenoid
(20)EVAP Service Port
.

System Description

This DTC tests the evaporative emission (EVAP) system for a restricted or blocked EVAP vent path. The control module commands the EVAP canister purge solenoid Open and the EVAP canister vent solenoid Closed. This allows vacuum to be applied to the EVAP system. Once a calibrated vacuum level has been reached, the control module commands the EVAP canister purge solenoid Closed and the EVAP canister vent solenoid Open. The control module monitors the fuel tank pressure (FTP) sensor for a decrease in vacuum. If the vacuum does not decrease to near 0 inches H2O in a calibrated time, this DTC sets.

The following table illustrates the relationship between the ON and OFF states, and the Open or Closed states of the EVAP canister purge and vent valves.

Control Module Command

EVAP Canister Purge Solenoid

EVAP Canister Vent Solenoid

ON

Open

Closed

OFF

Closed

Open

Conditions for Running the DTC

    • DTCs P0107, P0108, P0110, P0112, P0113, P0115, P0116, P0117, P0118, P0121, P0122, P0123, P0125, P0440, P0442, P0443, P0449, P0452, P0453, P1106, P1107, P1111, P1112, P1114, P1115, P1121, or P1122 are not set.
    • The system voltage is between 10-18 volts.
    • The startup engine coolant temperature (ECT) is between 4-30°C (39-86°F).
    • The startup intake air temperature (IAT) is between 4-30°C (39-86°F).
    • The fuel tank level is between 30-85 percent.
    • The barometric pressure (BARO) is more than 75 kPa.
    • The vehicle speed sensor (VSS) is less than 121 km/h (75 mph).

Conditions for Setting the DTC

    • The fuel tank pressure is less than -10 inch H2O.
    • The condition is present for as long as 30 seconds.

Action Taken When the DTC Sets

    • The control module illuminates the malfunction indicator lamp (MIL) on the second consecutive ignition cycle that the diagnostic runs and fails.
    • The control module records the operating conditions at the time the diagnostic fails. The first time the diagnostic fails, the control module stores this information in the Failure Records. If the diagnostic reports a failure on the second consecutive ignition cycle, the control module records the operating conditions at the time of the failure. The control module writes the operating conditions to the Freeze Frame and updates the Failure Records.

Conditions for Clearing the MIL/DTC

    • The control module turns OFF the malfunction indicator lamp (MIL) after 3 consecutive ignition cycles that the diagnostic runs and does not fail.
    • A current DTC, Last Test Failed, clears when the diagnostic runs and passes.
    • A history DTC clears after 40 consecutive warm-up cycles, if no failures are reported by this or any other emission related diagnostic.
    • Clear the MIL and the DTC with a scan tool.

Diagnostic Aids

The EVAP system tests run when the engine is first started and meets the Conditions for Running the DTC. An intermittent condition could be caused by a damaged EVAP vent housing, a temporary blockage at the EVAP vent valve inlet or a pinched vent hose. A blockage in the vent system will also cause a poor fuel fill problem. In order to repair a blockage in the EVAP system, refer to Evaporative Emission System Cleaning .

Test Description

The number below refers to the step number on the diagnostic table.

  1. This test determines if the fuel tank pressure sensor is functioning.

Step

Action

Values

Yes

No

1

Did you perform the Diagnostic System Check-Engine Controls?

--

Go to Step 2

Go to Powertrain On Board Diagnostic (OBD) System Check

2

Did DTC P0443, P0449, P0452 or P0453 set?

--

Go to Diagnostic Trouble Code (DTC) List/Type

Go to Step 3

3

Inspect the EVAP system for the following conditions:

    • A damaged EVAP vent valve
    • A pinched EVAP fresh air vent hose

Did you find and correct the condition?

--

Go to Step 12

Go to Step 4

4

  1. With a scan tool, capture and record the fail record data and clear the DTCs.
  2. Perform the Service Bay Test. Refer to Service Bay Test .

Does the scan tool indicate that the service bay test passed?

--

Go to Diagnostic Aids

Go to Step 5

5

  1. Disconnect the purge line from the EVAP purge valve.
  2. Turn ON the ignition, with the engine OFF.
  3. Observe the fuel tank pressure parameter with a scan tool.

Does the scan tool indicate fuel tank pressure near the specified value?

0 in H2O

Go to Step 6

Go to Step 9

6

  1. Turn OFF the ignition.
  2. Reconnect all previously disconnected hardware.
  3. Install the J 41415-40 Fuel Tank Cap Adapter.
  4. Connect the J 41413 EVAP Pressure and Purge Station and the fuel fill cap to the J 41415 Gasoline Cap and Filler Neck Kit.
  5. Turn ON the ignition, with the engine OFF.
  6. Command the EVAP canister vent valve ON with a scan tool.
  7. Important: DO NOT exceed the specified value in this step. Exceeding the specified value may produce incorrect test results.

  8. Pressurize the EVAP system to the first specified value with the J 41413 .
  9. Rotate the J 41413 rotary switch to the OFF/HOLD position.
  10. Command the EVAP canister vent valve OFF with a scan tool.

Does the scan tool indicate fuel tank pressure (FTP) near the second specified value?

5 in H2O

0 in H2O

Go to Diagnostic Aids

Go to Step 7

7

Disconnect the EVAP canister vent hose from the EVAP canister vent valve.

Does the scan tool indicate FTP within the specified range?

-0.5 to +0.5 in H2O

Go to Step 11

Go to Step 8

8

Disconnect the EVAP vapor pipe from the EVAP canister.

Does the scan tool indicate fuel tank pressure near the specified value?

0 in H2O

Go to Step 14

Go to Step 12

9

Observe the FTP sensor voltage with a scan tool.

Is the FTP sensor voltage more than the specified value?

4.3 V

Go to DTC P0453 Fuel Tank Pressure Sensor Circuit High Voltage

Go to Step 10

10

Test for poor connections at the harness connector of the FTP sensor. Refer to Testing for Intermittent Conditions and Poor Connections and Connector Repairs in Wiring Systems.

Did you find and correct the condition?

--

Go to Step 15

Go to Step 13

11

Replace the EVAP vent valve. Refer to Evaporative Emission Vent Valve Replacement .

Did you complete the replacement?

--

Go to Step 15

--

12

Replace the EVAP canister. Refer to Evaporative Emission Canister Replacement .

Did you complete the replacement?

--

Go to Step 15

--

13

Replace the fuel tank pressure sensor. Refer to Fuel Tank Pressure Sensor Replacement .

Did you complete the replacement?

--

Go to Step 15

--

14

Repair the blockage in the EVAP vent hose.

Did you complete the repair?

--

Go to Step 15

--

15

  1. With a scan tool, capture and record the fail record data and clear the DTCs.
  2. Perform the Service Bay Test. Refer to Service Bay Test .

Does the scan tool indicate that the service bay test passed?

5 in H2O

Go to Step 16

Go to Step 5

16

With a scan tool, observe the stored information, Capture Info.

Does the scan tool display any DTCs that you have not diagnosed?

--

Go to Diagnostic Trouble Code (DTC) List/Type

System OK