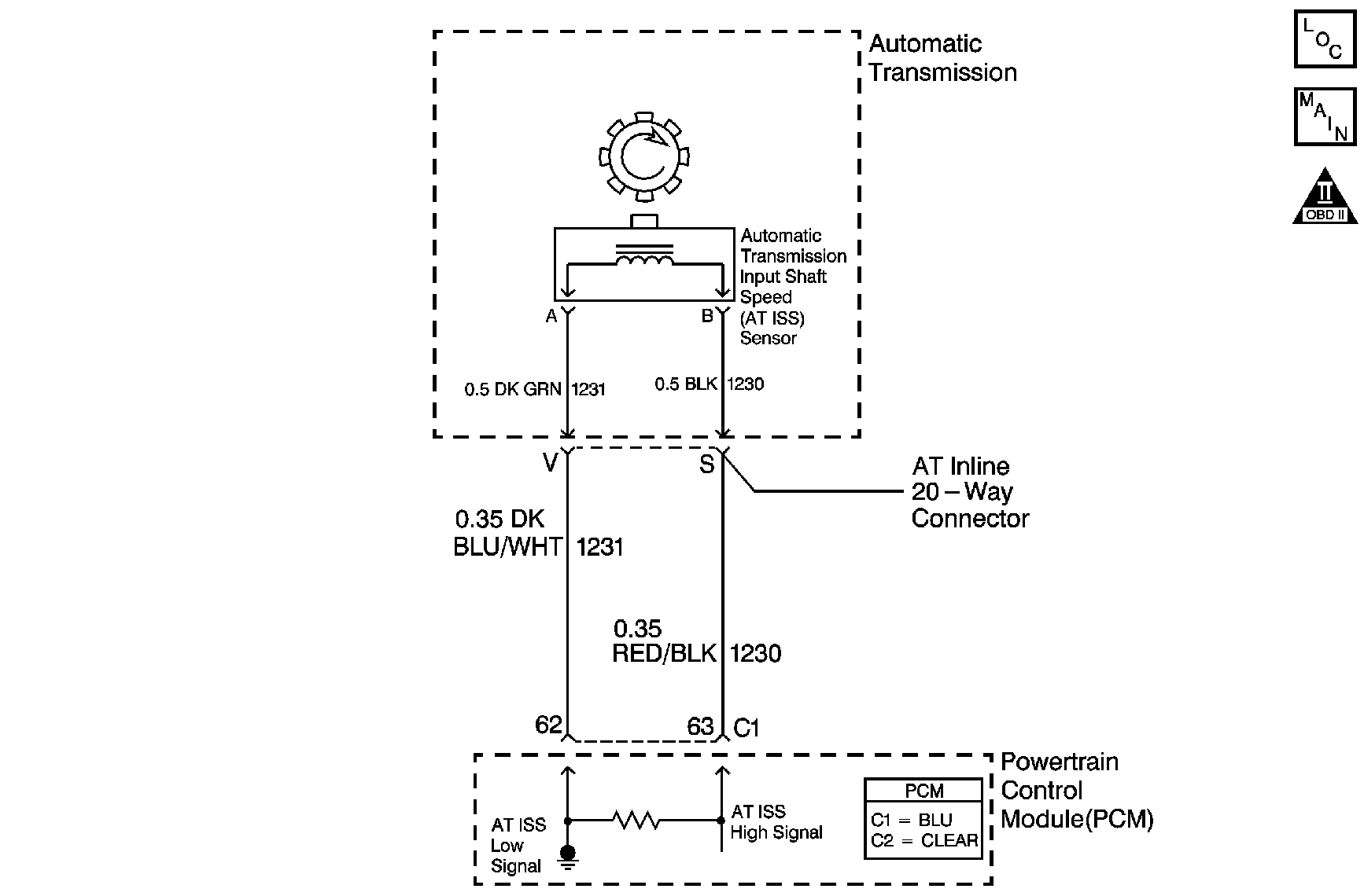
The automatic transmission input shaft speed (AT ISS) sensor is a permanent magnet with a coil of wire wound around it. The AT ISS sensor mounts in the case cover facing the reluctor wheel of the input shaft. As the reluctor wheel is driven by the turbine shaft, an AC signal is induced in the input speed sensor. Higher vehicle speeds induce a higher frequency and voltage at the sensor.
There is a fixed air gap between the sensor and the teeth on the sensor reluctor wheel. The AT ISS sensor input is used by the PCM in order to control line pressure, TCC apply and release and transmission shift patterns. This sensor is also used to calculate the gear ratios and TCC slippage.
If the PCM detects a low input speed while the vehicle and engine speeds are high, then DTC P0717 sets. DTC P0717 is a type B DTC.
| • | No VSS DTC P0502 or P0503. |
| • | The engine speed is greater than 500 RPM for 5 seconds and not in fuel shut off. |
| • | The vehicle speed is 8 km/h (5 mph) or greater. |
| • | The engine torque is greater than 68 N·m (50 lb ft). |
The input shaft speed is less than 100 RPM for 5 seconds.
| • | The PCM illuminates the malfunction indicator lamp (MIL) during the second consecutive trip in which the Conditions for Setting the DTC are met. |
| • | The PCM inhibits TCC. |
| • | The PCM freezes transmission adaptive functions. |
| • | The PCM inhibits 4th gear if the transmission is in Hot Mode. |
| • | The PCM records the operating conditions when the Conditions for Setting the DTC are met. The PCM stores this information as Freeze Frame and Failure Records. |
| • | The PCM stores DTC P0717 in PCM history during the second consecutive trip in which the Conditions for Setting the DTC are met. |
| • | The PCM turns OFF the MIL during the third consecutive trip in which the diagnostic test runs and passes. |
| • | A scan tool can clear the MIL/DTC. |
| • | The PCM clears the DTC from PCM history if the vehicle completes 40 warm-up cycles without an emission-related diagnostic fault occurring. |
| • | The PCM cancels the DTC default actions when the ignition switch is OFF long enough in order to power down the PCM. |
Ensure the wiring harness is not stretched too tightly or other components are pressing on the A/T inline 20-way connector body. Also inspect for proper clearance to any other components and wiring. Refer to Intermittent Conditions in Engine Controls - 3.4L.
The numbers below refer to the step numbers on the diagnostic table.
A Yes answer indicates that the transmission side of the circuit is functioning properly.
Although the resistance is within specification in Step 3, there may be a short to ground or a short to voltage condition.
This step begins the transmission harness diagnosis.
Step | Action | Value(s) | Yes | No |
|---|---|---|---|---|
1 | Did you perform the Diagnostic System Check-Engine Controls? | -- | Go to Step 2 | Go to Diagnostic System Check - Engine Controls in Engine Controls - 3.4L |
2 |
Important: Before clearing the DTCs, use the scan tool in order to record the Freeze Frame and Failure Records for reference. Using the Clear DTC Information function will erase the stored Freeze Frame and Failure Records from the PCM. Does the scan tool display a transmission input shaft speed greater than the specified value? | 100 RPM | Go to Intermittent Conditions in Engine Controls - 3.4L | Go to Step 3 |
Refer to Automatic Transmission Inline 20-Way Connector End View . Is the resistance within the specified value? | 820-1428 ohms | Go to Step 4 | Go to Step 8 | |
Refer to Circuit Testing in Wiring Systems. Did you find the condition? | -- | Go to Step 10 | Go to Step 5 | |
5 | Test the high signal circuit of the AT ISS for an open, a short to ground or a short to the low signal circuit between the PCM and the AT inline 20-way connector. Refer to Circuit Testing and Wiring Repairs in Wiring Systems. Did you find and correct the condition? | -- | Go to Step 13 | Go to Step 6 |
6 |
Refer to Testing for a Short to Voltage and Wiring Repairs in Wiring Systems. Did you find and correct the condition? | -- | Go to Step 13 | Go to Step 7 |
7 | Test the low signal circuit of the AT ISS for an open between the PCM and the AT inline 20-way connector. Refer to Testing for Continuity and Wiring Repairs in Wiring Systems. Did you find and correct the condition? | -- | Go to Step 13 | Go to Step 12 |
Test the high signal circuit of the AT ISS for an open or a short to the low signal circuit of the AT ISS between the AT inline 20-way connector and the sensor. Refer to Circuit Testing in Wiring Systems. Did you find the condition? | -- | Go to Step 10 | Go to Step 9 | |
9 | Test the low signal circuit of the AT ISS for an open between the AT inline 20-way connector and the sensor. Refer to Testing for Continuity in Wiring Systems. Did you find the condition? | -- | Go to Step 10 | Go to Step 11 |
10 | Replace the automatic transmission wiring harness assembly. Refer to Wiring Harness Replacement . Did you complete the replacement? | -- | Go to Step 13 | -- |
11 | Replace the automatic transmission input shaft speed sensor. Refer to Input Speed Sensor Replacement . Did you complete the replacement? | -- | Go to Step 13 | -- |
12 | Replace the PCM. Refer to Powertrain Control Module Replacement in Engine Controls - 3.4L Did you complete the replacement? | -- | Go to Step 13 | -- |
13 | Perform the following procedure in order to verify the repair:
Has the test run and passed? | -- | Go to Step 14 | Go to Step 2 |
14 | With a scan tool, observe the stored information, capture info and DTC info. Does the scan tool display any DTCs that you have not diagnosed? | -- | Go to Diagnostic Trouble Code (DTC) List in Engine Controls - 3.4L | System OK |