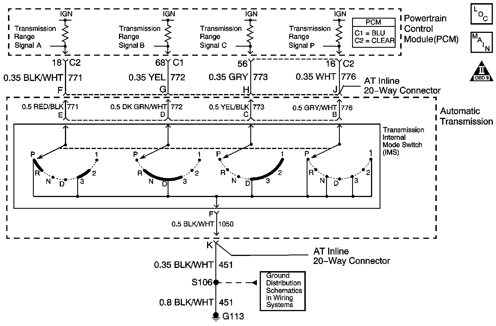
The transmission internal mode switch (IS) is a sliding contact switch attached to the selector detent inside the transmission side cover. The four inputs to the PCM indicate the position of the transmission range selector. The input voltage level at the PCM is high, B+, when the IMS is open and low when the switch is closed to ground. The four input parameters represented are Signals A, B, C and P - Parity. Refer to Transmission Internal Mode Switch Logic .
If the PCM detects a combination of IMS signals that are invalid, or a transitional state between gear selector positions, while attempting to start the vehicle, then DTC P1819 sets. DTC P1819 is a type C DTC.
| • | The system voltage is 8-18 volts. |
| • | The ignition switch is in the START position. |
The PCM detects a combination of IMS signals that are invalid or indicate a transitional state between gear selector positions for 0.5 seconds.
| • | The PCM does not illuminate the malfunction indicator lamp (MIL). |
| • | The PCM records the operating conditions when the Conditions for Setting the DTC are met. The PCM stores this information as Failure Records. |
| • | The PCM stores DTC P1819 in PCM history. |
| • | A scan tool can clear the DTC. |
| • | The PCM clears the DTC from PCM history if the vehicle completes 40 warm-up cycles without a non-emission-related diagnostic fault occurring. |
| • | The PCM cancels the DTC default actions when the ignition switch is OFF long enough in order to power down the PCM. |
The numbers below refer to the step numbers on the diagnostic table.
HI values for all signals in both Park and Drive 4 indicates the ground circuit is OPEN.
With the 20-way connector disconnected, all signals should indicate #1.
If one circuit affects the other, this indicates a short between the two circuits.
This step tests the internal transmission harness. If no fault is found in the harness, the fault will be in the switch.
Step | Action | Value(s) | Yes | No |
|---|---|---|---|---|
1 | Did you perform the Diagnostic System Check-Engine Controls? | -- | Go to Step 2 | Go to Diagnostic System Check - Engine Controls in Engine Controls - 3.4L |
2 |
Important: Before clearing the DTC, use the scan tool in order to record the Failure Records. Using the Clear DTC Information function erases the Failure Records from the PCM. Does each range selected match the scan tool IMS display? | -- | Go to Intermittent Conditions in Engine Controls - 3.4L | Go to Step 3 |
Does the IMS A/B/C/P parameter indicate the specified value for each range? | HI/HI/HI/HI | Go to Step 14 | Go to Step 4 | |
4 |
Refer to Range Selector Lever Cable Adjustment . Did the linkage require adjustment? | -- | Go to Step 19 | Go to Step 5 |
Do the scan tool IMS A/B/C/P signals all indicate HI? | -- | Go to Step 6 | Go to Step 10 | |
6 |
Refer to Automatic Transmission Inline 20-Way Connector End View . Does the voltage measure ignition voltage at all four terminals? | -- | Go to Step 7 | Go to Step 11 |
Connect a fused jumper wire from terminal F of the J 44152 (signal circuit A) to ground while monitoring the scan tool IMS A/B/C/P parameter. Refer to Automatic Transmission Inline 20-Way Connector End View . When signal circuit A is grounded, do any other signal circuits indicate LOW? | -- | Go to Step 12 | Go to Step 8 | |
8 | Connect a fused jumper wire from terminal G of the J 44152 (signal circuit B) to ground while monitoring the scan tool IMS A/B/C/P parameter. Refer to Automatic Transmission Inline 20-Way Connector End View . When signal circuit B is grounded, do any other signal circuits indicate LOW? | -- | Go to Step 12 | Go to Step 9 |
9 | Connect a fused jumper wire from terminal H of the J 44152 (signal circuit C) to ground while monitoring the scan tool IMS A/B/C/P parameter. Refer to Automatic Transmission Inline 20-Way Connector End View . When signal circuit C is grounded, do any other signal circuits indicate LOW? | -- | Go to Step 12 | Go to Step 13 |
10 | Test the signal circuits of the IMS that did not indicate HI for a short to ground between the PCM and the AT Inline 20-way connector. Refer to Testing for Short to Ground and Wiring Repairs in Wiring Systems. Did you find and correct the condition? | -- | Go to Step 19 | Go to Step 18 |
11 | Test the signal circuits of the IMS that did not indicate ignition voltage for an open between the PCM and the AT Inline 20-way connector. Refer to Testing for Continuity and Wiring Repairs in Wiring Systems. Did you find and correct the condition? | -- | Go to Step 19 | Go to Step 18 |
12 | Test the affected signal circuits of the IMS for a shorted together condition between the PCM and the AT Inline 20-way connector. Refer to Circuit Testing and Wiring Repairs in Wiring Systems. Did you find and correct the condition? | -- | Go to Step 19 | Go to Step 18 |
Test the signal circuits of the IMS for an open or shorted condition between the AT Inline 20-way connector and the IMS. Refer to Circuit Testing in Wiring Systems. Did you find the condition? | -- | Go to Step 16 | Go to Step 17 | |
14 | Test the ground circuit of the IMS for an open between the AT Inline 20-way connector and the chassis. Refer to Testing for Continuity and Wiring Repairs in Wiring Systems. Did you find and correct the condition? | -- | Go to Step 19 | Go to Step 15 |
15 | Test the ground circuit of the IMS for an open between the AT Inline 20-way connector and the IMS. Refer to Testing for Continuity in Wiring Systems. Did you find the condition? | -- | Go to Step 16 | Go to Step 17 |
16 | Replace the automatic transmission wiring harness assembly. Refer to Wiring Harness Replacement . Did you complete the replacement? | -- | Go to Step 19 | -- |
17 | Replace the lever assembly-manual shaft detent with internal mode switch. Refer to Manual Shift Detent Lever with Shaft Position Switch Assembly Removal in Transmission Unit Repair Manual. Did you complete the replacement? | -- | Go to Step 19 | -- |
18 | Replace the PCM. Refer to Powertrain Control Module Replacement in Engine Controls - 3.4L Did you complete the replacement? | -- | Go to Step 19 | -- |
19 | Perform the following procedure in order to verify the repair:
Has the test run and passed? | -- | Go to Step 20 | Go to Step 2 |
20 | With a scan tool, observe the stored information, capture info and DTC info. Does the scan tool display any DTCs that you have not diagnosed? | -- | Go to Diagnostic Trouble Code (DTC) List in Engine Controls - 3.4L | System OK |