GM Service Manual Online
For 1990-2009 cars only

Radiator Filler Cap


Object Number: 11660  Size: SH

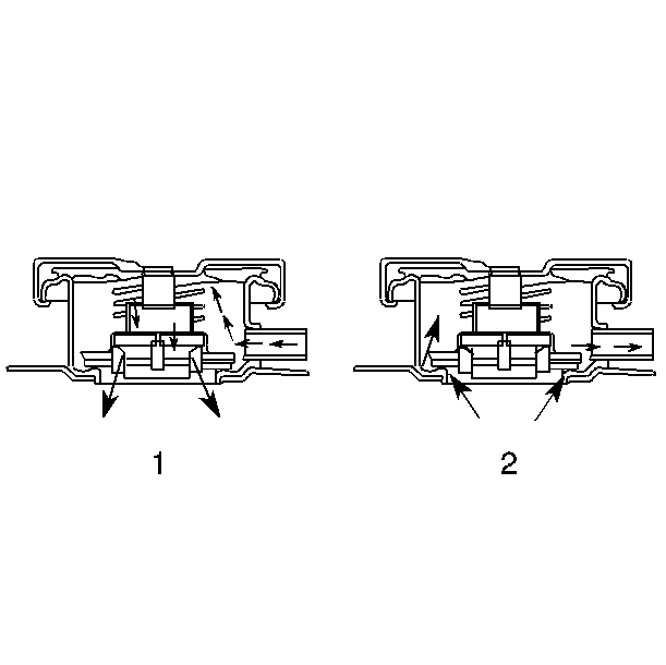
The crossflow radiator uses a pressure-vent filler cap to allow a buildup of 103 kPa (15 psi) in the cooling system. The cap allows the system to operate at a higher than atmospheric pressure. This pressure raises the boiling point of the coolant to about 129°C (265°F) at sea level, which increases the cooling efficiency of the radiator.

The pressure-type cap contains a blowoff (pressure) valve (2) and a vacuum (atmospheric) valve (1). A spring of pre-determined strength holds the pressure valve against the valve's seat. This spring protects the radiator by relieving any pressure that exceeds design limits. A spring holds the vacuum valve against the valve's seat which permits opening of the valve in order to relieve vacuum created in the system when the system cools. This prevents radiator collapse.

Caution: Do not remove the radiator cap while the cooling system is hot. Serious personal injury may result. Only remove the radiator cap from a cool engine.

Caution: As long as there is pressure in the cooling system, the temperature can be considerably higher than the boiling temperature of the solution in the radiator without causing the solution to boil. Removal of the pressure cap while the engine is hot and pressure is high will cause the solution to boil instantaneously -- possibly with explosive force -- spewing the solution over the engine, fenders and the person removing the cap.

The radiator cap is designed to discourage unintentional removal. Safely remove the cap in the following way:

  1. Slowly rotate the cap counterclockwise, do not press down, to the detent.
  2. Allow any residual pressure, indicated by a hissing sound, to be relieved.
  3. After the hissing stops, continue to rotate the cap counterclockwise until the cap is removed.

The following is embossed on the cap:

    • A caution regarding opening of the cap
    • Arrows that indicate the proper closed position