GM Service Manual Online
For 1990-2009 cars only

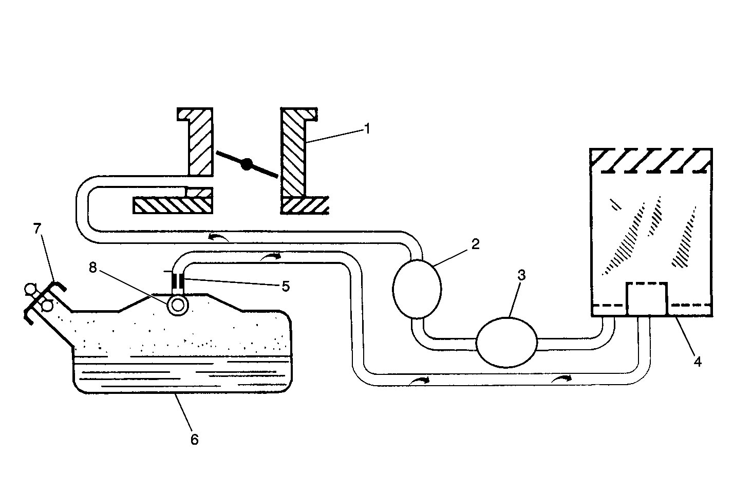
Purpose

The basic Evaporative Emission (EVAP) Control system used on all vehicles is the charcoal canister storage method. This method transfers fuel vapor from the fuel tank to an activated carbon (charcoal) storage device (canister) to hold the vapors when the vehicle is not operating. When the engine is running, the fuel vapor is purged from the carbon element by intake air flow and consumed in the normal combustion process.

Operation


Object Number: 16233  Size: SF

The EVAP purge solenoid valve allows manifold vacuum to purge the canister. The Powertrain Control Module (PCM) supplies a ground to energize the EVAP purge solenoid valve (purge On). The EVAP purge solenoid control is Pulse Width Modulated (PWM) or turned On and Off several times a second. The PCM controlled PWM output is commanded when the appropriate conditions have been met:

    •  Engine coolant temperature above 25°C (77°F).
    •  After the engine has been running about 2 1/2 minutes on a cold start or 30 seconds on a warm start.
    •  The vehicle is operating in closed loop fuel control.

Canister purge PWM duty cycle varies according to operating conditions determined by mass air flow, fuel trim, and. intake air temperature. Canister purge will be disabled if TP angle increases to above 70%. Canister purge will be re-enabled when TP angle decreases below 66%.

The EVAP purge vacuum switch is a normally closed switch positioned in the purge line between the canister and the EVAP purge solenoid. The EVAP Vacuum Switch will open when vacuum increases to greater than 5 inches of water in the purge line. The EVAP Vacuum Switch is used by the PCM to monitor EVAP Purge solenoid operation and purge system integrity. The EVAP Vacuum Switch should be closed to ground with no vacuum present (0% EVAP Purge PWM). With EVAP Purge PWM at 25% or greater, the EVAP Vacuum Switch should open.

Results of Incorrect Purge Operation

Poor idle, stalling and poor driveability can be caused by:

    •  Malfunctioning purge solenoid.
    •  Damaged canister.
    •  Hoses split, cracked and/or not connected properly.

Visual Check of Evaporative Emission Canister

Inspect the Evaporative Emission Canister for the following condition(s):

    •  Cracked or damaged -- Replace the canister.
    •  Fuel leaking from the canister -- Replace the canister and check routing and condition of emission hoses.

Canister Purge Solenoid and EVAP Vacuum Switch

An incorrect EVAP purge system flow should set a DTC P0441.

A continuous purge condition with no purge commanded by the PCM should set a DTC P1441.

A fault in the EVAP vacuum switch circuit should set a DTC P1442. Refer to the DTC charts for further information.