|
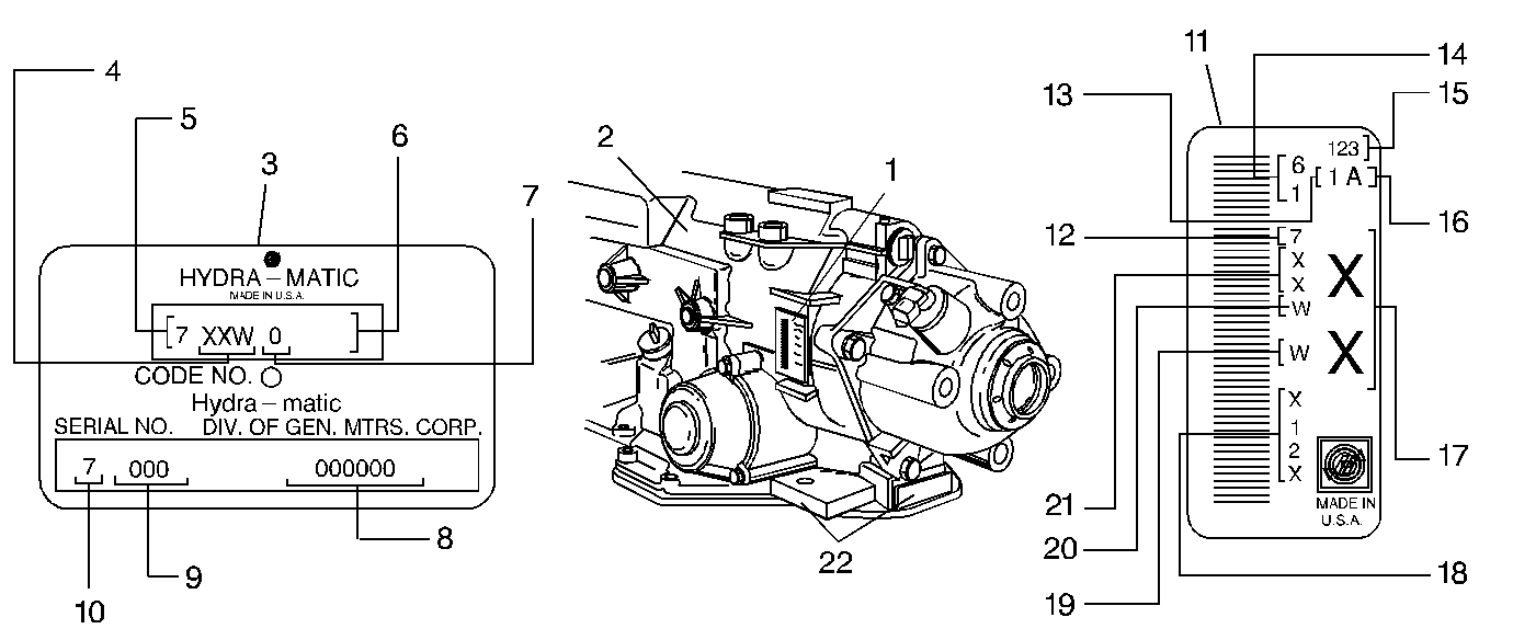
| (1) | Transmission ID Location |
| (2) | SRTA Tag Location |
| (3) | Hydra-Matic
4T60-E SRTA Tag |
| (4) | Model |
| (5) | Model Year (7 = 1997) |
| (6) | Control Number |
| (7) | Transmission |
| (8) | Serial Number |
| (9) | Julian Date |
| (10) | Calendar Year (7 = 1997) |
| (11) | Hydra-Matic 4T60-E ID Tag |
| (12) | Model Year (7 = 1997) |
| (13) | Line Built (1 = Line 1; 2 = Line
2; 3 = Line 3; 4 = Line 4) |
| (14) | Transmission |
| (15) | Julian Date |
| (16) | Shift Built (A = First Shift; B
= Second Shift; C = Third Shift) |
| (17) | Model |
| (18) | Serial Number in Base Code 31 |
| (19) | W = Warren Plant |
| (20) | Hydra-Matic 4T60-E |
| (21) | Model |
| (22) | Transmission Vehicle Identification
Number Location |