GM Service Manual Online
For 1990-2009 cars only

    Object Number: 12975  Size: SH
  1. Insert the 2-3 accumulator valve bushing (345) into the valve body.
  2. Insert the 2-3 accumulator valve (343) and the spring (344) into the valve body.
  3. Install the bushing retainer (385).
  4. Insert the 1-2 accumulator valve (341) and the spring (340) into the 1-2 accumulator bushing (342).
  5. Insert the 1-2 accumulator bushing plug (339) and the plug retainer (338) into the 1-2 accumulator bushing (342).
  6. Insert the 1-2 accumulator valve assembly into the valve body.
  7. Install the 1-2 accumulator bushing retainer (385).

  8. Object Number: 12973  Size: SH
  9. Insert the 3-4 accumulator valve bushing (352) into the valve body.
  10. Insert the 3-4 accumulator valve (350) and the spring (351) into the valve body.
  11. Install the bushing retainer (385).
  12. Install the 1-2 accumulator valve (347) and the spring (348) into the 1-2 accumulator bushing (349).
  13. Insert the 1-2 accumulator bushing plug (346) and the plug retainer (338) into the 1-2 accumulator bushing (349).
  14. Insert the 1-2 accumulator valve assembly into the valve body.
  15. Install the 1-2 accumulator bushing retainer (385).

  16. Object Number: 12972  Size: SH
  17. Install the 2-3 shift valve (357) into the valve body.
  18. Assemble the 3-2 manual downshift valve (356) and the spring (355).
  19. Insert the bore plug (354) into the valve body.
  20. Install the bore plug retainer (353).

  21. Object Number: 12969  Size: SH
  22. Install the 3-4 shift valve (362) into the valve body.
  23. Assemble the 4-3 manual downshift valve (360) and the spring (361).
  24. Insert the bore plug (359) into the valve body.
  25. Install the bore plug retainer (358).

  26. Object Number: 12968  Size: SH
  27. Insert a new seal (316) onto the 2-3 shift solenoid valve (315).
  28. Install the 2-3 shift solenoid valve (315) into the valve body.
  29. Install the solenoid valve retainer (314).

  30. Object Number: 12967  Size: SH
  31. Assemble the reverse boost valve (367) and the spring (365).
  32. Install the boost valve bore plug (364).
  33. Install the coiled spring pin (363).
  34. Assemble the forward servo boost valve (367) and the valve spring (366).
  35. Install the forward boost valve retainer pin (363).

  36. Object Number: 12966  Size: SH
  37. Install the reverse boost valve (310), the springs (311, 312), and the pressure regulator valve (313) into the valve body.
  38. Assemble the reverse boost valve bushing (309) and the retainer (308).
  39. Insert the reverse boost spring (307) into the valve body.
  40. Insert the pressure regulator retainer (306).
  41. Install the spring (305), the line boost valve (304), and the bore plug (303) into the valve body.
  42. Install the line boost valve retainer (302).

  43. Object Number: 12963  Size: SH
  44. Install the valve spring (317) and the 1-2 shift valve (318) into the 1-2 shift valve body.
  45. Insert the seal (316) onto the 1-2 shift solenoid valve (315).
  46. Insert the shift solenoid valve (315) into the valve body.
  47. Install the shift solenoid valve retainer (314).

  48. Object Number: 12962  Size: SH
  49. Insert the valve spring (323), the valve seat (322), and the valve (321) into the oil pump pressure relief valve body.
  50. Insert the pressure relief bushing (320) into the valve body.
  51. Install the bushing retaining pin (319)

  52. Object Number: 12960  Size: SH
  53. Affix new seals (326, 327) onto the PWM solenoid valve assembly (325).
  54. Insert the solenoid valve (325) into the valve body.
  55. Install the retainer (324) into the PWM solenoid valve assembly.

  56. Object Number: 12958  Size: SH
  57. Insert the isolator spring (333) and the valve (334) into the valve body.
  58. Insert the torque converter clutch (TCC) regulator valve (332) and the spring (331) into the valve sleeve (384).
  59. Insert the valve sleeve assembly into the valve body.
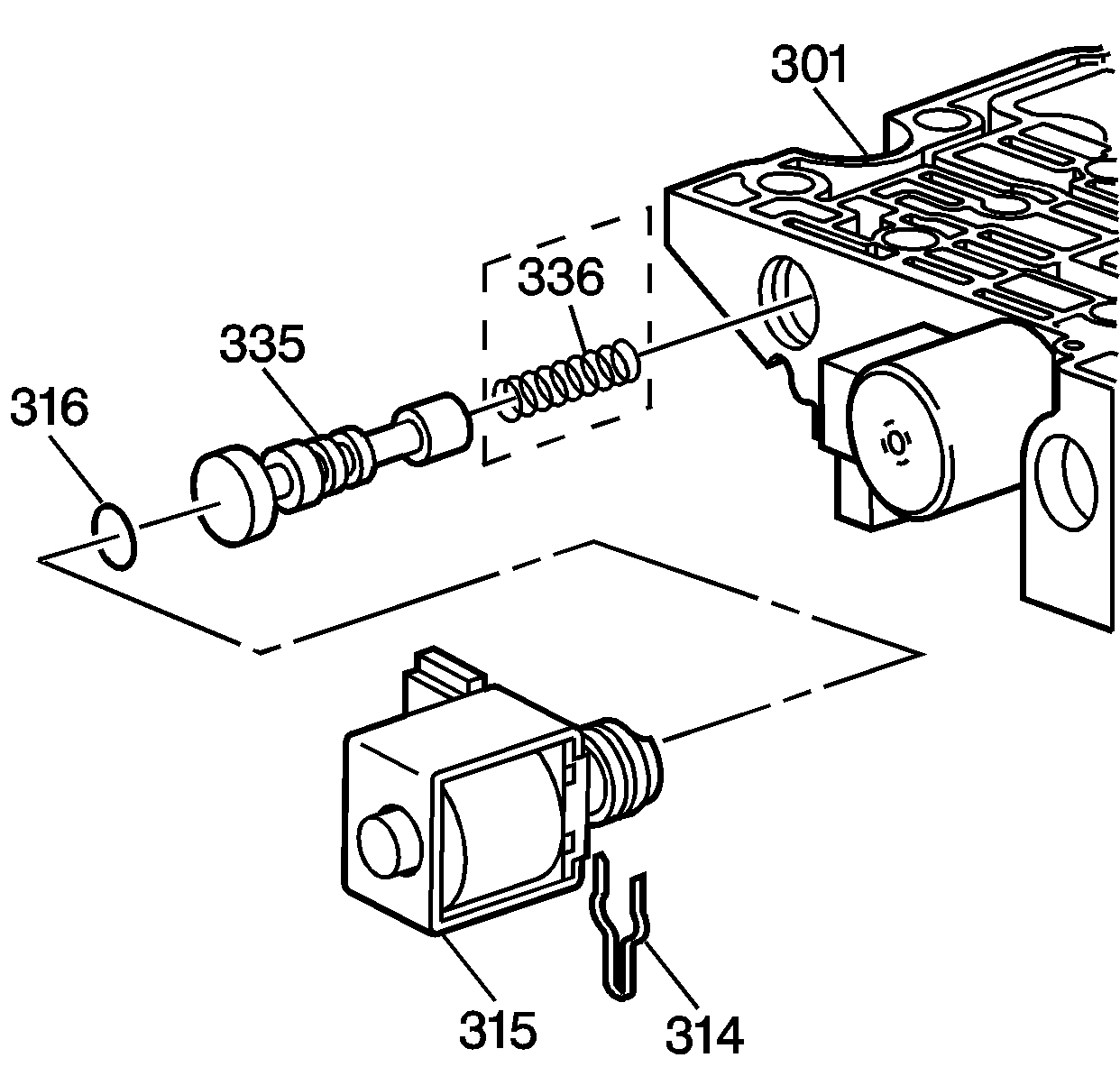
  60. Insert the TCC regulator valve retainer (383).

  61. Object Number: 689969  Size: SH
  62. Insert the TCC valve spring (336) some models, and the valve (335) into the valve body.
  63. Install a new seal (316) onto the TCC solenoid valve (315).
  64. Insert the solenoid valve (315) into the valve body.
  65. Install the solenoid valve retainer (314).