GM Service Manual Online
For 1990-2009 cars only

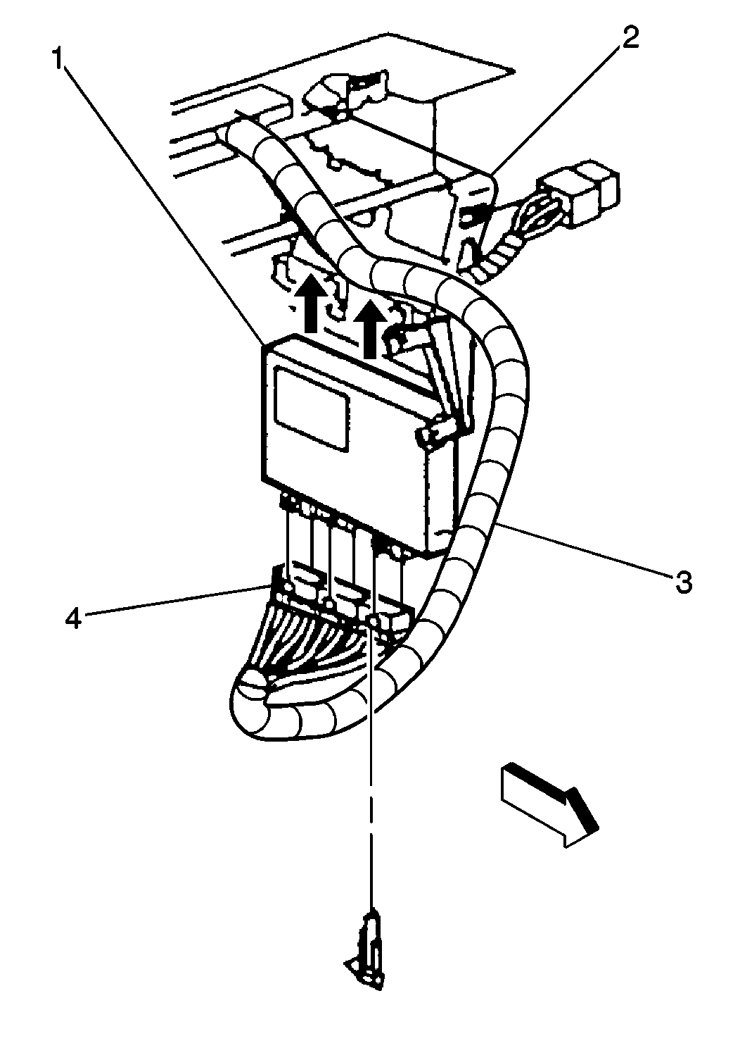
Removal Procedure


    Object Number: 183877  Size: MH
  1. Remove the knee bolster panel. Refer toKnee Bolster Replacement in Instrument Panel, Gages and Console.
  2. Remove the EBCM/EBTCM electrical connectors (4).
  3. Use pressure tabs in order to release the EBCM/EBTCM (1) from the EBCM/EBTCM bracket (2).

Installation Procedure


    Object Number: 183877  Size: MH
  1. Slide the EBCM/EBTCM (1) into the EBCM/EBTCM bracket (2) until pressure tabs secure the EBCM/EBTCM.
  2. Install the EBCM/EBTCM electrical connectors (4).
  3. Install the knee bolster panel. Refer to Knee Bolster Replacement in Instrument Panel, Gages and Console.