GM Service Manual Online
For 1990-2009 cars only
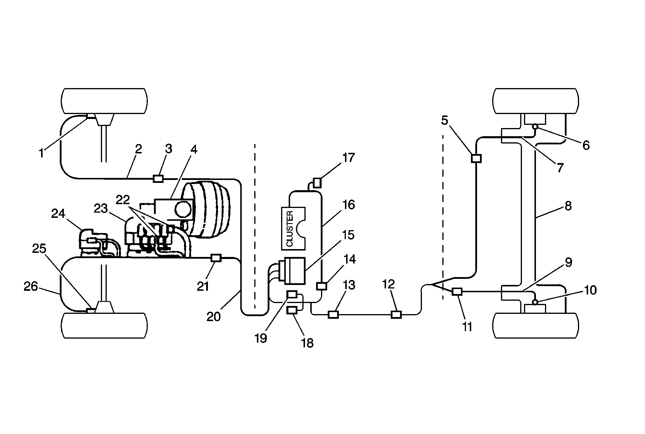
Figure 1:

Component Location View


Object Number: 155169  Size: MF
(1)Right Front Wheel Speed Sensor
(2)Right Front Wheel Speed Sensor Jumper Harness
(3)ABS Harness to Right Front Wheel Speed Sensor Jumper Harness
(4)Master Cylinder
(5)Rear ABS to Right Rear Wheel Speed Sensor Jumper Harness
(6)Right Rear Wheel Speed Sensor
(7)Right Rear Wheel Speed Sensor Jumper Harness
(8)Rear Axle
(9) Left Rear Wheel Speed Sensor Jumper Harness
(10)Left Rear Wheel Speed Sensor
(11)Rear ABS to Left Rear Wheel Speed Sensor Jumper Harness
(12)Rear ABS to Body Harness Connector
(13)Left Rear Body Pass Through Connector
(14)ABS To I/P Harness Connector
(15)Electronic Brake Control Module/ Electronic Brake Traction Control Module (EBCM/EBTCM)
(16)I/P Harness
(17)TCS Switch
(18)Electronic Brake Control Relay
(19)Malfunction Indicator Lamp Traction Control Module
(20)ABS Harness
(21)ABS To Left Front Wheel Speed Sensor Jumper Harness Connector
(22)Brake Solenoid Valves
(23)Brake Modulator (ABS)
(24)TCS Modulator
(25)Left Front Wheel Speed Sensor
(26)Left Front Wheel Speed Sensor Jumper Harness
Figure 2:

Park Brake


Object Number: 447178  Size: LF
(1)Park Brake Assembly
(2)Park Brake Indicator Switch
(3)I/P Harness
Figure 3:

Brake Pedal Assembly


Object Number: 447157  Size: LF
(1)Cruise Control Release Switch
(2)I/P Harness
(3)Stoplamp Switch Connector C2 (BTSI/TCC)
(4)Stoplamp Switch Connector C1
(5)Stoplamp Switch
(6)Brake Pedal Assembly
Figure 4:

LH Side of IP, Left of Steering Column


Object Number: 447135  Size: LF
(1)HVAC
(2)LH Side of I/P Cross car Beam
(3)Electronic Brake Control Relay
(4)Malfunction Indicator Lamp Traction Control Module
(5)I/P Harness
(6)Electronic Brake Control Module (EBCM), without NW9
(7)Ground G201
(8)Electronic Brake Traction Control Module (EBCM), with NW9
Figure 5:

Underneath Rear of Vehicle


Object Number: 447324  Size: LF
(1)In-line Connector C309, Electronic Brake Control Harness to LR Wheel Speed Sensor Harness
(2)Electronic Brake Control Harness
(3)In-line Connector C306, Electronic Brake Control Harness to RR Wheel Speed Sensor Harness
Figure 6:

RF Wheel (LF Wheel Speed Sensor Similar)


Object Number: 447321  Size: LF
(1)RF Wheel
(2)I/P Harness
(3)In-line Connector C172
(4)RF Wheel Speed Sensor Harness
(5)RF Wheel Speed Sensor Harness Connector to RF Wheel Speed Sensor (pigtail) (LF Similar)
Figure 7:

LH Side of Engine Compartment


Object Number: 447124  Size: LF
(1)RF Brake Solenoid Valve
(2)LF Brake Solenoid Valve
(3)Pass Through P101
(4)I/P Harness
(5)Traction Control Motor Pack
(6)Cruise Control Module
(7)In-line Connector C171, I/P Harness to LF Wheel Speed Sensor Harness
(8)In-line Connector C103, I/P Harness to Engine Harness
(9)In-line Connector C181, I/P Harness to Engine Harness
(10)In-line Connector C101, I/P Harness to Engine Harness
(11)Engine Harness
(12)Brake Motor
(13)Brake Modulator
(14)Brake Fluid Level Indicator Switch