GM Service Manual Online
For 1990-2009 cars only
Figure 1:

Fuse Block


Object Number: 416781  Size: LF
(1)Right Rear FOG LP Fuse
Figure 2:

Roof Rear Overhead Console (U42)


Object Number: 416782  Size: LF
(1)Rear Seat Heater-A/C Control
(2)Auxiliary Video Module (AVM)
(3)Video Screen
(4)Second Seat Audio (SSA) Control
(5)Rear Seat Audio (RSA) Control
Figure 3:

Auxiliary Video Module (AVM)


Object Number: 416780  Size: LF
(1)Auxiliary Video Module (AVM)
(2)AVM Connector C2 (6 Cavities) (GRY) -- Pigtail (Male)
(3)AVM Connector C2 (6 Cavities) (GRY) (Female) -- To Video Screen
(4)AVM Connector C4 (8 Cavities) (BLU) Pigtail (Male)
(5)AVM Connector C4 (8 Cavities) (BLU) (Female) -- To Interface Module
(6)AVM Connector C1 (10 Cavities) (NAT) (Male) -- To VCP Harness
(7)AVM Connector C1 (10 Cavities) (NAT) Pigtail (Female)
(8)AVM Connector C3 (4 Cavities) (BLK) (Female) -- to Interface Module
(9)AVM Connector C3 (4 Cavities) (BLK) Pigtail (Male)
Figure 4:

Video Screen -- Liquid Crystal Display (LCD)


Object Number: 416758  Size: LF
(1)Video Screen
(2)Video Screen Wiring Connector to the Auxiliary Video Module (AVM) Connector C2
Figure 5:

Interface Module


Object Number: 416775  Size: LF
(1)Interface Module (IM) Connector
(2)Interface Module (IM)
(3)Video Screen
(4)Auxiliary Video Module (AVM) Connector C1 (NAT) -- Video Screen
(5)C328 (8 Cavities)
(6)C326 (4 Cavities)
(7)Rear Seat Heater-A/C Control Connector
Figure 6:

Interface Module (IM)


Object Number: 416779  Size: LF
(1)C326 (4 Cavities) (BLK) (Male) -- To TSA
(2)Interface Module (IM)
(3)C328 (8 Cavities) (BLK) (Female) -- To TSA
(4)Interface Module (IM) Wiring Connector -- Roof Harness
(5)To Auxiliary Video Module (AVM) Connector C3 (BLK) (Female)
(6)To Auxiliary Video Module (AVM) Connector C4 (BLU) (Female)
(7)To Second Seat Audio (SSA) Control (12 Cavities) (BLK) (Female)
(8)To Rear Seat Audio (RSA) Control (16 Cavities) (GRN) (Female)
Figure 7:

Tape Retract Module (TRM) and Video Entertainment System (VES) Relay


Object Number: 416768  Size: LF
(1)Data Link Connector (DLC)
(2)Video Entertainment System (VES) Relay (if equipped)
(3)S292
(4)Tape Retract Module (TRM)
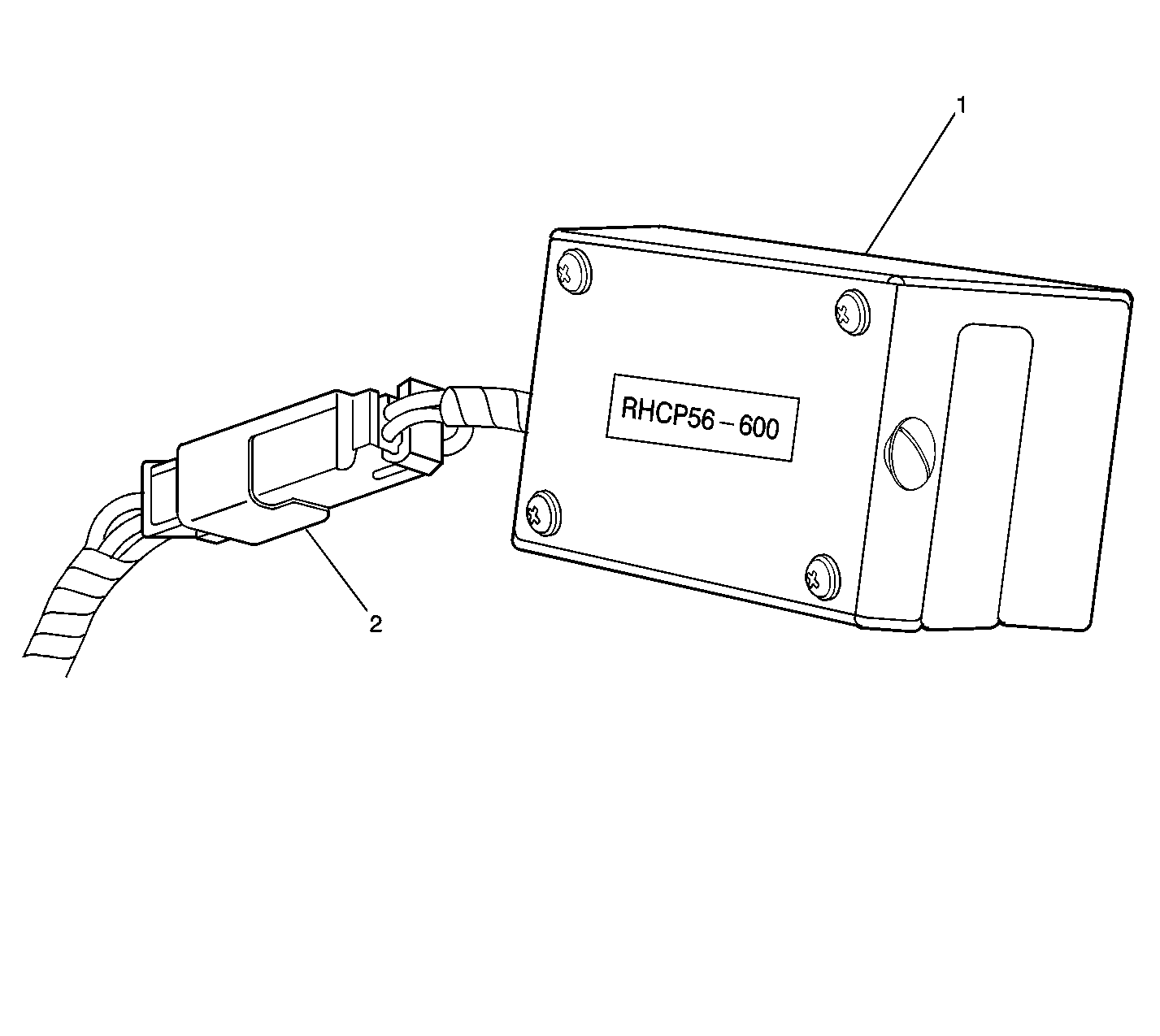
Figure 8:

Tape Retract Module (TRM)


Object Number: 416771  Size: MF
(1)Tape Retract Module (TRM)
(2)Tape Retract Module (TRM) Pigtail Connector (VCP Harness)
Figure 9:

Video Entertainment System (VES) Relay and Splices


Object Number: 416766  Size: LF
(1)Video Entertainment System (VES) Relay (if equipped)
(2)S290
(3)S291
Figure 10:

Video Cassette Player (VCP), Video Entertainment System (VES) Relay, and G210


Object Number: 416756  Size: LF
(1)G210
(2)Video Cassette Player (VCP)
(3)Video Entertainment System (VES) Relay (if equipped)
(4)Noise Suppression Ring (if equipped)
Figure 11:

Video Cassette Player (VCP)


Object Number: 416762  Size: LF
(1)Video Cassette Player (VCP) Connector C4 (YEL) -- Video Out
(2)Video Cassette Player (VCP) Connector C2 (BLK) -- Left Audio Out
(3)Video Cassette Player (VCP)
(4)Video Cassette Player (VCP) Connector C1 (BLK) -- Power Input
(5)Video Cassette Player (VCP) Connector C3 (RED) -- Right Audio Out
(6)Video Cassette Player (VCP) Fuse
Figure 12:

Third Seat Audio (TSA)


Object Number: 416763  Size: LF
(1)Third Seat Audio (TSA) Control
(2)Right Quarter Panel Interior Trim
Figure 13:

Radio


Object Number: 521341  Size: LF
(1)Radio Receiver
(2)Antenna Coaxial Cable
(3)Remote CD Player Harness Connector
(4)Radio Harness Connector
Figure 14:

Remote CD Player


Object Number: 521342  Size: LF
(1)Remote CD Player
(2)Remote CD Player Harness Connector
Figure 15:

Rear Liftgate Speaker


Object Number: 521347  Size: LF
(1)Left Rear Liftgate Speaker (right similar)
(2)Left Rear Liftgate Speaker Harness Connector